Binding ignition lock cylinder

2005 CHEVROLET EQUINOX
Avatar
VIRGILCOPELAND
  • MEMBER
  • 1 POST
Six cylinder two wheel drive automatic.

How to replace binding ignition lock cylinder?
Jul 26, 2008 at 1:54 PM
Advertisement
Avatar
STRAILER
  • CERTIFIED EXPERT
  • 53,854 POSTS
Hello,

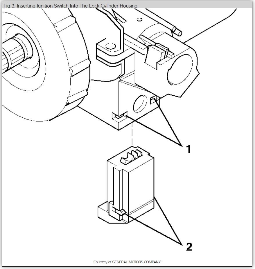
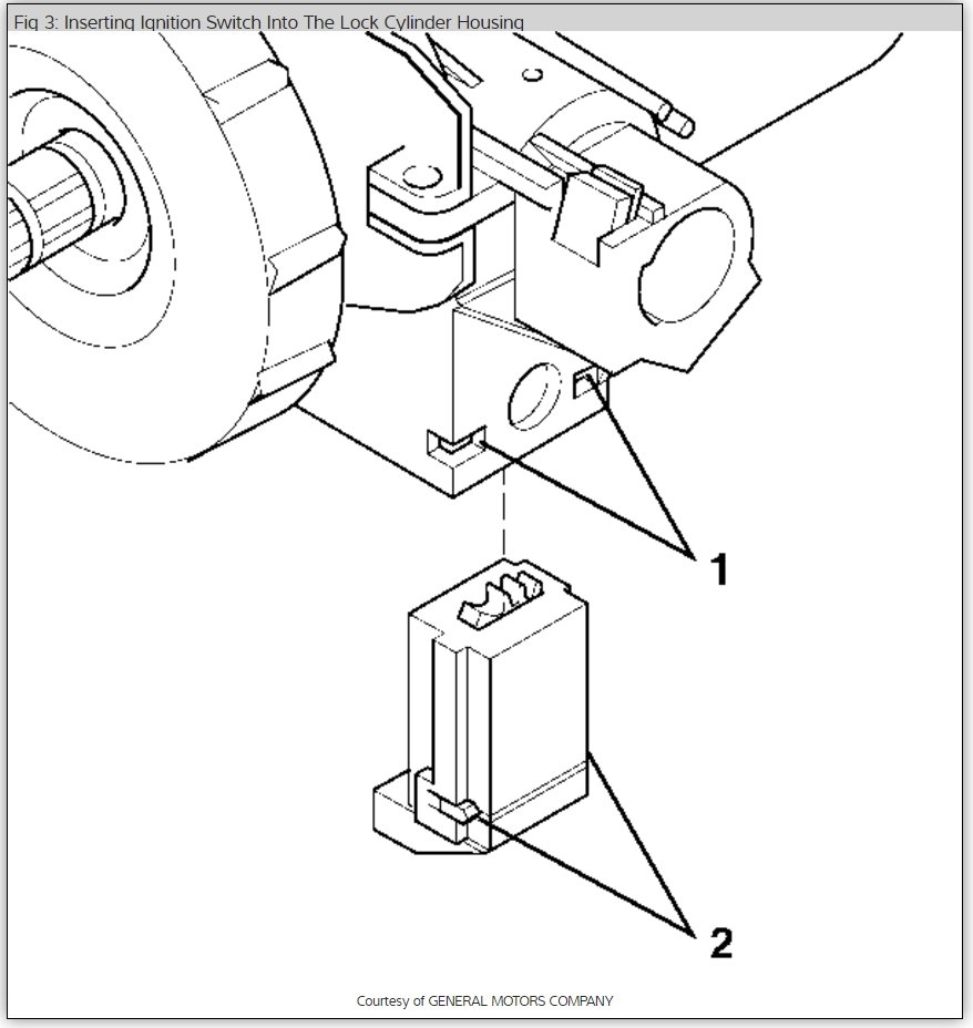
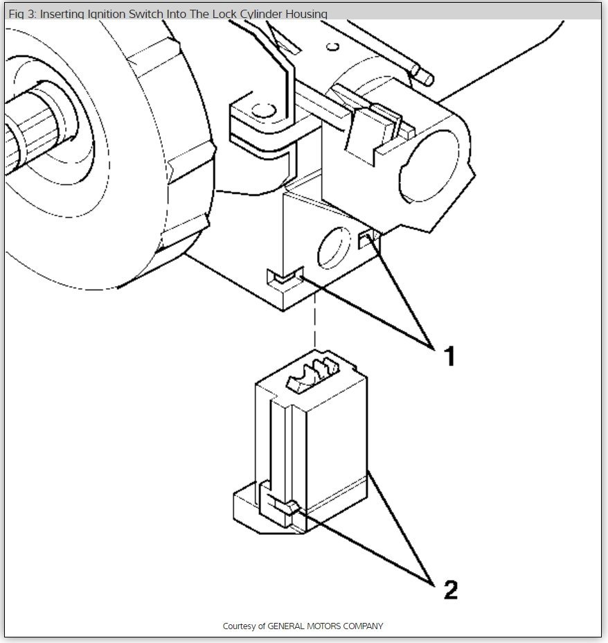
Disconnect the negative battery cable. Remove the steering column trim covers. Remove the park lock cable from the bottom of the housing. Insert the key into the ignition and rotate to the accessories position. Depress the locking button through hole on the side of ignition module assembly with a thin pick-type tool. Important: Once the locking button is depressed, the tool must be removed before the cylinder will slide out of the housing.

Slide the lock cylinder out of the ignition housing.
Make sure you clean the housing out with brake clean and a rag. After you clean it apply GM super lube to inside of housing and lock cylinder before putting it together. Here is the part number number:12371287. You can get this at the dealer. Very important that you lube it or you will have the same problem. Post back if this works

Please let us know if you need anything else to get the problem fixed.

Cheers, Ken
Jun 11, 2020 at 6:41 PM