Clutch Problems

2002 CHEVROLET CAVALIER
91,000 MILES • 4 CYL • FWD • MANUAL
Avatar
ARMBRUST43
  • MEMBER
  • 1 POST
My clutch is not working and it seems to be a different problem than everyone else is having. I have bled the clutch many times and it works for about 5 minutes and then it gets air in the system and the pedal sticks to the floor the thing that is confusing me is that it doesn't lose fluid the only time the fluid goes down is when i bleed the system so it is just sucking air and not leaking fluid i don't know what would cause this because i am not real familiar with hydraulic clutch systems like these so any information would be appreciated thank you for your time
Jan 26, 2010 at 6:33 PM
Advertisement
Avatar
ROYE
  • MEMBER
  • 1 POST
I have the same problem
Jan 18, 2012 at 7:59 PM
Avatar
CHELSEY
  • MEMBER
  • 1 POST
same problem...petal to the floor...mine is that the master and slave cylinders need to be replaced...
Feb 19, 2012 at 8:44 PM
Advertisement
Avatar
RASMATAZ
  • CERTIFIED EXPERT
  • 75,992 POSTS
Sounds like the clutch master cylinder is leaking internally if there's no external leak. I would do the clutch slave and master as a set

Here are a few guides to read, they will help you figure it out

https://www.2carpros.com/articles/clutch-doesnt-work-sometimes-or-not-at-all

https://www.2carpros.com/articles/clutch-symptoms

https://www.2carpros.com/articles/throw-out-bearing-replacement



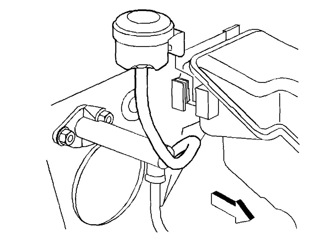
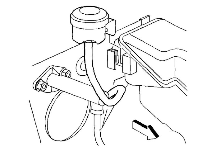
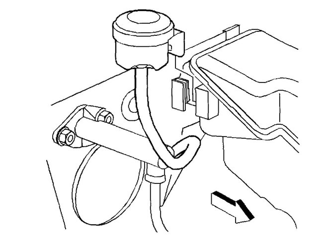
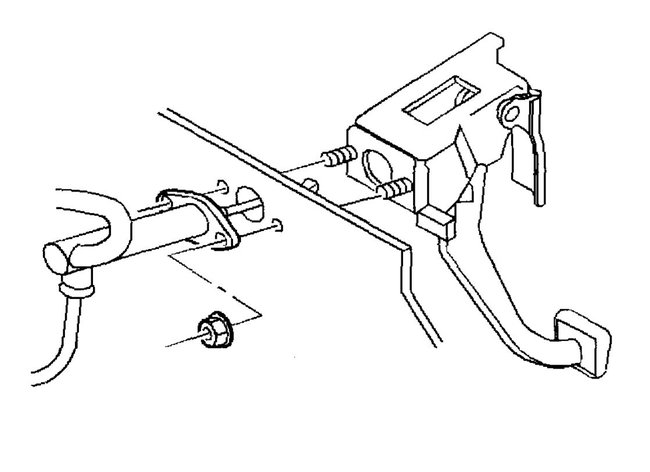
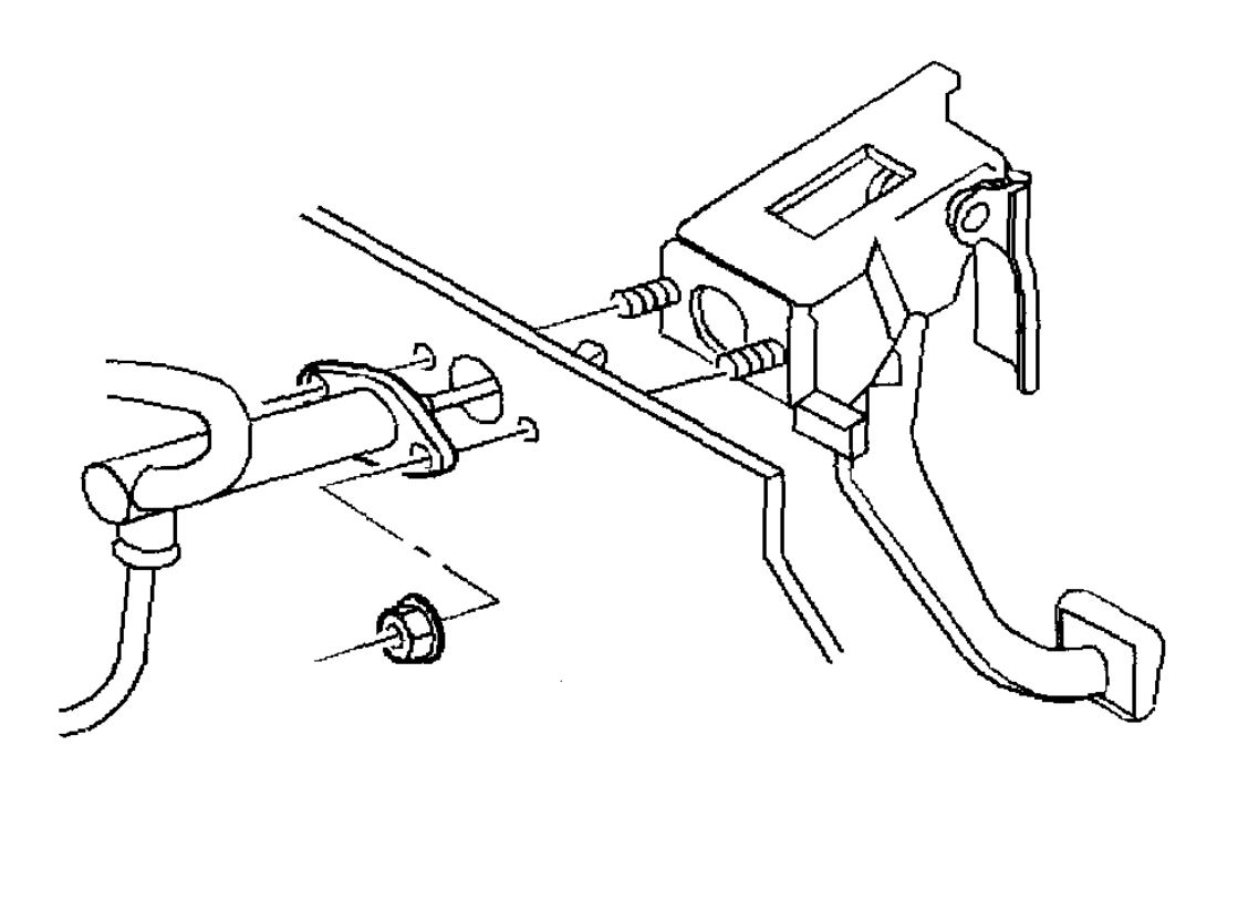
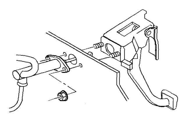
Removal Procedure
1. Remove the clutch master cylinder push rod from the clutch pedal.
2. Remove the master cylinder retaining nuts at the front of the dash.
3. Remove the remote reservoir.
4. Disconnect the clutch actuator cylinder line.
5. Remove the clutch master cylinder assembly from the clutch pedal assembly.

Installation Procedure
1. Install the clutch master cylinder assembly to the clutch pedal assembly.
2. Connect the clutch actuator cylinder line.
3. Install the remote reservoir.
4. Install the master cylinder retaining nuts at the front of the dash.
^ Tighten the nuts evenly to 21 Nm (15 ft. lbs.).
5. Install the push rod to the clutch pedal.
6. Bleed the hydraulic system.

Hydraulic Clutch Bleeding

Notice: Do not reuse the fluid that has been bled from a system in order to fill the clutch master cylinder reservoir for the following reasons:

1. The fluid may be aerated
2. The fluid may be contaminated
3. The fluid may contain too much moisture

Important: Maintain the fluid level in the clutch reservoir to the top step with GM P/N 12345347, or equivalent.

1. Clean dirt and grease from the cap in order to ensure that no foreign substances enter the system.
2. Attach a hose to the bleeder screw on the clutch actuator assembly. Submerge the other end of the hose in a container of Hydraulic Clutch Fluid GM P/N 12345347, or equivalent.
3. Depress the clutch pedal slowly and hold.
4. Loosen the bleeder screw to purge air.
^ Tighten the bleeder screw to 2 Nm (18 inch lbs.).
5. Repeat steps 3 through 5 until air is purged.
6. Fill reservoir to the top step with GM P/N 12345347, or equivalent.
7. Repeat the bleeding procedure if necessary.


Diagrams are attached below
Feb 19, 2012 at 8:52 PM
Avatar
CJNBUG
  • MEMBER
  • 2 POSTS
How do I bleed my clutch in this car...there is no bleeder >?
Dec 1, 2018 at 8:37 AM (Merged)
Avatar
BLUELIGHTNIN6
  • CERTIFIED EXPERT
  • 16,542 POSTS
WITHOUT BLEED SCREW


Remove the actuator (slave) cylinder from the transaxle, as outlined earlier in this section.
Loosen the master cylinder mounting attaching nuts to the end of the studs, but do not remove the master cylinder.
Remove any dirt or grease around the reservoir cap so dirt cannot enter the system, then remove the cap and diaphragm. Fill the reservoir with an approved DOT 3 brake fluid.
Depress the hydraulic actuator cylinder pushrod about 0.787 in. (20.0mm) into the slave cylinder bore and hold.
Install the diaphragm and cap on the reservoir while holding the slave cylinder pushrod in as described in the previous step.
Release the slave cylinder pushrod.
The slave cylinder should be lower than the master cylinder.

Hold the slave cylinder vertically with the pushrod end facing the ground.
Press the pushrod into the slave cylinder bore with short 0.390 in. (10.0mm) strokes.
Observe the reservoir for air bubbles. Continue until air bubbles no longer enter the reservoir.
Install the actuator (slave) cylinder to the transaxle.
Tighten the master cylinder attaching nuts to 15 ft. lbs. (20 Nm).
Check the fluid reservoir in the clutch master cylinder and add, if necessary. Install the diaphragm and cap to the reservoir.
To test the system, start the engine and push the clutch pedal to the floor. Wait 10 seconds and select reverse gear. There should be no gear clash. If clash is present, air may still be present in the system. Repeat bleeding procedure.





Thanks for using 2CarPros.com!
Dec 1, 2018 at 8:37 AM (Merged)
Avatar
GERARD
  • MEMBER
  • 1 POST
1994 chevy cavalier 88,000 miles, 2.2 4 cylinder




hard to get in and out of gear has air in it....
but there is no bleeder even took it to a garage no1 can find bleeder so how do we bleed it
Dec 1, 2018 at 8:37 AM (Merged)
Avatar
E40WATER12
  • CERTIFIED EXPERT
  • 522 POSTS
Does youre clutch peddle feel spongy? Or stiff?. How old is the clutch? Could havea bad release bearing on the clutch. Also could have a faulty clutch slave cyl.
Dec 1, 2018 at 8:37 AM (Merged)
Avatar
FIXEDELUNE
  • MEMBER
  • 2 POSTS
1996 Chevy Cavalier 2.2 litre w/146000+ miles. My clutch fluid went empty and the clutch goes straight to the floor and sticks. I've added more clutch fluid but I need to bleed it since there are air bubbles. I'm having a hard time finding any information or diagram where to find the bleeder screw for the clutch fluid. Gosh, help me pls...
Dec 1, 2018 at 8:37 AM (Merged)
Avatar
DOCFIXIT
  • CERTIFIED EXPERT
  • 18,828 POSTS
Good chance the slave is leaking. The bleeder is on the slave down on the transaxel.
Dec 1, 2018 at 8:37 AM (Merged)
Avatar
TDEN
  • MEMBER
  • 1 POST
how do you bleed the clutch system on a cavalier
Dec 1, 2018 at 8:38 AM (Merged)
Avatar
MMPRINCE4000
  • CERTIFIED EXPERT
  • 8,548 POSTS
Generally, if the MC is higher than the slave you can gravity bleed by loosing the slave bleeder screw (make sure the MC is full) and bleed unto all air is out.
You can also use a small vacuum pump, again bleed until all air is out.
Dec 1, 2018 at 8:38 AM (Merged)
Avatar
CHARLES DETHARIDGE
  • MEMBER
  • 4 POSTS
Transmission problem
2001 Chevy Cavalier 4 cyl Front Wheel Drive Manual

How do you bleed the clutch master cylinder,I have tried every which way. Thank's end advance.
Dec 1, 2018 at 8:38 AM (Merged)
Avatar
RHALL77
  • CERTIFIED EXPERT
  • 3,361 POSTS
i would first let it gravity bleed for a while then try it and see if you have a good pedal. make sure to keep the master cylinder full of fluid. if that doesnt work, have someone press the clutch down and hold it down while you open the bleeder
Dec 1, 2018 at 8:38 AM (Merged)
Avatar
CHARLES DETHARIDGE
  • MEMBER
  • 4 POSTS
Thank's very much,I think the problem was slave cylinder leaking off.
Dec 1, 2018 at 8:38 AM (Merged)
Avatar
CHEVY_GURL
  • MEMBER
  • 1 POST
i just bought a brand new clutch for my car and it ran for about a week. i was driving don the road, coming up to a stop sign when my car make a popping noise and my clutch pedal lost compression. i put my car back into gear but it would'nt move i also smelled something burning. do you think i bought a bad clutch? someone also said maybe my master slave cylinder went bad do you think it could be ethier one?
Dec 1, 2018 at 8:38 AM (Merged)
Avatar
RASMATAZ
  • CERTIFIED EXPERT
  • 75,992 POSTS
[quote:330a2e2693="chevy_gurl"]i just bought a brand new clutch for my car and it ran for about a week. i was driving don the road, coming up to a stop sign when my car make a popping noise and my clutch pedal lost compression. i put my car back into gear but it would'nt move i also smelled something burning. do you think i bought a bad clutch? someone also said maybe my master slave cylinder went bad do you think it could be ethier one?[/quote:330a2e2693]

Check the clutch M/C and slave/servo before you get a clutch assy-find out why there's no compression/pressure on the pedal. Maybe there's air in it or leak
Dec 1, 2018 at 8:38 AM (Merged)