ignition switch how easy is that to replace?

2002 CHEVROLET ASTRO
80,000 MILES • 6 CYL • AWD • AUTOMATIC
Avatar
BOBRSUE
  • MEMBER
  • 2 POSTS
If it is the ignition switch, how easy is that to replace by a novice level? I do oil filters, starters, plugs etc when I can get to them.
Apr 7, 2008 at 6:56 AM
Advertisement
Avatar
RHALL77
  • CERTIFIED EXPERT
  • 3,361 POSTS
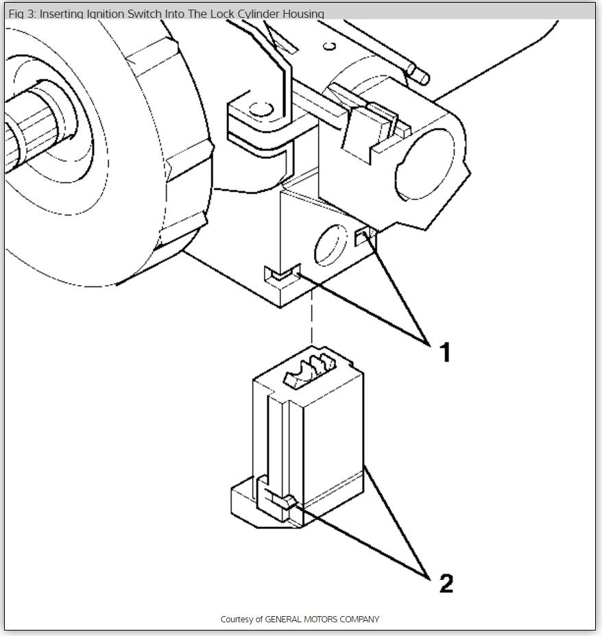
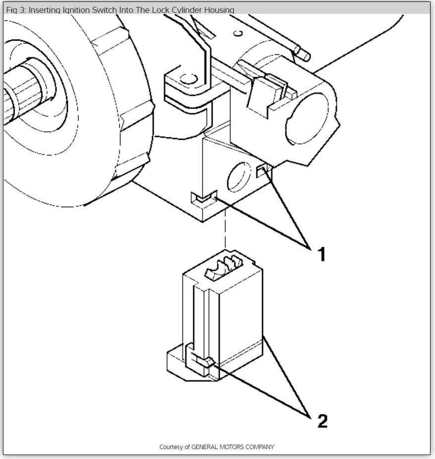
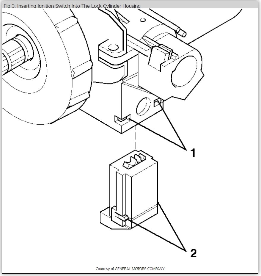
Here are the instructions on how to change out the ignition switch which is not that hard. Check out the diagrams (Below). Please let us know if you need anything else to get the problem fixed.
Apr 7, 2008 at 7:32 AM