engine misfire? Can you help me fix it?

2002 FORD TAURUS
172,000 MILES • 3.0L • 6 CYL • 2WD • AUTOMATIC
Avatar
BLACKSKEITH99
  • MEMBER
  • 1 POST
Changed plugs and intake air circuit. To my dismay it wont change.
Feb 29, 2020 at 10:21 AM
Advertisement
Avatar
ASEMASTER6371
  • CERTIFIED EXPERT
  • 52,796 POSTS
Good morning,

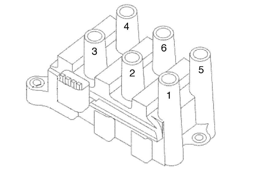
The 302 is a misfire for cylinder 2. I would check the compression to be sure there is nothing wrong with the cylinder.

https://www.2carpros.com/articles/how-to-test-engine-compression

The 316 is a misfire in the first 1,000 RPM's when it started It indicates a bad ignition coil.

https://www.2carpros.com/articles/engine-misfires-or-runs-rough

1504 is for idle air control. A common failure for the idle air control valve.

Roy
Mar 1, 2020 at 2:23 AM
Avatar
JGONZO2398
  • MEMBER
  • 372 POSTS
So I have been having this “jerk or surge” problem for two months or so now. Just a few weeks ago I have noticed that my car jerks only when the A/C is turned on. I have driven it with the air off, when I get to a stop, I turn on the air, and the car lightly kicks as if it tries to push forward, the jerking and kicking is very random but only happens when I am at a stop. I have changed the mass air flow sensor, idle air control valve. I have cleaned the throttle body and replaced the throttle position sensor. nothing has work. Any guesses? I need help please!
My car is the SE model.
Jan 16, 2021 at 9:26 AM (Merged)
Advertisement
Avatar
STRAILER
  • CERTIFIED EXPERT
  • 53,854 POSTS
It sounds like the engine is misfiring. Have you done a tune up lately? And should also run the codes to see if anything comes up.

Here are a couple of guides to help us fix the problem:

https://www.2carpros.com/articles/how-to-tune-up-a-car-engine

and

https://www.2carpros.com/articles/engine-vibration-at-idle

If you could take a quick video and upload it of what the car is doing it would help me see what' i going on.

Please let us know what happens.

Cheers, Ken
Jan 16, 2021 at 9:26 AM (Merged)
Avatar
JGONZO2398
  • MEMBER
  • 372 POSTS
I put in new spark plugs about six months ago, have not changed any of the coils nor my fuel filter either. The problem with taking a video is that the jerking is so random and you would not really be able to hear or see anything within the car, but I will try to capture anything and submit it. So do you recommend just getting a full tune-up?
Jan 16, 2021 at 9:26 AM (Merged)
Avatar
JGONZO2398
  • MEMBER
  • 372 POSTS
Or get my codes checked first, since I forgot to mention that there is no check engine light?
Jan 16, 2021 at 9:26 AM (Merged)
Avatar
JGONZO2398
  • MEMBER
  • 372 POSTS
This is all I could get, turning on the ac and having the car jerk and stutter right after, I don’t know if you can notice
Jan 16, 2021 at 9:26 AM (Merged)
Avatar
JGONZO2398
  • MEMBER
  • 372 POSTS
Here is this one with the AC at max:
Jan 16, 2021 at 9:26 AM (Merged)
Avatar
STRAILER
  • CERTIFIED EXPERT
  • 53,854 POSTS
Thats for the videos, It think the AC system might be low on charge causing the compressor to start and stop causing the idle fluctuation. Can you lift the hood and see if this is the case. This guide will show the compressor clutch you will be looking at.

https://www.2carpros.com/articles/car-air-conditioner-not-working-or-is-weak

Please let us know what happens.

Cheers, Ken
Jan 16, 2021 at 9:26 AM (Merged)
Avatar
JGONZO2398
  • MEMBER
  • 372 POSTS
Low on charge? As in it is low on refrigerant? Or? I am confused. And my air blows cold, blows through all the vents, works fine, so the guide does not really pertain to me.
Jan 16, 2021 at 9:26 AM (Merged)
Avatar
STRAILER
  • CERTIFIED EXPERT
  • 53,854 POSTS
If the compressor is cycling it will. Can you hear the compressor click on and off? If not then this will not have anything to do with the problem. Then I will be leaning toward a vacuum leak or a worn MAF sensor.

Here are two guides to help you see what I am talking about:

https://www.2carpros.com/articles/how-to-use-an-engine-vacuum-gauge

and

https://www.2carpros.com/articles/how-to-replace-a-mass-air-flow-sensor-maf

These problem will affect mixture which will make the engine run poorly at idle.

Jan 16, 2021 at 9:26 AM (Merged)
Avatar
JGONZO2398
  • MEMBER
  • 372 POSTS
Yes, when I turn the AC on I hear the compressor click on, what does that tell me?
Jan 16, 2021 at 9:26 AM (Merged)
Avatar
JGONZO2398
  • MEMBER
  • 372 POSTS
Could it be a fuse? The AC clutch relay?
Jan 16, 2021 at 9:26 AM (Merged)
Avatar
STRAILER
  • CERTIFIED EXPERT
  • 53,854 POSTS
It click on yes, but then does it click off again and then on and then off? This is a sign of a low charge even though it is cold. I just want to make sure it not the compressor causing the issue.
Jan 16, 2021 at 9:26 AM (Merged)
Avatar
JGONZO2398
  • MEMBER
  • 372 POSTS
No I do not think i have heard it click on and off while driving and having the AC on. what does happen though is that whenever the car jerks, the AC seems to power down or just minimize for a split second on every jerk, you get me? So if it is not the compressor, what could it be?
Jan 16, 2021 at 9:26 AM (Merged)
Avatar
STRAILER
  • CERTIFIED EXPERT
  • 53,854 POSTS
So when you say there is no check engine light do you mean there is no light with the key on engine off?
Jan 16, 2021 at 9:26 AM (Merged)
Avatar
JGONZO2398
  • MEMBER
  • 372 POSTS
No I mean there is no check engine light present at all. Can you still read codes with no check engine light present?
Jan 16, 2021 at 9:26 AM (Merged)
Avatar
JGONZO2398
  • MEMBER
  • 372 POSTS
This is another video I took, this was on park, it kept jerking and it sounded like the AC clicked.
Jan 16, 2021 at 9:26 AM (Merged)
Avatar
JGONZO2398
  • MEMBER
  • 372 POSTS
This is one of the engine with AC on MAX.
Jan 16, 2021 at 9:26 AM (Merged)
Avatar
STRAILER
  • CERTIFIED EXPERT
  • 53,854 POSTS
I cannot see it having a problem. can you get a video of the actual problem? I need to see whats going on.
Jan 16, 2021 at 9:26 AM (Merged)
Avatar
JGONZO2398
  • MEMBER
  • 372 POSTS
Turns out it was the spark plug cables, easy fix. Wow
Jan 16, 2021 at 9:26 AM (Merged)
Avatar
STRAILER
  • CERTIFIED EXPERT
  • 53,854 POSTS
O man, sorry we did not mention that earlier, you do a great job with the videos.

Use 2CarPros anytime, we are here to help. Please tell a friend.

Cheers, Ken
Jan 16, 2021 at 9:26 AM (Merged)
Avatar
LSQUIRES
  • MEMBER
  • 1 POST
I noticed car idling rough and jerking on acceleration. Mechanic said water in gas. Tried bottle of heet; didn't work, check engine light came on; code read misfire #3; mechanic replaced plugs, wires, upper intake gasket; used some fuel injector cleaner; cleaned throttle plate. A little better but stlll when slow down and then accelerate back up it chugs; runs smooth otherwise except same day we got it out of shop check engine light came back on. took it back to mechanic--he says fuel injectors need cleaning which will cost another $300. I hate to keep throwing money at it trying to find what's wrong--but I'll need to get it through emissions in a few months- Help please!
Jan 16, 2021 at 9:27 AM (Merged)
Avatar
2CARPRO JACK
  • CERTIFIED EXPERT
  • 11,533 POSTS
Could be an injector that is going bad, working intermittently.Sounds like everything else has been replaced, except the ignition coil and injector, both of which I have seen cause misfires on these cars.Cleaning the injectors seldom lasts.
Jan 16, 2021 at 9:27 AM (Merged)
Avatar
JABRUNN
  • MEMBER
  • 12 POSTS
I have a 2002 Ford Taurus with the 3.0L OHV engine. I have been experiencing a missfire ever since purchasing the car. I have replaced so many components I'm down to a valvetrain issue. I just did a running compression on two of my cylinders and both were not even reaching 30 psi. When I revved the engine the compression dropped way down to barely being registered on the gauge. Is this evidence of weak valve springs or no? Also, the CEL is not being illuminated but the Mode6 data from my PCM indicates a small misfire on all cylinders (the last time I checked it).
Jan 16, 2021 at 9:28 AM (Merged)
Avatar
BMRFIXIT
  • CERTIFIED EXPERT
  • 19,053 POSTS
dry and then wet compression test should be done 1st ,compare reading
running compression test not so sure
Jan 16, 2021 at 9:28 AM (Merged)
Avatar
JABRUNN
  • MEMBER
  • 12 POSTS
I did a dry compression test several months ago and everything checked out. All cylinders were within 15 psi of each other. The running of the vehicle hasn't changed since then I just decided to finally take a stab at checking the running compression. I can do a wet compression but it would be this weekend before I could do it.
Jan 16, 2021 at 9:28 AM (Merged)
Avatar
BLACKOP555
  • CERTIFIED EXPERT
  • 10,386 POSTS
Don't rely on a running compression test... OK with that out of way when do you feel it miss firingthe most. High load. Light load. Idle? Maybe all the time
Jan 16, 2021 at 9:29 AM (Merged)