Car has no electrical power after ignition switch change?

2012 VOLKSWAGEN PASSAT
110,000 MILES • 5 CYL • 4WD • AUTOMATIC
Avatar
ZACHAUTO96
  • MEMBER
  • 1 POST
I changed the ignition switch and got no power to the vehicle. No crank, no start, no lights on dash.
Jun 25, 2023 at 5:30 PM
Advertisement
Avatar
STRAILER
  • CERTIFIED EXPERT
  • 53,854 POSTS
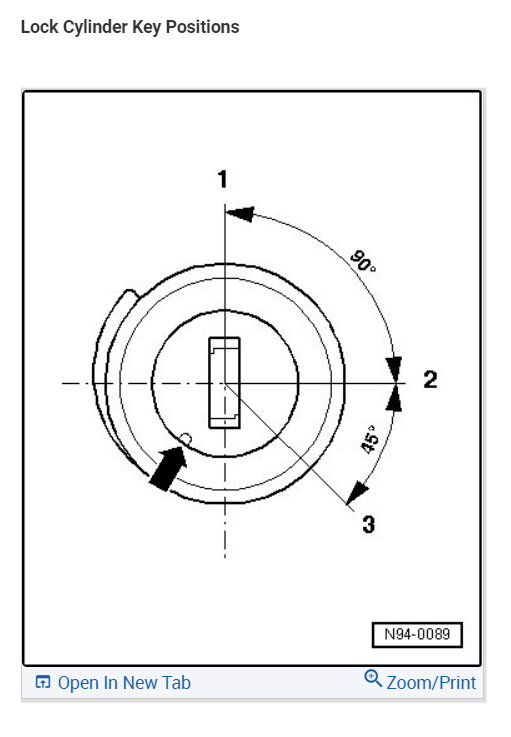
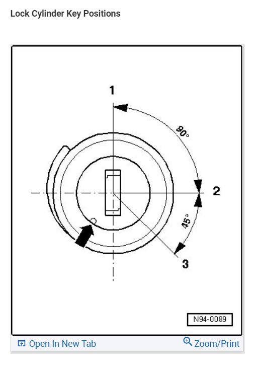
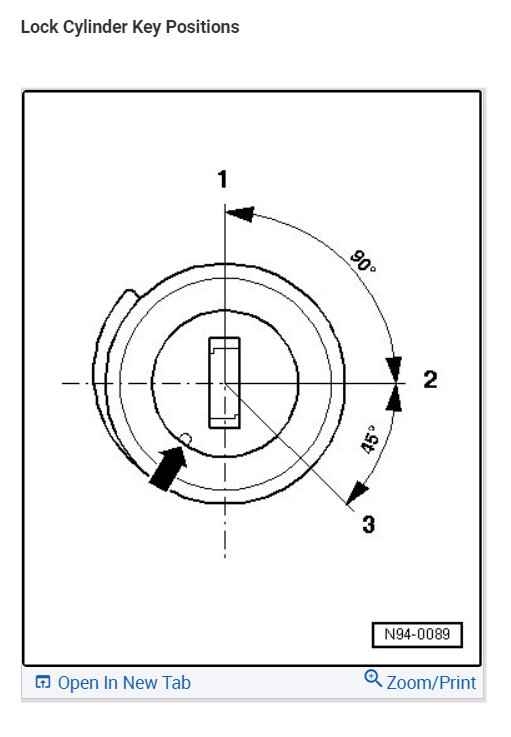
I would double check the electrical connector to make sure it is plugged in correctly. Also did the car have power before the repair? There seems to be no special instructions on the job, I have included them in the images below. Let us know what happens and please upload pictures or videos of the problem so we can see what's going on.
Jun 26, 2023 at 2:03 PM