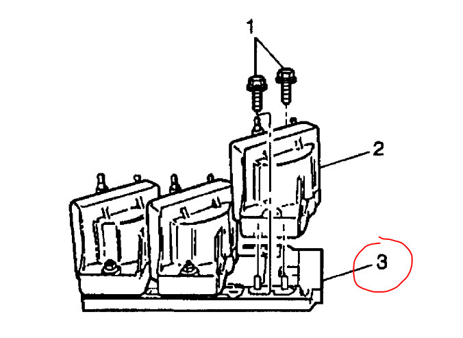
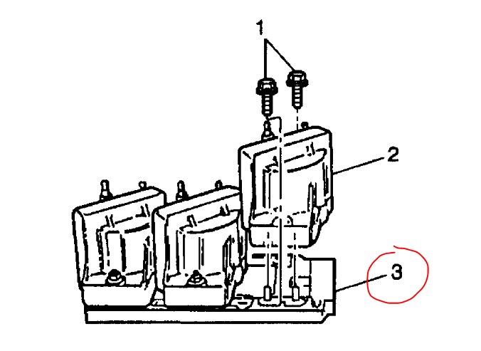
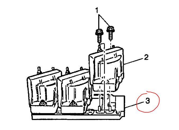
Just got car it was running rough, so I changed plugs and wires next day started making a racket pulled over and check and the edge of the belt and come apart. I changed the belt and noticed the tensioner was jumping really bad, so I changed the tensioner car still has no power I pulled off each spark plug from the cold pack and only two spark plugs sparked at the coil pack when I pulled them off.
Nov 11, 2024 at 7:24 AM

