Hello,
My car won’t start but cranks, the issue started after it has been stalling for while driving or at idle and codes of lost communication e.g. (U0073, U0101, U0121, U0155), and the car will start immediately if I restart it. I cleared the codes and drove for some time, it will happen again and i will start again, now it won’t start at all but cranks and won't display any codes.
Some Checks already performed are:
1. Fuel pressure
2.coil
3. Spark plugs
4. Crankshaft sensor
5.injectors.
6. All Air intake sensors and possible leaks
7. All relays and Fuse Checked
They all check out to be fine except when cranking, the spark plugs and Injectors do not have ground from the PCM.
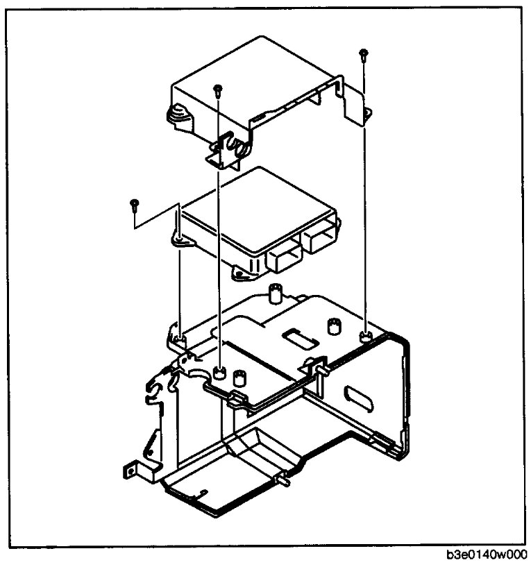
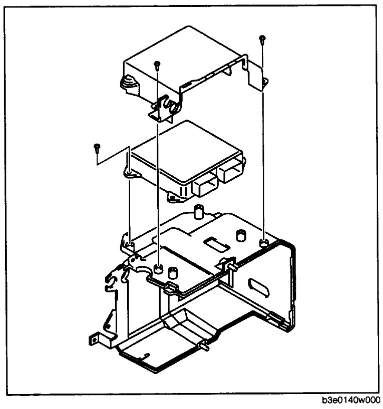
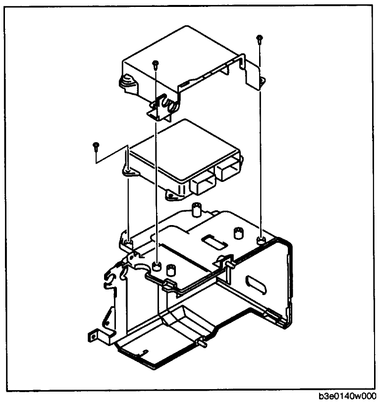
Am thinking of replacing the PCM but a check i need to perform last before that is testing the harness of the PCM to the instrument Cluster.
I need assistance for the instrument cluster terminal diagram, wiring and label to perform next check.
Thank you in Advance.
My car won’t start but cranks, the issue started after it has been stalling for while driving or at idle and codes of lost communication e.g. (U0073, U0101, U0121, U0155), and the car will start immediately if I restart it. I cleared the codes and drove for some time, it will happen again and i will start again, now it won’t start at all but cranks and won't display any codes.
Some Checks already performed are:
1. Fuel pressure
2.coil
3. Spark plugs
4. Crankshaft sensor
5.injectors.
6. All Air intake sensors and possible leaks
7. All relays and Fuse Checked
They all check out to be fine except when cranking, the spark plugs and Injectors do not have ground from the PCM.
Am thinking of replacing the PCM but a check i need to perform last before that is testing the harness of the PCM to the instrument Cluster.
I need assistance for the instrument cluster terminal diagram, wiring and label to perform next check.
Thank you in Advance.
Apr 14, 2024 at 4:35 PM

















