Car brake lights do not turn off

1999 ACURA TL
84,098 MILES • 3.2L • V6 • AUTOMATIC
Avatar
JMUKASA
  • MEMBER
  • 1 POST
My car brake lights don’t go off. The car can be in parked or the car can be completely off, and the brake lights are on. I have to pop the hood and disconnect the battery when I get out of my car.

May 1, 2020 at 10:28 AM
Advertisement
Avatar
DANNY L
  • CERTIFIED EXPERT
  • 5,648 POSTS
Hello, i'm Danny.

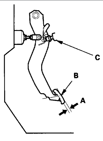
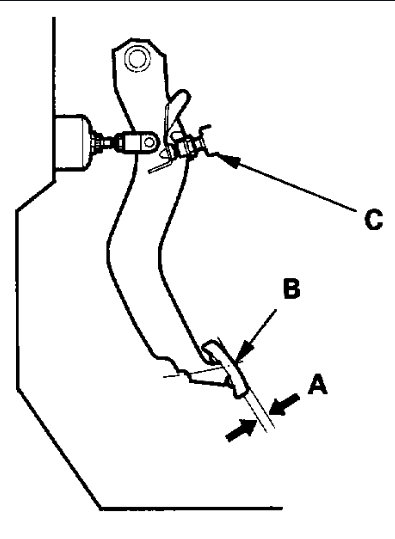
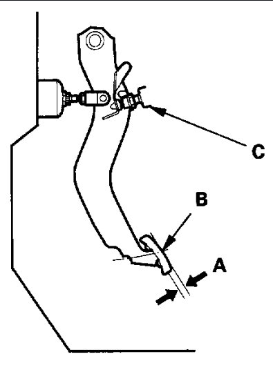
It sounds like you are having an issue with the brake light switch.It's mounted on the brake pedal.It might be shorted and not allowing brake lights to turn off. I've attached pictures below of its location and how to replace.Hope this helps and thanks for using 2CarPros.
May 1, 2020 at 11:34 AM