Cap firing order?

1979 BUICK REGAL
120,000 MILES • 3.8L • V6 • 2WD
Avatar
TIMOTHY BROOKER
  • MEMBER
  • 1 POST
Wires missing and need to know what goes where on the cap.
Nov 28, 2024 at 3:26 PM
Advertisement
Avatar
STEVE W.
  • CERTIFIED EXPERT
  • 15,113 POSTS
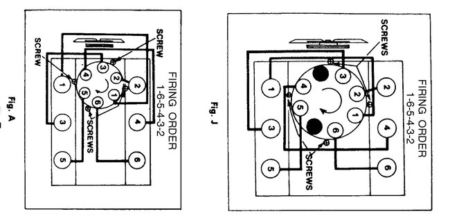
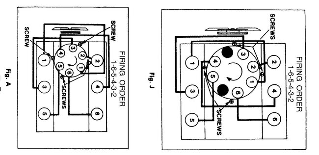
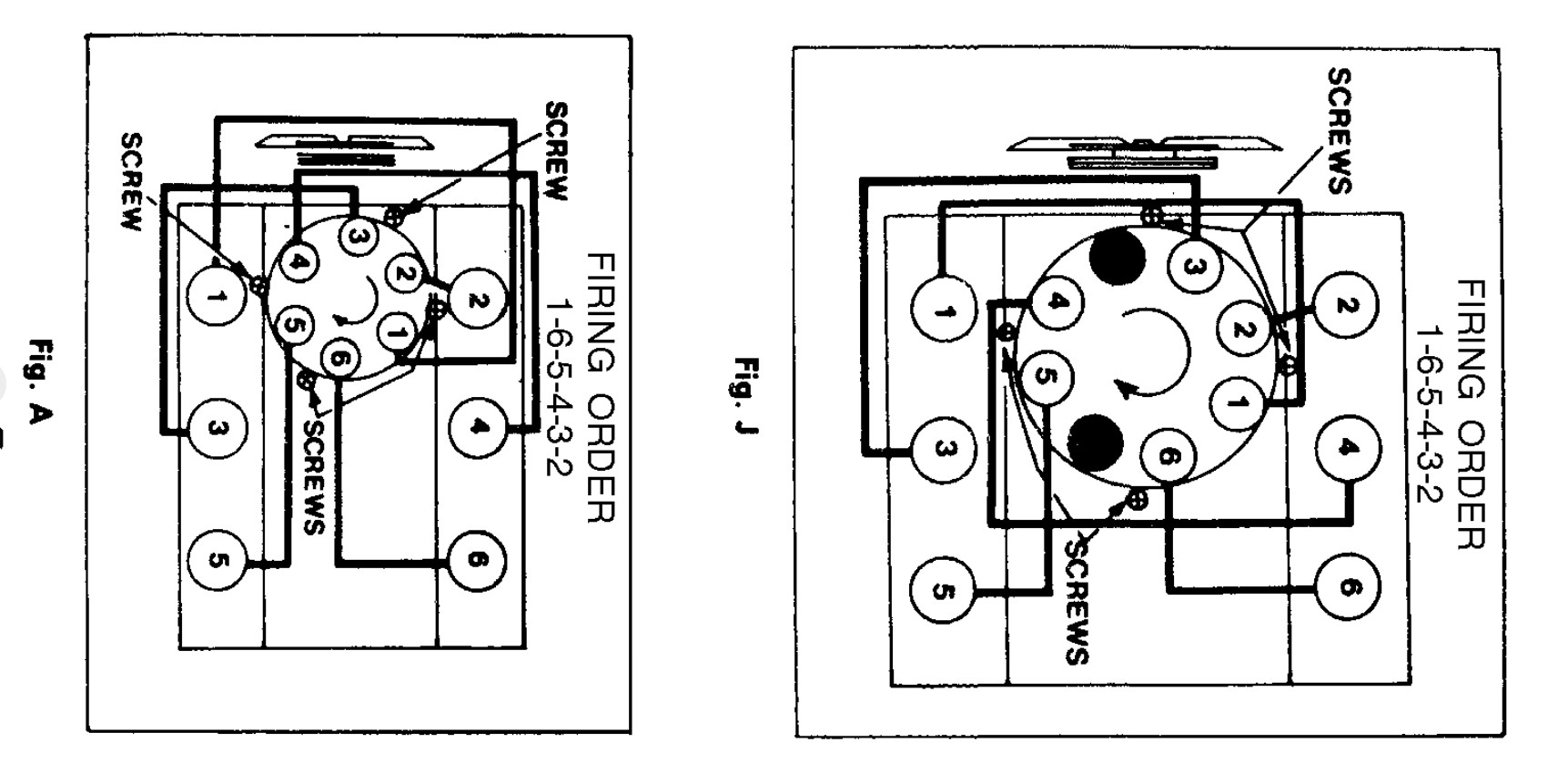
These are the two possible wire layouts depending on which version of the HEI system you have. The firing order is the same on both 1-6-5-4-3-2. Normally the wire tower at the rear is 6. In most wire sets 2 is the shortest wire then 6 then 5 with 3,1,4 being the rest in wire length.
Nov 28, 2024 at 11:04 PM