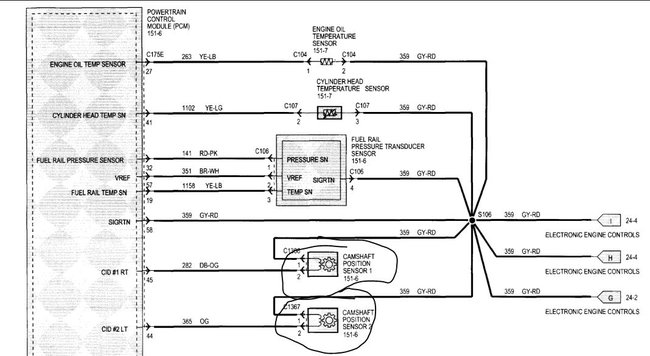
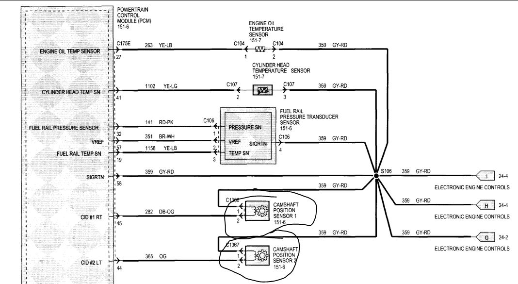
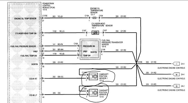
I have a P0340 code and I replaced my sensor but to no avail. I could’ve replaced it wrong but I believe it’s a wiring issue. how would I test the wires going to the CPS?
Nov 11, 2019 at 7:48 AM

