☰
Login
Join
×
Home
Answered Questions
Repair Topics
Repair & Service Guides
Popular Questions
Warning Lights
Trouble Codes
How It Works
Testing / Diagnostics
Symptoms
Videos
Login
Become a Member
Home
Cadillac
Deville
Safety
Airbag
Sensor
Location
location of air bag sensors
2005 CADILLAC DEVILLE
76,000 MILES • V8 • FWD • AUTOMATIC
TLAM
MEMBER
1 POST
FOLLOW
where is the location of the air bag sensors. the air bag light is on on the dashboard....they said I needed a front sensor. can't locate it...
Sep 20, 2010 at 6:23 PM
Advertisement
STRAILER
CERTIFIED EXPERT
53,855 POSTS
Hello,
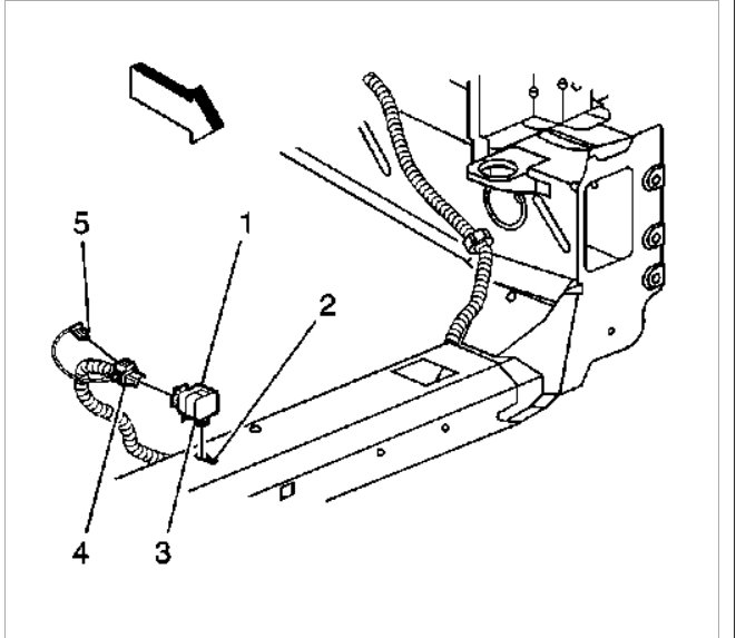
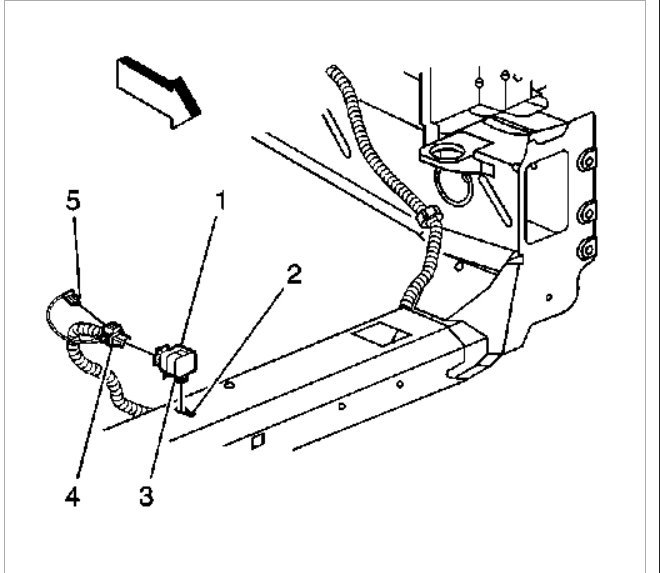
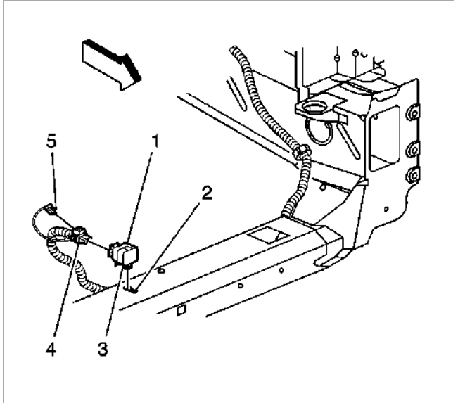
The front airbag sensor is located in the center on front side of radiator assembly. Only reason it could be bad is airbags were deployed
Check out the diagrams of all air bag sensor locations just in case you need it (Below)
Please let us know what happens.
Cheers, Ken
Images (Click to enlarge)
Jan 19, 2018 at 11:50 AM