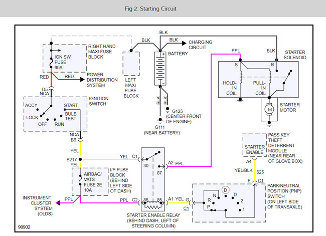
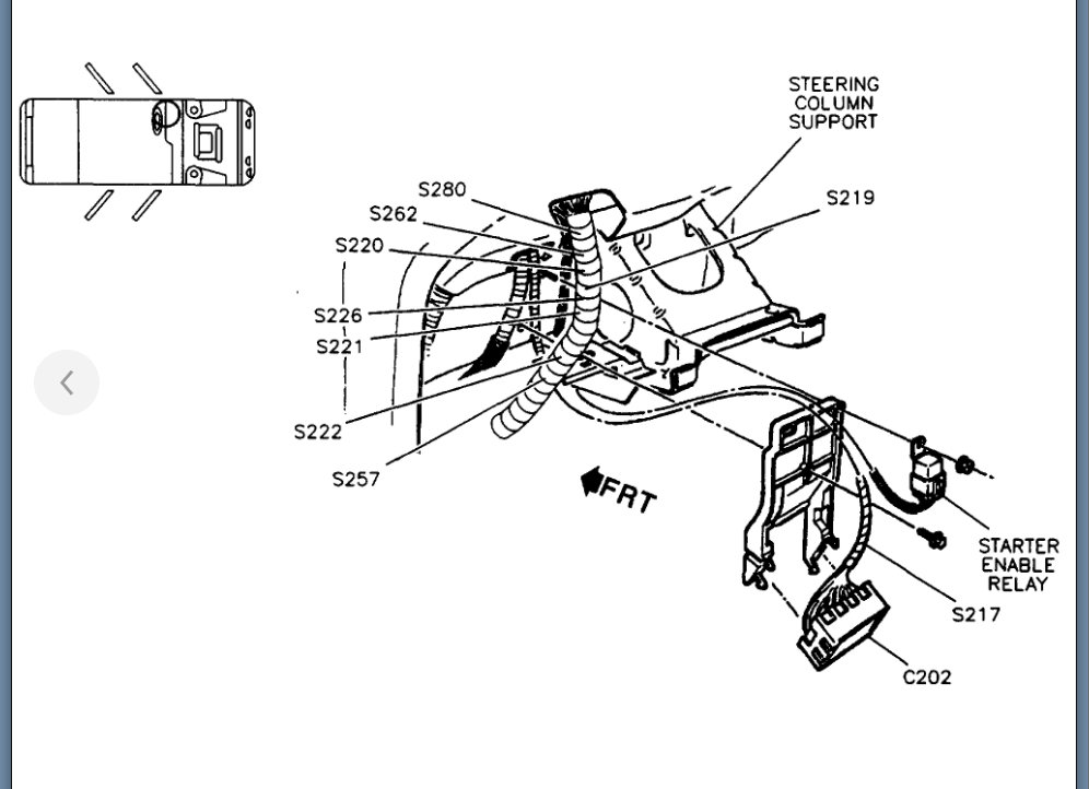
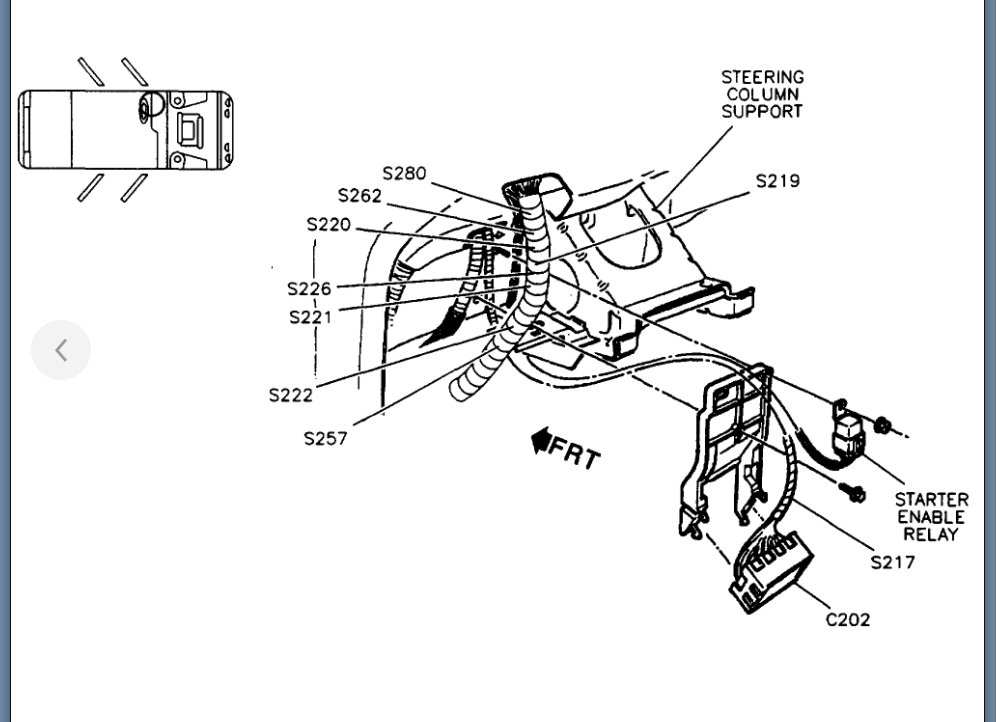
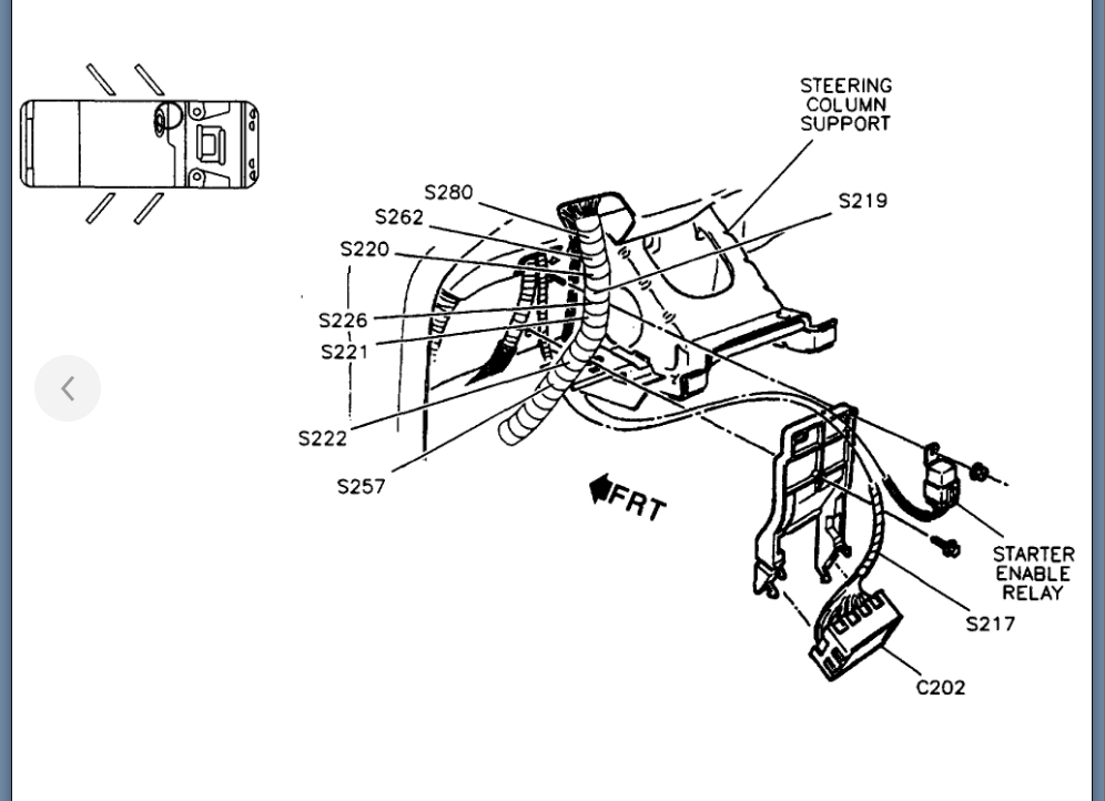
Car failed to start, found starter had an open on the field windings. Replaced starter, no improvement. Haynes manual schematic shows a starter enable relay in the circuit. I cannot locate this relay to check it. It provides the 12 volts to initiate the holding circuit to allow the starter motor to turn the engine. I need a location for this relay and any other suggestions about this problem.
Jul 21, 2006 at 8:18 AM







