Brakes tight

2007 HONDA RIDGELINE
180,567 MILES • 3.5L • 6 CYL • 4WD • AUTOMATIC
Avatar
DAVID KIDD
  • MEMBER
  • 1 POST
ABS light and VTS light came on. also brakes seem like they are tighter. have already replaced the master cylinder and two calibers and problem is still occurring. could this be ABS speed sensors causing the issue?
Jul 1, 2019 at 5:31 PM
Advertisement
Avatar
JACOBANDNICKOLAS
  • CERTIFIED EXPERT
  • 110,175 POSTS
Welcome to 2CarPros.

I have to be honest, it does sound like an issue with one of the wheel speed sensors (ABS sensors). However, the VTS is engine related and deals with the vtech system.

Have you gotten codes from the computer? If so, let me know what they are. As far as the ABS, here is a link that explains how to check the sensors:

https://www.2carpros.com/articles/abs-wheel-speed-sensor-test

Here are a couple links you may or may not need, but are related to testing the sensors:

https://www.2carpros.com/articles/how-to-use-a-voltmeter

https://www.2carpros.com/articles/how-to-check-wiring

If you find one of the ABS sensors is bad, here is a link that shows in general how they are replaced:

https://www.2carpros.com/articles/how-to-replace-an-abs-wheel-speed-sensor

______________________________

Here are the testing and inspection directions from Alldata. The attached pics correlate with the directions.

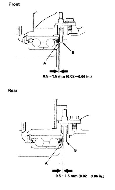
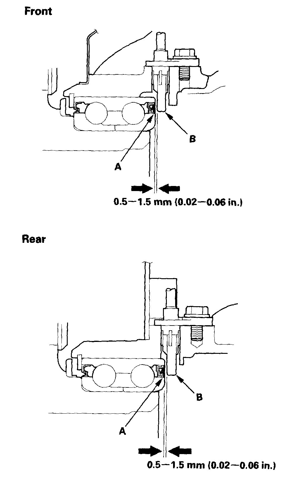
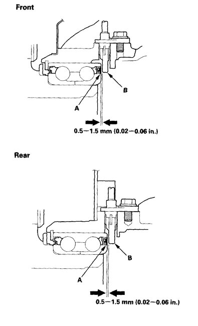
Wheel Sensor Inspection
1. Check the magnetic encoder (A) after cleaning. If necessary, replace the wheel bearing.


see pic 1


2. Measure the air gap between the wheel, sensor (B) and the magnetic encoder all the way around while rotating the encoder.
Standard:
Front: 0.5-1.5 mm (0.02-0.06 in.)
Rear: 0.5-1.5 mm (0.02-0.06 in.)


Picture 2 shows how they are replaced on your vehicle, and pic 3 shows locations.
_________________________________

Let me know if this helps or if you have other questions.

Take care,
Joe
Jul 2, 2019 at 7:18 PM