My brakes go to the floor when I push it

1993 MERCEDES BENZ 400SEL
120,000 MILES • 4.2L • V8 • 2WD • AUTOMATIC
Avatar
WALIYULLAH
  • MEMBER
  • 1 POST
my brakes go to the floor when I push it and my car drop rpm when I push the gas.
Jan 25, 2020 at 4:54 PM
Advertisement
Avatar
JACOBANDNICKOLAS
  • CERTIFIED EXPERT
  • 110,175 POSTS
Hi,

If the brake pedal goes to the floor, check first the brake fluid and make sure it is full. If it is low, confirm there are no leaks and refill and retry while the vehicle is parked. If it goes to the floor, recheck for leaks.

If the fluid is full, suspect the brake master cylinder is bad and needs replaced. Take a look through this link:

https://www.2carpros.com/articles/brake-pedal-goes-to-the-floor

If you determine the MC is bad, here is a link that explains in general how one is replaced: I would suspect there is air in the lines. These guides can help you fix it.

https://youtu.be/w7gUsj2us0U

and

https://youtu.be/WDxvEQrMkBg

and

https://www.2carpros.com/articles/brake-pedal-goes-to-the-floor

Please run down these guides and report back.

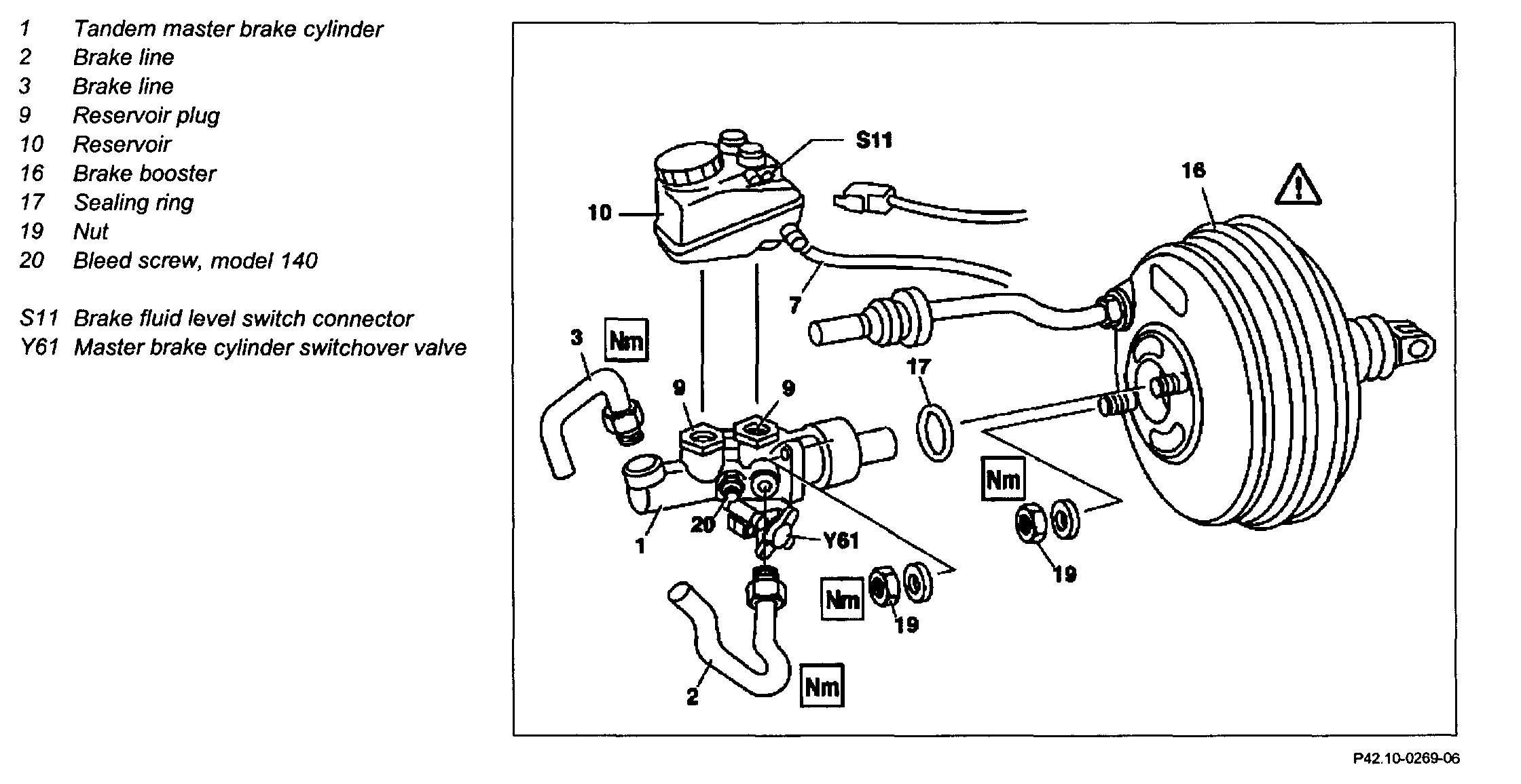
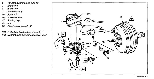
Here are the directions specific to your vehicle. The attached picture correlates with the directions.


Removing And Installing Stepped Tandem Master Brake Cylinder

DANGER:
- Risk of poisoning from swallowing brake fluid. Risk of injury from skin and eye contact with brake fluid
- Pour brake fluid only into suitable and appropriately marked containers. Wear protective clothing and eye protection when handling brake fluid.

CAUTION:
- See notes on brake fluid
- See notes on repairs to brake system
- The switchover master brake cylinder must not be repaired
- Models 129.076, 140.04/05/06/07
- Do not tilt the tandem master brake cylinder, but pull it straight out towards the front, otherwise the thrust rod is forced out of its axial position and may break away from the retaining lugs on the master control unit

NOTE:
- Notes if loss of brake fluid is not visible externally
- Detach electronic accelerator by unscrewing two nuts on the accelerator pedal bracket
Model 170.435

After installation
- Bleed brake system

1 Tandem master brake cylinder
2 Brake lines
3 Brake lines
9 Reservoir plug
16 Brake booster
17 Sealing ring
- Replace sealing ring.

19 Nuts, tandem master brake cylinder to brake booster
20 Pre-bleed master brake cylinder at bleed screw
- Model 140

Y61 Master brake cylinder switchover valve

Here are the directions for bleeding the system. Pic 2 correlates with these directions.

CAUTION:
- See brake fluid notes
- See notes on repairs to brake system

1 Actuate master brake cylinder switchover valve (Y61)

NOTE: The switchover valve (Y61) must be open so that the annular passage in master brake cylinder is bled.

2 Connect filling and bleeding device

CAUTION:
- Pay attention to manufacturer's operating instructions.
- Bleeding pressure 2 bar

3 Carrying out bleeding operation
4 Disconnect filler and bleeder unit, check brake fluid level and correct if necessary


Check out the diagrams (Below). Please let us know what you find.
Jan 25, 2020 at 8:30 PM