passenger side brake caliper

2003 HONDA CIVIC
155,000 MILES • 1.7L • 4 CYL • 2WD • AUTOMATIC
Avatar
ALEX19899
  • MEMBER
  • 171 POSTS
Looking for a walk through for replacing the passenger side brake caliper.
Nov 8, 2018 at 4:04 PM
Advertisement
Avatar
JACOBANDNICKOLAS
  • CERTIFIED EXPERT
  • 110,175 POSTS
Hi and thanks for using 2CarPros.com.

First, here are general directions for replacement. I have to include these for a couple reasons. First, it explains in more detail how to replace one and it includes how to bleed the brake system after a caliper replacement. The bleeding is required and are not included in the removal/replacement directions provided by Alldata. Also, I feel the link will show you clearly what needs done. The directions and pictures I attach will show your vehicle specifically. That way you can easily identify parts.

Here is the link:

https://www.2carpros.com/articles/brake-caliper-replacement

______________

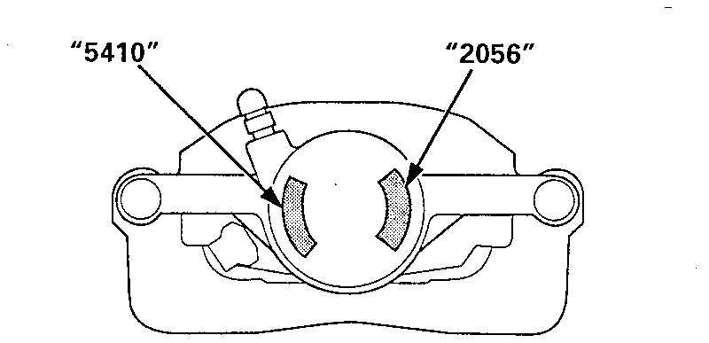
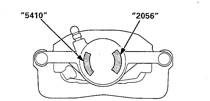
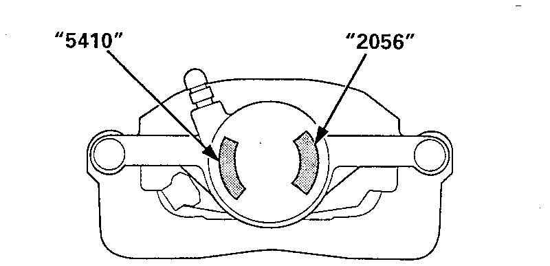
With that in mind, there are two different calipers which could be used on your vehicle. The first picture I attached shows how to identify which one you have. It will either be caliper 2056 or caliper 5410.

_____________________

Here are the directions for 2056 (Pictures 2-4)


TYPE 2056
Front Brake Calipers
i
NOTE: There are two types of front brake calipers:
The caliper types can be identified by the "5410" or "2056" stamped on the caliper body as shown. Check the type of the brake caliper before servicing.

WARNING:
- Never use an air hose or dry brush to clean brake assemblies.
- Use an OSHA approved vacuum cleaner to avoid breathing brake dust.

CAUTION:
- Do not spill brake fluid on the vehicle; it may damage the paint; if brake fluid does contact the paint, wash it off immediately with water.
- To prevent spills, cover the hose joints with rags or shop towels.
- Clean all parts in brake fluid and air dry; blow out all passages with compressed air.
1. Remove the banjo bolt, and disconnect the brake hose from the caliber.
2. Remove caliper bolt B. pivot the caliper up out of the way, then remove the caliper from the bracket.
3. Remove the guide pin boot from sleeve A on the caliper bracket.
4. Remove the pin boot, sleeve B and sleeve boot from the caliber body.


Install is reverse of removal.

______________________________

Here are the directions for the 5410 (pictures 5 and 6)

TYPE 5410
Front Brake Calipers
imageOpen In New TabZoom/Print


NOTE: There are two types of front brake calipers:
The caliper types can be identified by the "5410" or "2056" stamped on the caliper body as shown. Check the type of the brake caliper before servicing.

WARNING:
- Never use an air hose or dry brush to clean brake assemblies.
- Use an OSHA approved vacuum cleaner to avoid breathing brake dust.

CAUTION:
- Do not spill brake fluid on the vehicle; it may damage the paint; if brake fluid does contact the paint, wash it off immediately with water.
- To prevent spills, cover the hose joints with rags or shop towels.
- Clean all parts in brake fluid and air dry; blow out all passages with compressed air.
1. Remove the banjo bolt, and disconnect the brake hose from the caliper.
2. Remove the caliper bolts, then remove the caliper from the bracket.
3. Remove the caliper pins and pin boots from the caliper bracket.

Install is reverse or removal

_____________

I hope this is helpful. The bleeding procedures provided in the link pertains to either of these calipers. If you need help, do not be afraid to ask.

Take care,
Joe
Mar 16, 2021 at 11:04 AM
Avatar
ALEX19899
  • MEMBER
  • 171 POSTS
When removing the caliper from the bracelet should it be tight or slide right off?
Mar 16, 2021 at 11:04 AM
Advertisement
Avatar
JACOBANDNICKOLAS
  • CERTIFIED EXPERT
  • 110,175 POSTS
Once the caliper bolts are removed, I always put a long handled screw driver between the worn pads and rotor and apply enough pressure to allow the caliper piston to move inward a bit. Other wise, the brakes will still be tight against the rotor making it very difficult to remove the caliper. Since you are replacing the caliper, I do not know if it is locked up. It may require a bit more pressure to loosen things.

Let me know if you have other questions.

Joe
Mar 16, 2021 at 11:04 AM
Avatar
ALEX19899
  • MEMBER
  • 171 POSTS
The brakes are making a grinding noise I already replace the brakes and rotors. And the caliper just slides right now. What would the reason that is not any pressure between the caliper and brake pads?
Mar 16, 2021 at 11:04 AM
Avatar
ALEX19899
  • MEMBER
  • 171 POSTS
Right off*
Mar 16, 2021 at 11:04 AM
Avatar
ALEX19899
  • MEMBER
  • 171 POSTS
Here is a picture of the rotor:
Mar 16, 2021 at 11:04 AM
Avatar
JACOBANDNICKOLAS
  • CERTIFIED EXPERT
  • 110,175 POSTS
Did you bleed the caliper? When you apply the brakes, does the vehicle pull to one side?
Mar 16, 2021 at 11:04 AM
Avatar
ALEX19899
  • MEMBER
  • 171 POSTS
I have not replace the caliper yet, but when I was driving it yesterday it pulled to one side with a grinding sound coming from that side.
Mar 16, 2021 at 11:04 AM
Avatar
JACOBANDNICKOLAS
  • CERTIFIED EXPERT
  • 110,175 POSTS
If it is pulling, I feel confident that one of the calipers is not working. The picture you attached appears to be an unused rotor. If you have driven, it should show some indication of the pads rubbing on it. As far as the noise and the pull to that side, think about it. If that is the only caliper working, the other side continues free wheeling where as the opposite side is braking. It will pull to that side because it is working.

Let me know if this makes sense or if you have other questions. I will be here.

Take care,
Joe
Mar 16, 2021 at 11:04 AM