When replacing I touched the two wires to blower and saw sparks

1999 ACURA TL
222,000 MILES • 3.2L • V6 • 2WD • AUTOMATIC
Avatar
CHRISLACKES
  • MEMBER
  • 1 POST
When replacing I touched the two wires to blower and saw sparks. Dumb me did not unhook battery. Finished replacing blower motor and pigtail now still does not work. No blown fuses and relay clicks. Spliced the wires with wire nuts and electric tape I am stumped do not have meter to test. Everything worked fine then one day nothing. Did my research saw the melts pigtail to blower and replaced both pigtail and blower motor now nothing. I replaced fuses and pigtail and blower motor and still nothing
Aug 13, 2018 at 4:18 PM
Advertisement
Avatar
STRAILER
  • CERTIFIED EXPERT
  • 53,854 POSTS
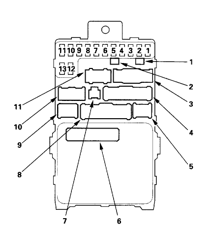
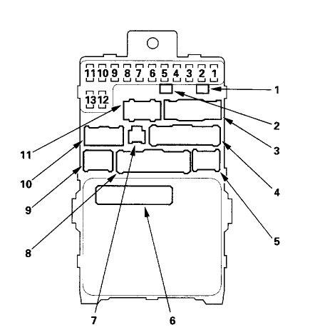
Even though the relay clicks it can still be bad. Here is a guide and the wiring diagrams to help you confirm the problem and see how the system works:

https://www.2carpros.com/articles/how-to-check-an-electrical-relay-and-wiring-control-circuit

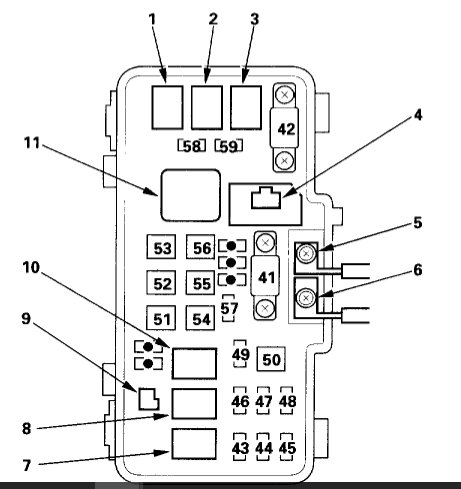
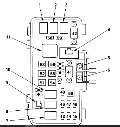
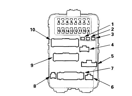
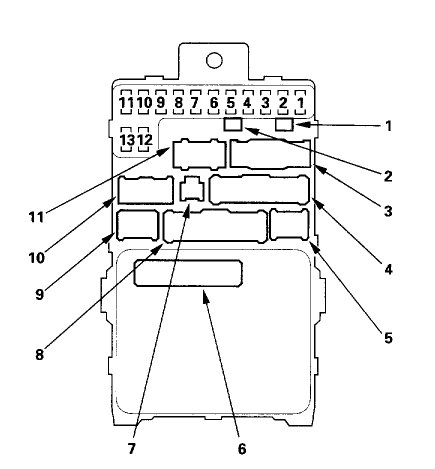
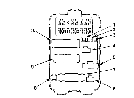
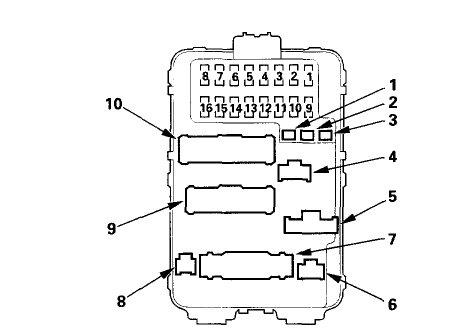
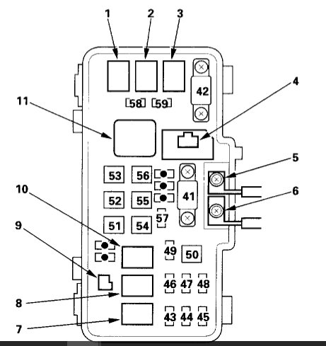
Also check the #56 fuse 40 amp. Check out the diagrams (below). Please let us know what happens.

Cheers, Ken
Apr 26, 2021 at 12:11 PM