Bleeding brakes

2003 HYUNDAI SANTA FE
145,000 MILES • 2.7L • 4WD • AUTOMATIC
Avatar
MIKEY41
  • MEMBER
  • 1 POST
What order do I bleed my brakes in my car listed above?
Aug 10, 2019 at 8:44 PM
Advertisement
Avatar
JACOBANDNICKOLAS
  • CERTIFIED EXPERT
  • 110,175 POSTS
Welcome to 2CarPros.

Here is a video and guide below to help you bleed the brake system correctly.

https://youtu.be/w7gUsj2us0U

and

https://www.2carpros.com/articles/how-to-bleed-or-flush-a-car-brake-system

and

https://youtu.be/WDxvEQrMkBg

Please run down these guides and report back.

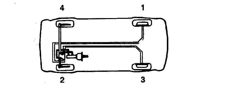
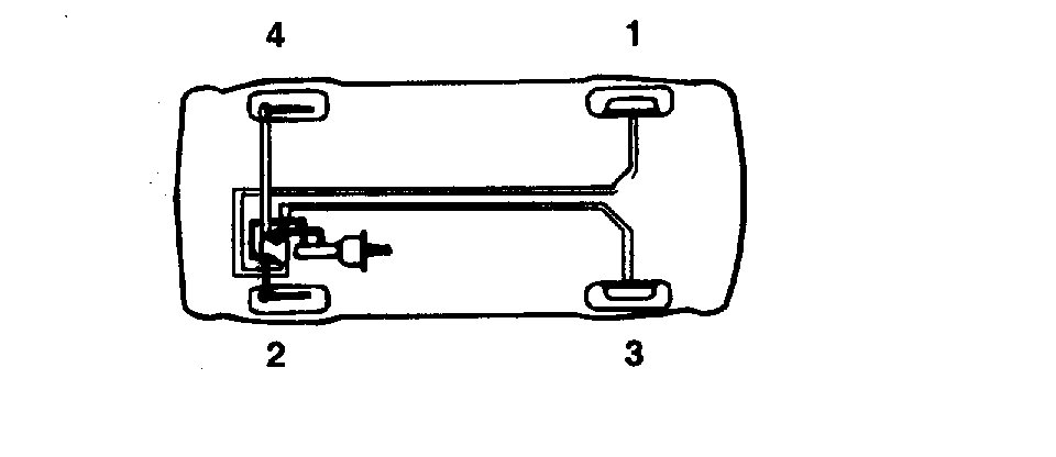
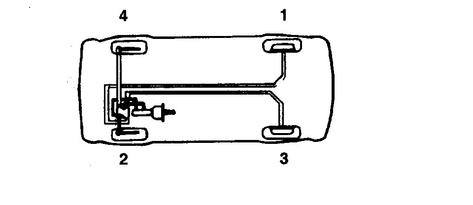
Here are the directions specific to your vehicle. The last picture indicates the sequence.

2003 Hyundai Truck Santa Fe V6-2.7L
Brake System
Vehicle Brakes and Traction Control Hydraulic System Brake Bleeding Service and Repair
BLEEDING THE BRAKE SYSTEM


pic 1


1. Remove the reservoir cap and fill the brake reservoir with brake fluid.

CAUTION: Do not allow brake fluid to remain on a painted surface. Wash it off immediately.

2. Connect a vinyl tube to the wheel cylinder bleeder plug and insert the other end of the tube in a container of brake fluid which is half full.
3. Start the engine.
4. Slowly depress the brake pedal several times.


pic 2


5. While depressing the brake pedal fully, loosen the bleeder plug until fluid runs out. Then close the bleeder screw and release the brake pedal.
6. Repeat steps 4 and 5 until there are no more bubbles in the fluid.
7. Tighten the bleeder plug screw.
Bleeder screw tightening torque: 7 - 9 Nm (70 - 90 kg cm, 5.2 - 6.6 ft. lbs.)


pic 3

8. Repeat the above procedure for each wheel in the sequence shown in the illustration.

___________________

Let me know if this helps.

Take care,
Joe
Aug 10, 2019 at 8:54 PM