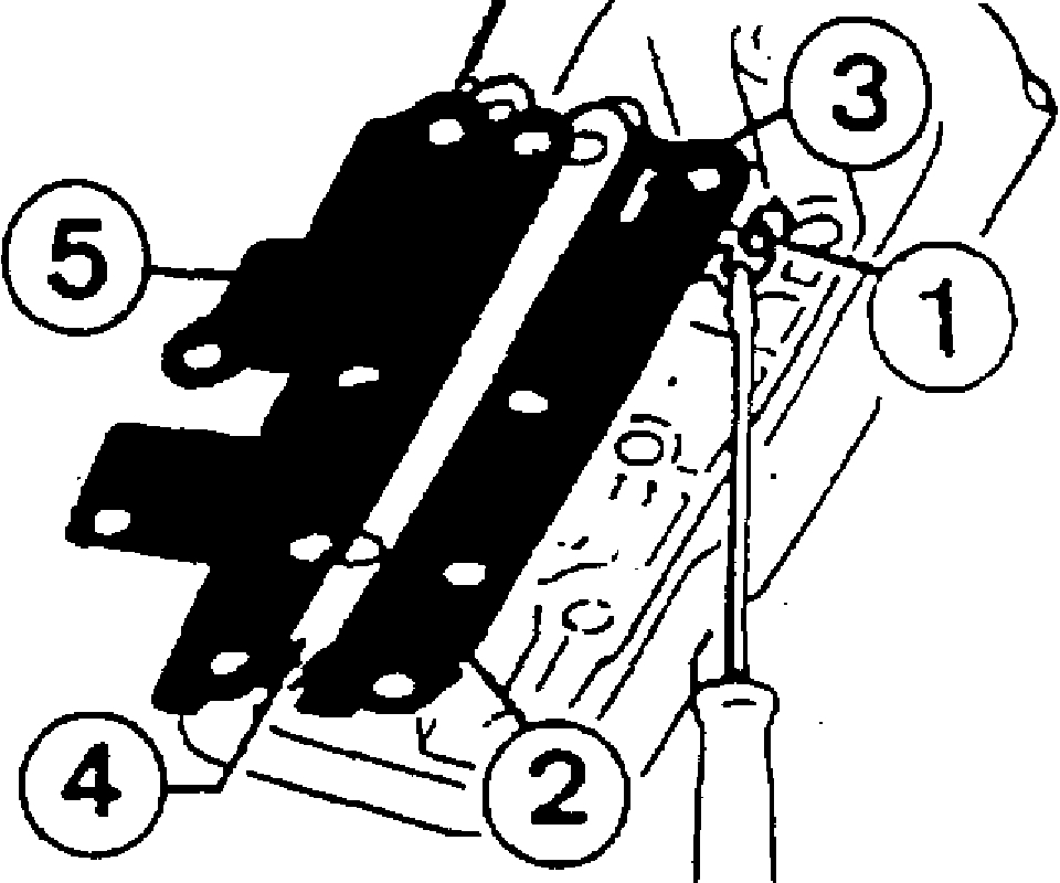
Automatic transmission valve body check balls location

1996 BMW Z3
240,000 MILES • 2WD • AUTOMATIC
Avatar
LARRY NASON
  • MEMBER
  • 48 POSTS
Is there anyway to get a diagram of the check ball locations? Can somebody help me please? I'm desperate.
May 31, 2019 at 9:47 AM
Advertisement
Avatar
STEVE W.
  • CERTIFIED EXPERT
  • 15,113 POSTS
Welcome back. This is what the book shows. 2 check balls in the case and 1 in the transfer case section. The case ball locations are 2 and 3 in image 1, the transfer case is image 2 the check ball is item 1. If you only removed the rear pan then ignore the transfer case ball.
May 31, 2019 at 12:50 PM