Not starting

2007 PONTIAC G5
199,000 MILES • 2.4L • 4 CYL • 2WD • AUTOMATIC
Avatar
JOHN CLARK8
  • MEMBER
  • 17 POSTS
The antitheft come up when i first turn key but is hone after 5 seconds. tried all suggestions still will not start.
Dec 8, 2020 at 1:46 PM
Advertisement
Avatar
ASEMASTER6371
  • CERTIFIED EXPERT
  • 52,796 POSTS
Good evening,

If the light goes out, it is not the security system at all.

https://www.2carpros.com/articles/how-to-reset-a-security-system

I attached a diagram of the starting system for you to view. We need to do some testing at the relay.

https://www.2carpros.com/articles/how-to-check-wiring

https://www.2carpros.com/articles/starter-not-working-repair

https://www.2carpros.com/articles/how-to-check-an-electrical-relay-and-wiring-control-circuit

Roy
Dec 8, 2020 at 3:28 PM
Avatar
JOHN CLARK8
  • MEMBER
  • 17 POSTS
I never saw the light until i hot boost from a truck then light was there. reset it once then when i was tighten battery cable socket touch other terminal and now light is back.
Dec 9, 2020 at 4:06 AM
Advertisement
Avatar
ASEMASTER6371
  • CERTIFIED EXPERT
  • 52,796 POSTS
Check all your fuses with a test light to see if any have failed.

https://www.2carpros.com/articles/how-to-check-a-car-fuse

Hopefully the only damage you did was blow a fuse.

Roy
Dec 9, 2020 at 5:07 AM
Avatar
JOHN CLARK8
  • MEMBER
  • 17 POSTS
What main fuses should i be checking?
Dec 9, 2020 at 8:50 AM
Avatar
ASEMASTER6371
  • CERTIFIED EXPERT
  • 52,796 POSTS
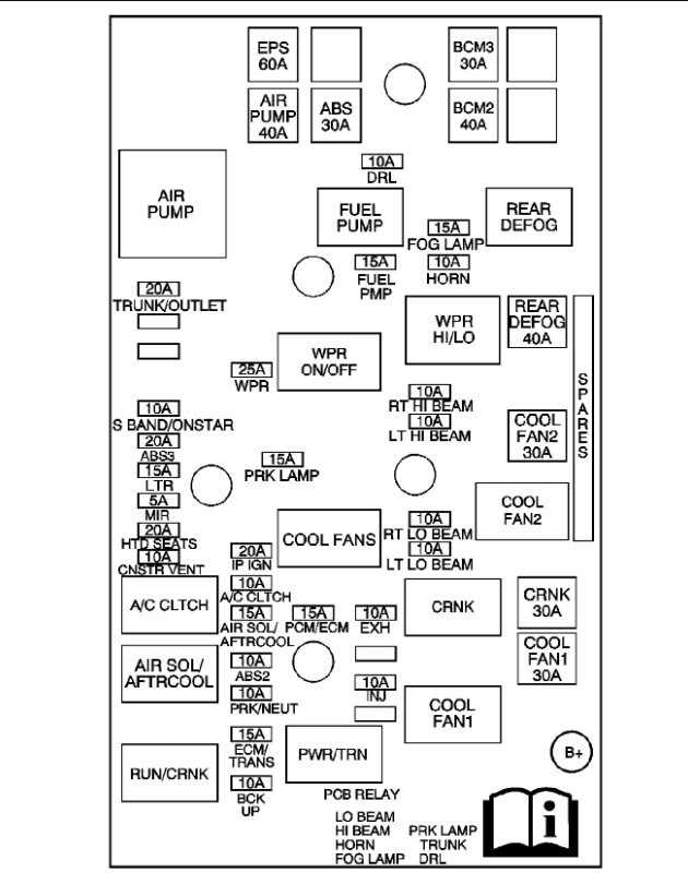
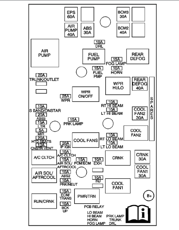
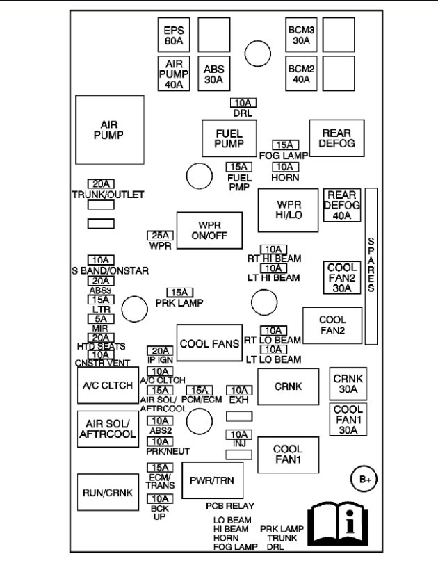
I would check every fuse in the fuse block.

I attached the diagram of the fuse block for you to view.

Roy
Dec 9, 2020 at 3:58 PM
Avatar
JOHN CLARK8
  • MEMBER
  • 17 POSTS
I have another issue with 2005 Jeep Grand Cherokee. i change out the crankshaft sensor and the cam sensor now it cranks but will not start. checked all fuses they are good. Any suggestion?
Dec 11, 2020 at 4:30 AM
Avatar
ASEMASTER6371
  • CERTIFIED EXPERT
  • 52,796 POSTS
We can only deal with one vehicle per question.

Please start a new question and I will be glad to help.

Roy
Dec 11, 2020 at 4:33 AM