Amp relay location

2005 CHEVROLET AVALANCHE
340,000 MILES • 5.3L • V8 • 4WD • AUTOMATIC
Avatar
BROKENTOE
  • MEMBER
  • 33 POSTS
My truck has been having a parasitic draw and I narrowed it down to my amplifier for the stereo. When I unplug it the draw goes away. I am looking to find where the relay would be for the amp I know it is wired direct from fuse box under hood but there is a relay somewhere in between. Could someone tell me where this relay is?
Nov 7, 2020 at 5:30 AM
Advertisement
Avatar
KASEKENNY
  • CERTIFIED EXPERT
  • 18,907 POSTS
Couple questions first, not necessarily to change your direction but more for others that visit this site and may have similar issues. I assume you are monitoring the draw with the meter in line of the negative cable and post? If so, what is the draw? Then what does it drop to when you unplug the amp?

As for the relay, your system does not have a relay for the amp it has a fuse for the B+ feed that I highlighted. The fuse is in the under hood fuse box. However, the fact that the draw goes away when the amp is unplugged, is pointing to the amp as the issue. More then likely it is not shutting off as it is shorted internally. So I would just test the wire from the fuse to the amp for a short to power and if that passes then the amp will most likely need to be replaced.

Let me know what questions you have. Thanks
Nov 7, 2020 at 7:39 AM
Avatar
ASEMASTER6371
  • CERTIFIED EXPERT
  • 52,796 POSTS
Good morning,

No, there is not a relay in the circuit at all. It is direct wire.

https://www.2carpros.com/articles/car-battery-dead-overnight

If you unplugged it and the draw went away, replace the amp.

https://www.2carpros.com/articles/how-to-check-wiring

Roy

1. If equipped with a Bose(TM) amplifier, remove the radio amp fuse located under the hood electrical center.
2. Remove the floor console bezel.
3. Remove the cupholder.
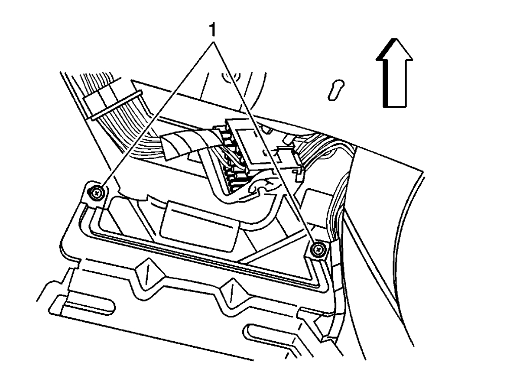
4. Remove the bolts (1) retaining the console to the instrument panel (I/P).
5. Remove the console storage bin.
6. Remove the center console end panel.
7. Disconnect the audio amplifier electrical connectors.


imageOpen In New TabZoom/Print

8. Remove the 4 screws retaining the upper console bracket to the lower console bracket. The front 2 screws (1) are shown in the graphic.


imageOpen In New TabZoom/Print

9. Move both front seats to the fully forward.
10. Reposition the inboard seat track trim (1) in order to gain access to the rear console side panel screw (2).
11. Remove both rear console side panel screws.


imageOpen In New TabZoom/Print

12. Move both front seats to the fully rearward.
13. Remove both front console side panel screws (1).


imageOpen In New TabZoom/Print

14. Disconnect the floor console electrical connector.
15. Remove the console assembly from the vehicle.
16. Remove the audio amplifier screws (1).
17. Remove the audio amplifier from the vehicle.
Nov 7, 2020 at 7:49 AM
Advertisement
Avatar
BROKENTOE
  • MEMBER
  • 33 POSTS
I went to the dealership yesterday and got a wiring schematic for my system. In there I did see there is a relay between the fuse and the amp. It is not the amp itself because I had already replaced that. I did do a parasitic draw test which was .665 amps. When I pulled the stereo/amp fuse the draw went away and dropped to .050 amps. I then tried disconnecting the amplifier and the draw went away. Same results. The amp has its own power supply as does the radio. The amplifier from what I see in the schematics that I got does have a relay. I had already replaced the amp. Still the same draw.
Nov 7, 2020 at 7:56 AM
Avatar
ASEMASTER6371
  • CERTIFIED EXPERT
  • 52,796 POSTS
Did you use a new amp? If your draw went away when you disconnected it, it only leaves the amp.

Roy
Nov 7, 2020 at 8:06 AM
Avatar
BROKENTOE
  • MEMBER
  • 33 POSTS
I just disconnected the amp again and tested at the connector with the main power wire. With everything suppose to be asleep there is still power running to the amplifier. There shouldn't be I don't think. There must be a relay to interrupt that power. My schematic says there is. I don't think a replacement amp that was tested before sold to me would not have the same problem.
Nov 7, 2020 at 9:17 AM
Avatar
ASEMASTER6371
  • CERTIFIED EXPERT
  • 52,796 POSTS
There is supposed to be power. Voltage is sent from the fuse. That is normal.

Voltage does not cause a drain, current draw causes the drain. You can have voltage present with no current flow.

Roy
Nov 7, 2020 at 9:39 AM
Avatar
BROKENTOE
  • MEMBER
  • 33 POSTS
Well, I have current going to the amp. With everything off and asleep. Which will give it power. Which will cause a draw because it is being powered. How? Something has to turn this power off besides pulling the fuse. There is no reason for an amp to continue having power after the vehicle is off.
Nov 7, 2020 at 10:08 AM
Avatar
ASEMASTER6371
  • CERTIFIED EXPERT
  • 52,796 POSTS
No, the draw is internal not from the supply voltage provided.

As I stated, power is provided with the key off. The current draw is from the internal circuits in the amp.

Roy
Nov 7, 2020 at 10:21 AM
Avatar
BROKENTOE
  • MEMBER
  • 33 POSTS
I do not think there should be power there. With key off and everything asleep. Even if there was there wouldn't or shouldn't be to cause this much of a draw but at a bare minimal. A replacement amp that was tested should not have same issue. I am not going out to buy yet another amp because I know I will only get the same results. I do have a wire schematic for this system and it does show there is a relay somewhere along the way. It must be somewhere under the dash or something. I pulled the radio out the other day and had seen a relay tucked in behind there. Don't know what it is for but. There are relays other than in the fuse box locations. My wire diagram says there is one.
Nov 7, 2020 at 10:49 AM
Avatar
ASEMASTER6371
  • CERTIFIED EXPERT
  • 52,796 POSTS
I sent you the correct diagram for your car.

I am sorry you do not understand electronics when it comes to modules but that is the way it is.

Think of a toilet bowl. You have 45 pounds of water pressure to the tank. That pressure is voltage and always there.

The current flow is the flow of water in the tank. With the valve closed, there is no flow but you still have pressure.

Roy
Nov 7, 2020 at 10:57 AM
Avatar
BROKENTOE
  • MEMBER
  • 33 POSTS
The wiring diagrams you sent me does not show the wire going from the amp to the 30 amp fuse. Don't other modules have a relay in their circuit?
Nov 7, 2020 at 11:14 AM
Avatar
ASEMASTER6371
  • CERTIFIED EXPERT
  • 52,796 POSTS
No, they are direct wired from the fuse box.

Roy
Nov 7, 2020 at 12:41 PM
Avatar
BROKENTOE
  • MEMBER
  • 33 POSTS
Oh, so a module for ABS, door locks, body control module, and other modules are all hard wired other than a little fuse. Okay, I get it.
Nov 7, 2020 at 12:46 PM
Avatar
BROKENTOE
  • MEMBER
  • 33 POSTS
I just got off the phone and was talking to someone from General Motors. They told me there is a relay in this circuit.
Nov 7, 2020 at 1:43 PM
Avatar
ASEMASTER6371
  • CERTIFIED EXPERT
  • 52,796 POSTS
Okay, all I am doing is going my the diagram for the car information you gave me.

I hope you find your issue.

Roy
Nov 7, 2020 at 1:47 PM