Replacing TCC solenoid valve

1998 SATURN SEDAN
100,000 MILES • 1.9L • 4 CYL • 2WD • AUTOMATIC
Avatar
FROGONALOG
  • MEMBER
  • 2 POSTS
I am looking at all five solenoids but which one is the right one to remove?
Nov 27, 2018 at 11:37 AM
Advertisement
Avatar
JACOBANDNICKOLAS
  • CERTIFIED EXPERT
  • 110,175 POSTS
Hi and thanks for using 2CarPros.

Here are the directions for replacing shift solenoids and the TCC solenoid. Location is indicated in the directions.
___________________________________

Control Valve Solenoid Replacement

Removal Procedure

Important: Only remove the valvebody cover. The valvebody DOES NOT have to be removed from the transaxle to gain access to the solenoids.


1. Remove the valvebody cover. Refer to: See: Valve Body, A/T > Procedures > Valvebody Cover Replacement
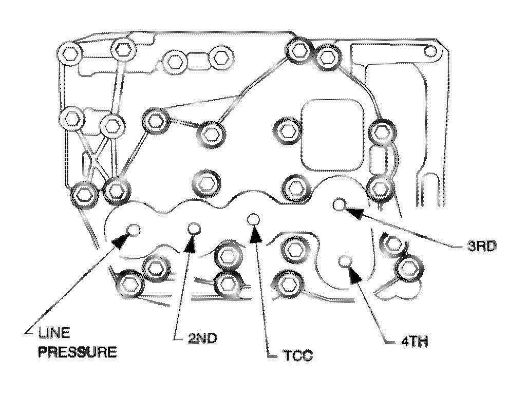
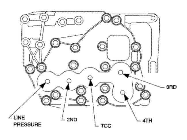
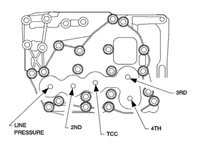
2. Remove the solenoid cover-to-valvebody bolts, identified by the heavy circles, and remove solenoid cover. The solenoids are identified below:
- The pressure control solenoid
- The shift solenoid 2
- The TCC solenoid
- The shift solenoid 4
- The shift solenoid 3


3. Lift the solenoid connector plate off the solenoid pins using care not to damage the connector plate.

Important: Note the position of the solenoid valves before removing.

4. Remove the solenoid by twisting as the solenoid is removed.

Installation Procedure

1. Lube the solenoid O-rings.
2. Install the solenoids with a twisting motion.
3. Check the connector plate terminals with a #43 (2.25 mm) drill bit. There should be a slight drag on the shank. If there is no drag replace the connector plate.
4. Align the solenoid pins to the connector plate.

5. Install the connector plate.
6. Install the solenoid cover.

Important: Clean and lubricate the fasteners with Saturn Transaxle Fluid. Wipe off excess fluid.

Important: The dowel bolts must be placed in the holes shown to align the upper valvebody to the lower valvebody. The solenoids are identified below.

7. Install the solenoid cover bolts and finger tighten.
- The pressure control solenoid
- The shift solenoid 2
- The TCC solenoid
- The shift Solenoid 4
- The shift Solenoid 3

Notice: Use the correct fastener in the correct location. Replacement fasteners must be the correct part number for that application. Fasteners requiring replacement or fasteners requiring the use of thread locking compound or sealant are identified in the service procedure. Do not use paints, lubricants, or corrosion inhibitors on fasteners or fastener joint surfaces unless specified. These coatings affect fastener torque and joint clamping force and may damage the fastener. Use the correct tightening sequence and specifications when installing fasteners in order to avoid damage to parts and systems.

Notice: Over-torqueing bolts can cause valves to bind.

8. Torque the solenoid cover bolts using the torque sequence shown in illustration.

Tighten
Tighten the valvebody assembly bolts to 11 Nm (8 lb ft)

Important: Using the Saturn Service Stall (SSS) system, reset the adapters before driving the vehicle if the pressure control solenoid was replaced.

9. Install the valvebody cover. Refer to: See: Valve Body, A/T > Procedures > Valvebody Cover Replacement

_________________________________

:Let me know if this helps.

Take care,
Joe
Nov 27, 2018 at 7:13 PM
Avatar
FROGONALOG
  • MEMBER
  • 2 POSTS
This was the best information. Every thing went together smoothly.
Thank you! David T.
Nov 27, 2018 at 8:03 PM
Advertisement
Avatar
JACOBANDNICKOLAS
  • CERTIFIED EXPERT
  • 110,175 POSTS
David,

I am glad it helped, and you are very welcome. I am glad you got it back together and working. Please feel free in the future to ask any question that comes up. That is why we are here.

Take care and have a great holiday season.

Joe
Nov 27, 2018 at 8:33 PM