Hi,
Airflow directions are controlled by the mode door actuator. Chances are the actuator is bad.
First, take a look through this link:
https://www.2carpros.com/articles/air-vents-stay-in-the-defrost-position
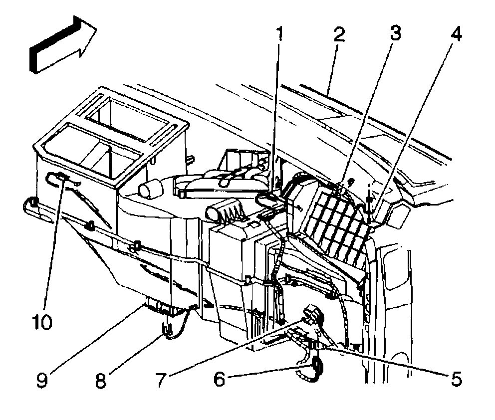
The mode door actuator is located under the dash near the center. Here are the directions specific to your vehicle for replacement. The pics below correlate with the directions.
________________________________
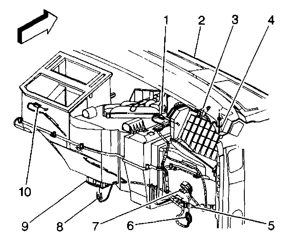
2000 GMC Truck C 1500 Truck 2WD V8-5.3L VIN T
Mode Actuator Replacement
Vehicle Heating and Air Conditioning Air Door Actuator / Motor Service and Repair Procedures HVAC System - Manual Mode Actuator Replacement
MODE ACTUATOR REPLACEMENT
REMOVAL PROCEDURE
pic 1
1. Remove the floor air outlet duct extension (1) from the floor duct (2).
pic 2
2. Disconnect the electrical connection at the mode actuator (10).
pic 3
3. Remove the mode actuator mounting screws from the HVAC module.
4. Remove the mode actuator as an assembly with the actuator cam.
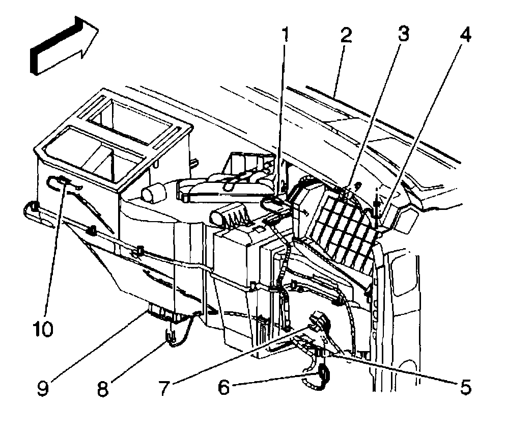
INSTALLATION PROCEDURE
pic 4
1. Install the mode actuator as an assembly with the actuator cam.
- Line up the heater/defroster valve lever with the mode actuator cam slot.
- Line up the A/C valve lever with the mode actuator cam.
NOTE: Refer to Fastener Notice in Service Precautions.
2. Install the mode actuator mounting screw to the HVAC module.
Tighten
Tighten the mode actuator mounting screw to 1.6 N.m (14 lb in).
pic 5
3. Connect the electrical connection at the mode actuator (10).
pic 6
4. Install the floor air outlet duct extension (1) to the floor air duct (2).
_________________________
I hope this helps. Let me know if you have other questions.
Take care and God Bless,
Joe
Images (Click to enlarge)
Mar 3, 2021 at 9:05 PM