What is the AC Voltage that should read from the Pickup coil when I try to start the engine?

1995 CHEVROLET VAN
100,000 MILES • 5.7L • V8 • 2WD • AUTOMATIC
Avatar
THEBIGFATPIG
  • MEMBER
  • 2 POSTS
My Voltmeter shows around .185 AC max when I connect to the Pick Up coil.
Oct 11, 2023 at 6:05 PM
Advertisement
Avatar
JACOBANDNICKOLAS
  • CERTIFIED EXPERT
  • 110,175 POSTS
Hi,

Are you checking with the multimeter on AC or DC? The voltage should be a DC type.

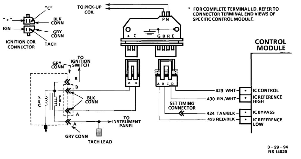
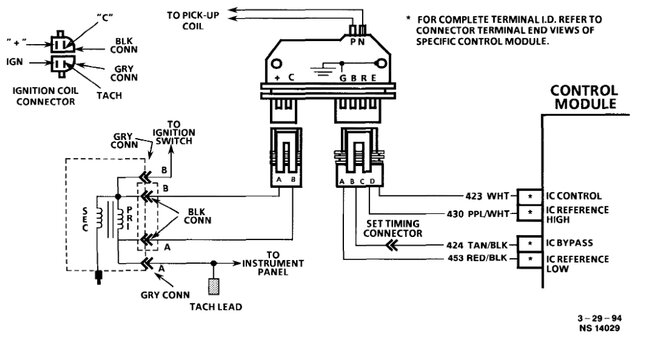
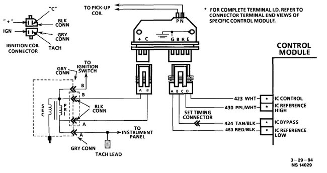
I attached the diagnostics for the ignition system below. Take a look through them and let me know if you are comfortable performing them and if they help.

Take care,

joe

See pics below.
Oct 11, 2023 at 9:15 PM
Avatar
THEBIGFATPIG
  • MEMBER
  • 2 POSTS
The pick up coil does produce a small AC current that the ICU reads so that it can command the primary coil to spark. This AC sine current varies, going higher with increased speed of the rotation of the distributor shaft. I am trying to get a sine wave reading from my new $70 picoscope. Just trying to figure how this all works. Ordered a new Delphi distributor but would like to know why the old one went bad. I think the magnets on the distributor shaft became less magnetized with time. Thanks for your help.
Oct 12, 2023 at 7:42 PM
Advertisement
Avatar
JACOBANDNICKOLAS
  • CERTIFIED EXPERT
  • 110,175 POSTS
Hi,

The magnets may have weakened over time, but there are also wires that break down. I've seen wire issues that break down under the insulation, so you don't even see it.

Regardless, let me know how things work out for you.

Take care,

Joe
Oct 12, 2023 at 8:49 PM