The high side is too low as well.
With the ambient temperature of 73, it should be around 155-160 pounds. The formula is 2 times ambient temp plus 15%.
You need an expansion valve and a dryer.
the dryer is on the condenser. At the bottom of the drivers side of the condenser, there is a cap you remove to access the bag. You just replace the bag and the o-ring for the cap.
https://www.2carpros.com/articles/re-charge-an-air-conditioner-system
Roy
HEATING AND COOLING UNIT ASSEMBLY
EXPANSION VALVE : Removal and Installation
REMOVAL
1.Discharge the refrigerant. Refer to "Recycle Refrigerant" See: Refrigerant > Procedures > Recycle Refrigerant.
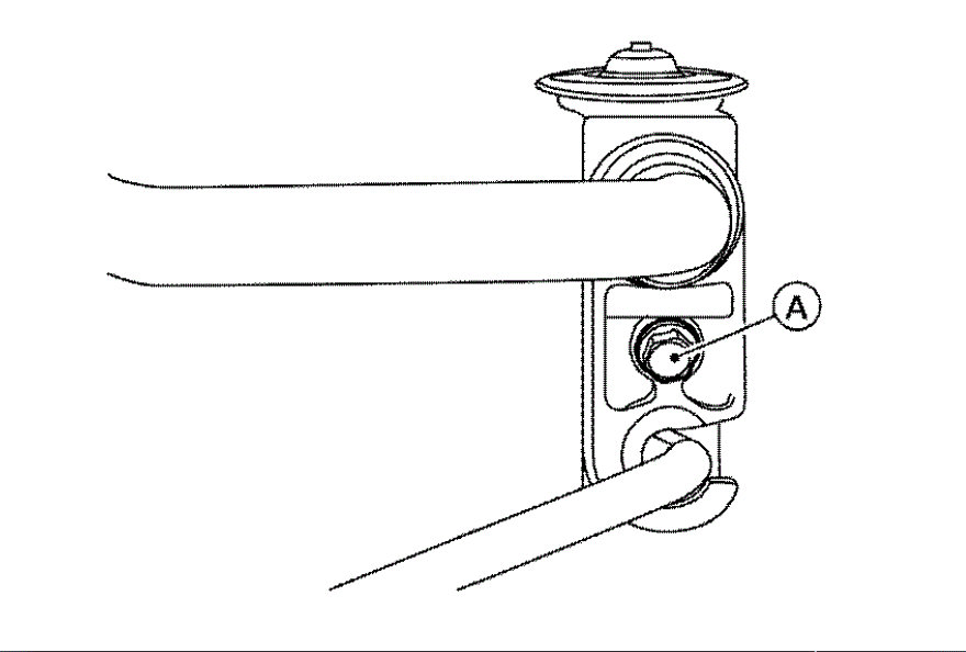
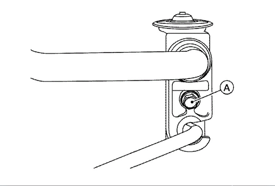
2.Remove the push nut (A) from the expansion valve insulator (1)
and reposition.
imageOpen In New TabZoom/Print
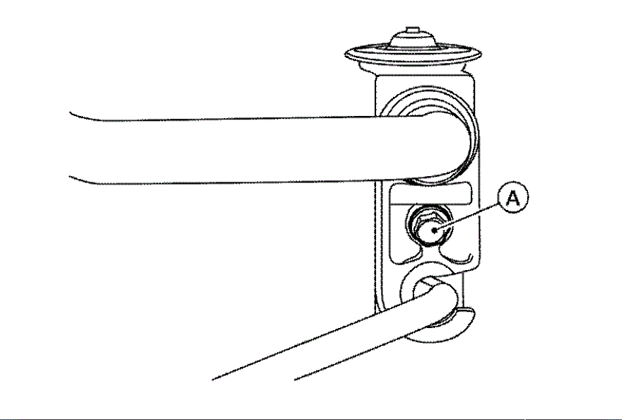
3.Remove the bolt (A) that retains the low-pressure flexible hose and high-pressure pipe to the expansion valve.
imageOpen In New TabZoom/Print
4.Disconnect the low-pressure pipe and high-pressure pipe from the expansion valve.
5.Remove the expansion valve bolts.
6.Remove the expansion valve.
INSTALLATION
Installation is in the reverse order of removal.
CAUTION:
Do not reuse O-rings.
Apply A/C oil to the new expansion valve O-rings for installation.
After charging refrigerant, check for leaks. Refer to "Leak Test" See: Refrigerant > Procedures > Leak Test.
Images (Click to enlarge)
Aug 6, 2020 at 5:47 AM