ABS module replacement

2001 GMC SIERRA
215,000 MILES • 5.3L • V8 • 2WD • AUTOMATIC
Avatar
KENNY BYRD
  • MEMBER
  • 1 POST
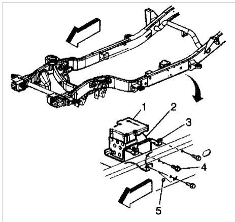
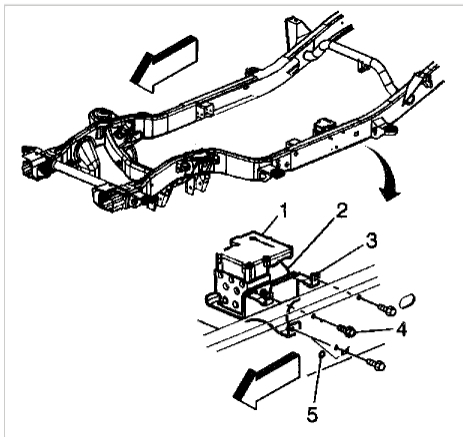
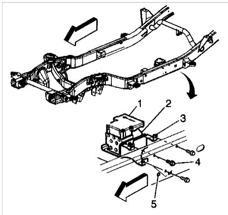
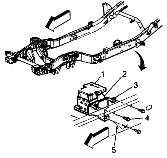
I have seen your video on YouTube how to remove an ABS module. As you can see from the picture. Any help would be appreciated. Thanks!
Apr 7, 2017 at 3:17 PM
Advertisement
Avatar
DANNY L
  • CERTIFIED EXPERT
  • 5,648 POSTS
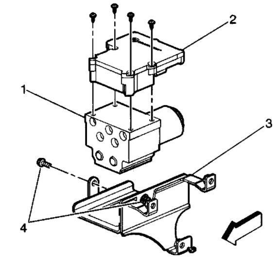
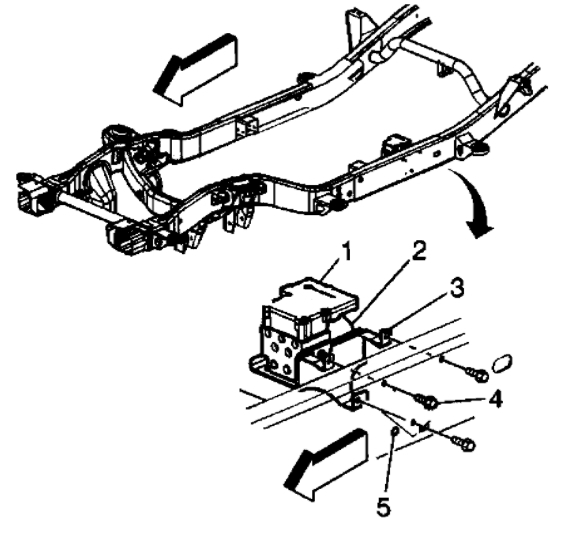
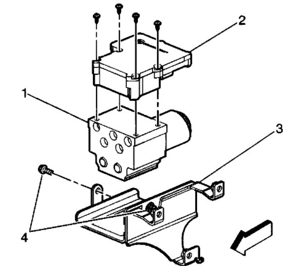
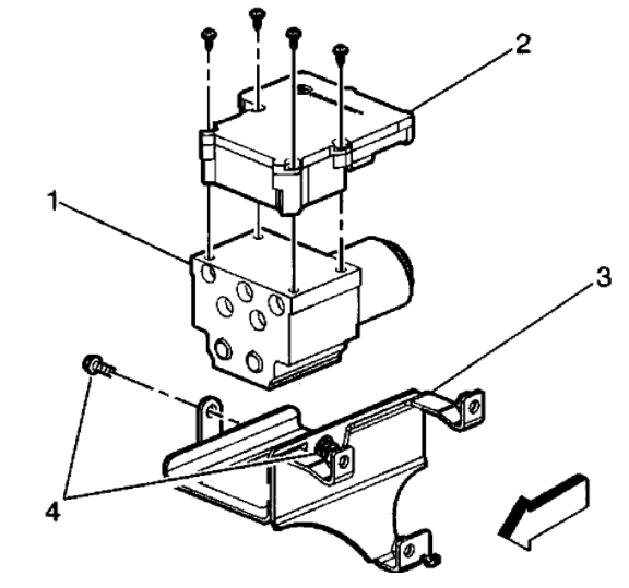
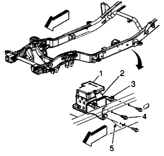
Here is the information you requested. I've attached picture steps below on how to change the ABS hydraulic unit on your car below. I've also attached brake bleeding steps and here is a tutorial to view as well:

https://www.2carpros.com/articles/how-to-bleed-or-flush-a-car-brake-system

Below are the step by step picture instructions for replacement on your truck. Hope this helps and thanks for using 2CarPros.
Apr 15, 2021 at 8:22 PM