A/C not working blows hot air

2009 TOYOTA CAMRY
55,000 MILES • 2.4L • 4 CYL • 2WD • AUTOMATIC
Avatar
LIONEL9
  • MEMBER
  • 6 POSTS
Static pressure, high and low 80 degrees . Outside air temperature 79 degrees. Car running, high 115 low 65 degrees. At 2,000 RPM's high 125 low 70. After car shut off for 18 minutes high 125 low 90. Dose this indicate a bad TXV or compressor control valve?
Oct 28, 2019 at 2:22 PM
Advertisement
Avatar
ASEMASTER6371
  • CERTIFIED EXPERT
  • 52,796 POSTS
Good afternoon,

I do not understand your numbers.

First static pressures should be equal with the engine off and almost the same pressure as the outside temperature.

Running, the high side should be 2 times ambient air plus 15%.

The low side should be 25-30 solid no matter the temperature.

Can you recheck those values?

Roy
Oct 28, 2019 at 3:49 PM
Avatar
LIONEL9
  • MEMBER
  • 6 POSTS
With the car not used in two day and when manifold gauges were connected (engine off for two days) the high side pressure read 80 psi and the low side read 80 psi, on a 79 degree day. With the engine started, A/C turned on, max cooling set on control and fan set to near max, the high side read 115 psi and the low side read 65 psi at idle. Increasing the engine speed to 2,000 rpm raised the high side to 125 psi and the low side to 70 psi. With the engine off the high and low side pressures still did not equalize after 18 minutes. high was 125 psi and low was 90 psi. High and low hoses all feel warm to the touch.
Oct 28, 2019 at 6:12 PM
Advertisement
Avatar
ASEMASTER6371
  • CERTIFIED EXPERT
  • 52,796 POSTS
Okay.
Oct 28, 2019 at 7:31 PM
Avatar
LIONEL9
  • MEMBER
  • 6 POSTS
Can the problem be in the expansion vale or in the compressor control valve?
Oct 29, 2019 at 2:41 PM
Avatar
ASEMASTER6371
  • CERTIFIED EXPERT
  • 52,796 POSTS
As I stated, yes, the expansion valve and the dryer need to be changed.

There is no compressor control valve.

Roy
Oct 29, 2019 at 2:45 PM
Avatar
LIONEL9
  • MEMBER
  • 6 POSTS
Hi Roy, my car has a clutch less compressor (does not cycle on and off) it uses a internal control valve to very output PSI. I am not sure if it could cause the pressure readings I am getting if it is acting up.
Oct 29, 2019 at 3:00 PM
Avatar
ASEMASTER6371
  • CERTIFIED EXPERT
  • 52,796 POSTS
No, it would not.

Besides, the expansion valve is not controlled by the compressor.

Roy
Oct 29, 2019 at 4:06 PM
Avatar
LIONEL9
  • MEMBER
  • 6 POSTS
HI Roy, I get that the expansion valve if failed open will cause the high pressure side to be low and the low pressure side to be high, because there is not a big enough restriction in the expansion valve to separate the two sides. What I do not understand is when the car was turned off the pressures do not equalize. I watched them for eighteen minuets without dropping. Would not a open expansion valve cause the system to equalize quickly. Can the expansion valve be causing both conditions.
Oct 30, 2019 at 10:17 AM
Avatar
ASEMASTER6371
  • CERTIFIED EXPERT
  • 52,796 POSTS
Yes, the expansion valve is causing both issues. If the pressures do not equalize, the valve is closed.

Roy
Oct 30, 2019 at 12:35 PM
Avatar
LIONEL9
  • MEMBER
  • 6 POSTS
Roy, thank you for your help.
Oct 30, 2019 at 2:23 PM
Avatar
ASEMASTER6371
  • CERTIFIED EXPERT
  • 52,796 POSTS
You are welcome.

Always glad to help.

Roy
Oct 30, 2019 at 2:33 PM
Avatar
SHUN D
  • MEMBER
  • 1 POST
I added one can of freon to my car today. I had the car on and the ac on max before I added the freon. And I also checked the system with a gauge. The gauge read in the blue (slightly on the low end). When I finished I sat in my car and the air stop blowing cold air. so I then checked the compressor and it wasn't coming on. I checked it again and the gauge read slighty in the red. However, can I manually kick on the compressor with the relay switch and blow out any air that maybe accumulated in the compressor? If not, then what would be the next step?
Nov 27, 2020 at 8:26 AM (Merged)
Avatar
CARADIODOC
  • CERTIFIED EXPERT
  • 34,306 POSTS
Hello,

It sounds like the system is over full the high side reading should not be over 325 PSI but to be sure here are two guides to help us find out whats going on.

https://www.2carpros.com/articles/car-air-conditioner-not-working-or-is-weak

and

https://www.2carpros.com/articles/re-charge-an-air-conditioner-system

Please run down these guides and report back.
Nov 27, 2020 at 8:26 AM (Merged)
Avatar
EVERLAST1
  • MEMBER
  • 1 POST
Had to vacuum down and recharge the system to fix it
Nov 27, 2020 at 8:26 AM (Merged)
Avatar
DONNA531
  • MEMBER
  • 4 POSTS
Turned on AC smelled like bug spray, but the smell went away. AC's cold air got weaker. ThenAC not blowing cold air and air not blowing hard as I thought it should. Recharged it with freon. AC blew cold air for 1 month and then back to warm air. Mechanic used sniffer on it, found it was the condenser leaking. Mechanic replaced condenser. Blew cold air for a week or 2 and then back to warm air. Next put dye in system and found specs in a/c vent. Pulled vacuum on system, and the system leaked. Recharged with freon and added stop leak. Took light and glasses and saw stop leak in ac vents. Air blew cool for one day and had a bad chemical smell in car. Back to warm air. Please help.
Nov 27, 2020 at 8:26 AM (Merged)
Avatar
HMAC300
  • CERTIFIED EXPERT
  • 48,601 POSTS
If you saw a/c dye in vents then it is a pretty good thing that your evaporator is shot which will require HVAC unit to come out and probably dash. have a mechanic check for evaporator leak to verify before doing this as it is a big expense.
Nov 27, 2020 at 8:26 AM (Merged)
Avatar
FLEETWIN
  • MEMBER
  • 2 POSTS
I have owned this car since new, and have not been satisfied with the air conditioning. The air conditioning certainly does work, and its performance has been the same since new. I just feel it is not very powerful.
I have returned it to the dealer twice, they checked the AC fluid/freon, said it was full, then checked the air temp coming out of the AC outlets, it was about 50 degreesF on an 80degree day. So, the dealer says the AC is operating as designed, case closed. The dealer also said that the AC should be run all the time in the recirc mode, which doesn't seem correct to me. Admittedly, I know little/nothing about AC theory. I always though the recirc mode was used to quickly cool a hot car, then the system should be switched back to regular mode to circulate some fresh air....
Nonetheless, even in the recirc mode, the system doesn't seem very powerful. I would really be upset if I lived in the hot southern climate. Maybe I am just making an unfair comparison to older cars with powerful systems (70sGM V-8 models).
Do you know if my complaint is common among Camry owners? Like I said, if my system is the norm, people in HOT climates must really be dis-satisfied.
Are there any other tests that can be performed on this system? In other words, yes I saw the 50degree reading on the thermometer stuck in the AC outlet vent...But, how about a temperature test being taken from the back seat?
And finally, do you agree with the dealer's recommendation that the AC be run in the recirc mode all the time?
thanks for your time and advice....Don
Nov 27, 2020 at 8:26 AM (Merged)
Avatar
CARADIODOC
  • CERTIFIED EXPERT
  • 34,306 POSTS
Hi fleetwin. Welcome to the forum. The easiest thing to do is find another similar car and see how it compares. According to two Chrysler trainers from many years ago, AC systems are only intended to lower air temperature 20 degrees. The real comfort comes from the removal of the humidity.

Some systems will have a duct temperature of as low as 40 degres which is actually a bad thing. The humidity condenses and collects on the cold evaporator in the heater box. That moisture runs into a drain pan and drips onto the ground. There are mechanical or electronic controls to slow the flow of refrigerant to prevent the evaporator from getting colder than around 40 degrees because that moisture would freeze into a block of ice and block air flow. The symptom would be real good cooling for a few minutes, then no more cold air from the ducts.

One thing you can check for is excessive frost on one of the hoses under the hood near the firewall. A liquid must absorb a lot of heat to turn into a vapor. It is supposed to evaporate in the, . . . uhm, . . . well, . . . evaporator, hence the name of the part. The point of evaporating is where it gets real cold, and you want that to be inside the car. Two things can cause that to occur in the wrong place. First, if there is not enough charge in the system, the liquid will vaporize in the hose leading to the firewall. Where that occurs you will see water condensation on the hose, or more likely, frost. Some water on the hose is normal because the refrigerant will be much colder that outside air, but a lot of frost is not normal.
Nov 27, 2020 at 8:26 AM (Merged)
Avatar
FLEETWIN
  • MEMBER
  • 2 POSTS
thank you for your reply.. I will look for heavily frosted A/C lines under the hood.. I will also take a ride in another Camry on a hot day.
What do you think of the dealer's recommendation to run the A/C in the re-circulation mode all the time?
Nov 27, 2020 at 8:26 AM (Merged)
Avatar
CARADIODOC
  • CERTIFIED EXPERT
  • 34,306 POSTS
You were correct in your first post. "Recirculate" is meant to quickly cool the interior by blowing previously-cooled air over the evaporator. This will remove humidity rapidly and is the most effective setting when using higher fan speeds. Once the car is cool, the other settings introduce fresh outside air and expel stale air. There is more work to do so slower fan speeds will allow the system to be more effective. You want the air to move slowly so it will stay in contact with the cold evaporator as long as possible. Also, there is a limit to how much heat can be removed in a given amount of time. At higher fan speeds, more air with more BTUs crosses the fins of the evaporator. When the number of BTUs exceeds the capacity, more are not removed so the air temperature remains higher.

caradiodoc
Nov 27, 2020 at 8:26 AM (Merged)
Avatar
WAISUDDIN
  • MEMBER
  • 2 POSTS
Dear Caradiodoc,

I am contacting you from Afghanistan where we haven't got any Toyota Dealer/Service center, and I have got a Toyota Camry 2010, actually its AC was working normal. but a month ago i faced a problem with it. when the car is slow the AC system is not cooling down but when i accelerate the car and the car gets faster it gets cold. I checked with AC repair shop they said the AC system doesn't work i have to replace the system.

i will be much thankful if you kindly please give me some advise.

thanks,
Waisuddin Rahimi
Nov 27, 2020 at 8:26 AM (Merged)
Avatar
SAM1969
  • MEMBER
  • 1 POST
Hi,

My car problem is that my AC controllers on the dash board are not lighting up as well as my AC is not working at all.
Nov 27, 2020 at 8:26 AM (Merged)
Avatar
STEVE W.
  • CERTIFIED EXPERT
  • 15,113 POSTS
Well the first thing to check would be the fuses. There are two in the left dash panel fuse box, A/C fuse 1- 7.5A and A/C fuse2 - 10A , Plus check the 50 amp heater fuse in the fuse box under the hood on the left fender. If those are all good then the next thing to do is test the head unit. Do you have the automatic heater control unit or the manual one?
Nov 27, 2020 at 8:26 AM (Merged)
Avatar
GIOGTVTS
  • MEMBER
  • 5 POSTS
My Toyota Camry is having problems with the left bank vents blowing warm air, while the right bank vents are all blowing cold air
Nov 27, 2020 at 8:27 AM (Merged)
Avatar
KHLOW2008
  • CERTIFIED EXPERT
  • 41,814 POSTS
Such problems are caused by the air mix servomotor or its linkages. Try switching between heater and A/C a few times and note fif the servomotor is running correctly.
Nov 27, 2020 at 8:27 AM (Merged)
Avatar
GIOGTVTS
  • MEMBER
  • 5 POSTS
Thank you for your reply KH Low. I have tried the fix you suggested, but it does not work. My air cond is a manual one (not auto/ temperature control type). Does this type of air cond have Air Mix Servomotor?
Nov 27, 2020 at 8:27 AM (Merged)
Avatar
KHLOW2008
  • CERTIFIED EXPERT
  • 41,814 POSTS
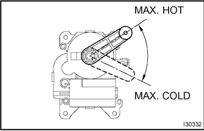
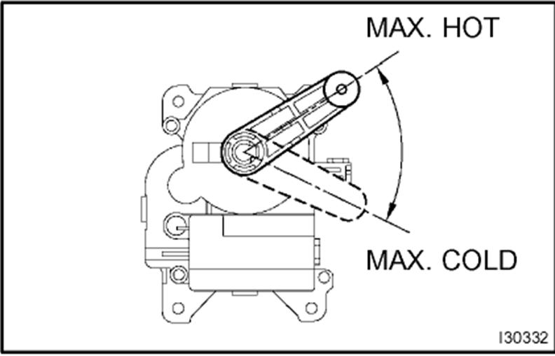
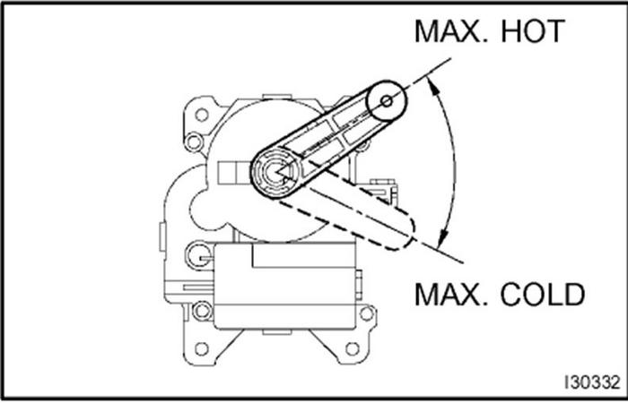
Yes, even the manual system has the servomotor.

Inspect servomotor operation.
1. Connect the positive (+) lead from the battery to terminal 4 and negative (-) lead to terminal 5, then check that the arm turns to "COLD" side smoothly.

2. Connect the positive (+) lead from the battery to terminal 5 and negative (-) lead to terminal 4, then check that the arm turns to "HOT" side smoothly. If operations are not as specified, replace the air mix servomotor.
Nov 27, 2020 at 8:27 AM (Merged)
Avatar
GIOGTVTS
  • MEMBER
  • 5 POSTS
Thank you very much for your help KH Low. Really appreciate it.
Nov 27, 2020 at 8:27 AM (Merged)
Avatar
KHLOW2008
  • CERTIFIED EXPERT
  • 41,814 POSTS
You're welcome.

Have a nice day.
Nov 27, 2020 at 8:27 AM (Merged)
Avatar
MOLLEYANN
  • MEMBER
  • 1 POST
The car had a small amount of cold air coming out of the vents with the AC on, then I put two cans of freon in it and it seems to have no cold air coming out now. Should I put two more cans in or is their a problem somewhere else?
Nov 27, 2020 at 8:28 AM (Merged)
Avatar
CARADIODOC
  • CERTIFIED EXPERT
  • 34,306 POSTS
If just the air volume was low chances are the system is now seriously over-charged. Most systems on newer cars don't even hold two pounds of refrigerant, and two more, if you can even force it in, will likely destroy the compressor. When it's over-charged the liquid turns to vapor and gets cold too far down the line which means under the hood instead of inside the car. If any liquid sloshes into the compressor it will lock up at a minimum and potentially damage it.

There is no way to know how much refrigerant is in the system unless you recover all of it, then pump in a measured amount after drawing it into a vacuum. That's what your mechanic will do to assess the system's performance. If just the air volume is low, that has to do with the fan, a restriction, or mode door actuator not working.
Nov 27, 2020 at 8:28 AM (Merged)