A/C not blowing out cold air

1999 LINCOLN NAVIGATOR
185,456 MILES • 4.6L • V8 • 2WD • AUTOMATIC
Avatar
NANCY DORSCH
  • MEMBER
  • 8 POSTS
Air conditioning not blowing out cold. it has a full Freon charge, fuses are good and I could hear clutch engaged when AC is turned on but still no cold air.
Sep 30, 2017 at 5:54 PM
Advertisement
Avatar
STRAILER
  • CERTIFIED EXPERT
  • 53,854 POSTS
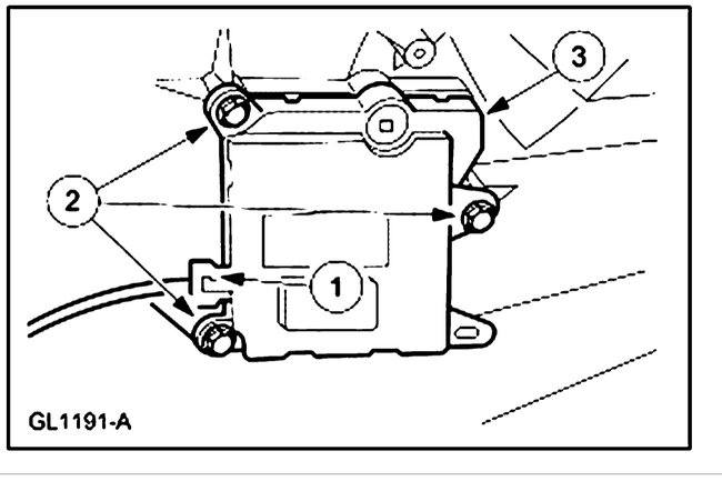
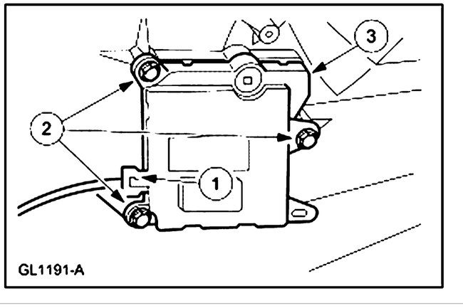
It sounds like you have a temperature blend door actuator that is out which is a common problem with these cars.

Here is a guide to help you see what you are in for when doing the job:

https://www.2carpros.com/articles/replace-blend-door-motor

Here is what it will be like on your car (below:

Please let us know what happens and upload pictures or videos of the problem.

Cheers, Ken
Oct 1, 2017 at 12:32 PM
Avatar
NANCY DORSCH
  • MEMBER
  • 8 POSTS
The reason I do not think that is the problem is because when you put it on heat, heat comes out and it also comes out in every mode. if it is set for defrost it goes to defrost, if it is set to vent, it comes out the vent. everything works the way it should, it just blows out ambient temperature air, not hot.
Oct 1, 2017 at 8:37 PM
Advertisement
Avatar
STRAILER
  • CERTIFIED EXPERT
  • 53,854 POSTS
Okay lets start the engine and turn the A/C on and let it sit for a couple of minutes then grasp the larger of the two A/C lines coming out of the firewall to see if it is cold.

Please let us know what you find.

Cheers, Ken
Oct 2, 2017 at 12:18 PM
Avatar
NANCY DORSCH
  • MEMBER
  • 8 POSTS
Yes it is getting cold at first then it seems like it starts to get less cold, the car does blow out semi cold air when it's under load, at an idle, it's not very cold, (not warm) .
Oct 4, 2017 at 9:25 AM
Avatar
NANCY DORSCH
  • MEMBER
  • 8 POSTS
I meant to specify the line under the hood starts off cold and then eventually gets less cold, the air coming out starts getting a little bit colder under a load, at idle it seems to be less cold( not warm),thanks
Oct 4, 2017 at 9:27 AM
Avatar
STRAILER
  • CERTIFIED EXPERT
  • 53,854 POSTS
It still sounds like the system is low on charge, how did you determine if the system was full?

Here is a guide

https://www.2carpros.com/articles/re-charge-an-air-conditioner-system

this might help us as well

https://www.2carpros.com/articles/car-air-conditioner-not-working-or-is-weak

let me know what you find
Oct 4, 2017 at 12:33 PM
Avatar
NANCY DORSCH
  • MEMBER
  • 8 POSTS
I did it by adding refrigerant out of a little can, with one of those auto parts store gauges that come with the can,, I don't know how accurate they are but it's showing that it's charged maybe slightly overcharged according to the little gauge
Oct 4, 2017 at 5:17 PM
Avatar
STRAILER
  • CERTIFIED EXPERT
  • 53,854 POSTS
It could be which would cause the problem are are describing. You need a full gauge set for this case.

Oct 6, 2017 at 9:40 AM
Avatar
NANCY DORSCH
  • MEMBER
  • 8 POSTS
Do you think it's safe for me to put another small can of 134a in it to see if it gets any colder
? thanks
Oct 6, 2017 at 10:39 AM
Avatar
STRAILER
  • CERTIFIED EXPERT
  • 53,854 POSTS
I wouldn't. If you put to much in you will blow the high pressure valve. You need a gauge set.
Oct 6, 2017 at 11:24 AM
Avatar
NANCY DORSCH
  • MEMBER
  • 8 POSTS
Thanks for the help, I'm talking it to the shop, have them pull a vacuum on the system and check it out
Oct 7, 2017 at 2:38 PM
Avatar
STRAILER
  • CERTIFIED EXPERT
  • 53,854 POSTS
Please let us know what happens so it will help others.

Cheers, Ken
Oct 9, 2017 at 10:20 AM
Avatar
NANCY DORSCH
  • MEMBER
  • 8 POSTS
It was the temperature blend door actuator that was out thank you.
Oct 9, 2017 at 12:05 PM