Hi,
Looking for all technical info about ATC system from 90 Fifth Ave.
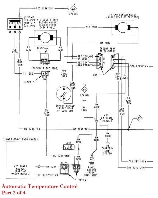
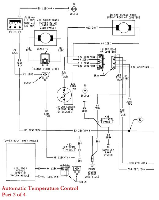
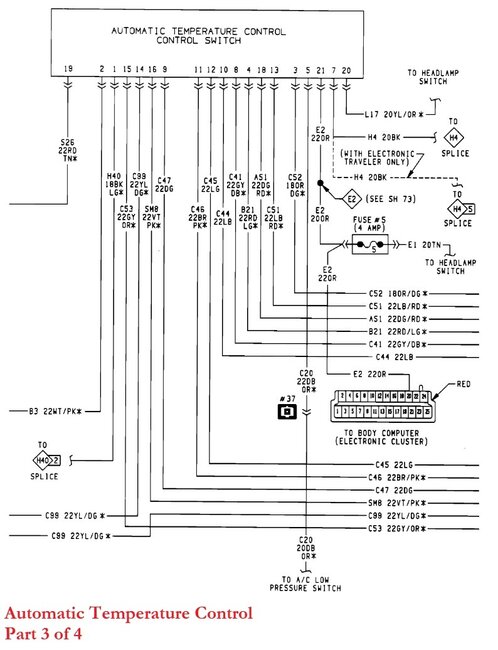
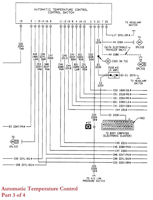
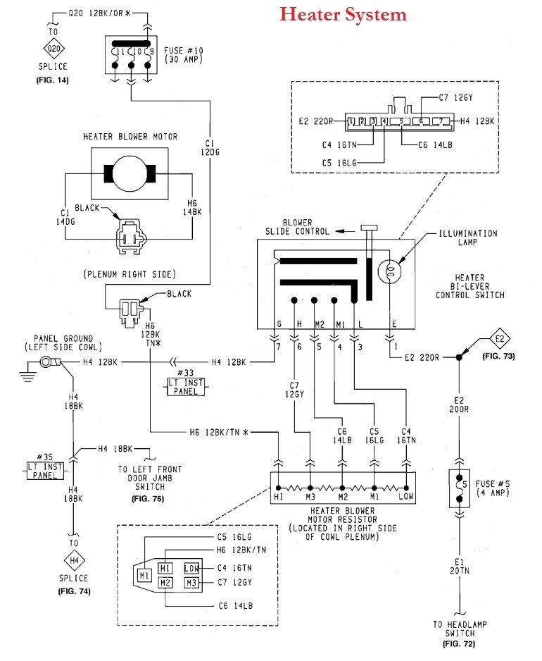
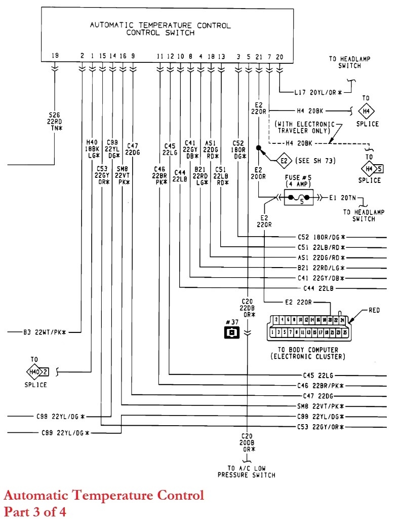
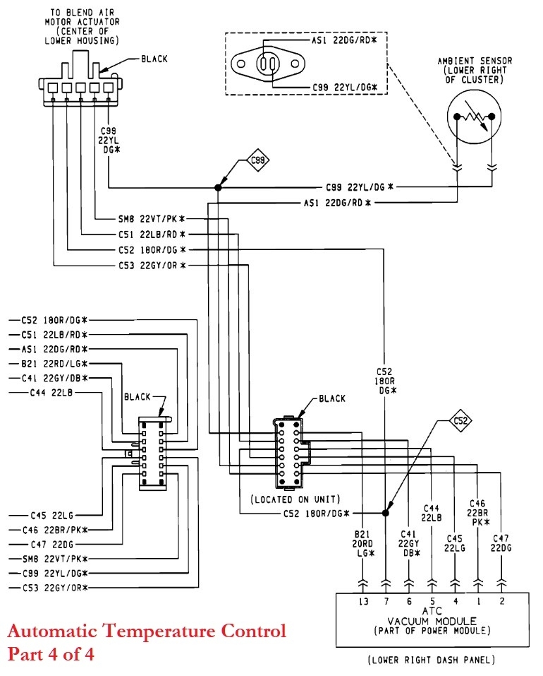
I would like to build that system to other Dodge model, looking for temp sensor parameters, vacuum solenoid pinout etc.
Today I have control panel (ATC control module) , plug with harness which self maked , temperature door servo.
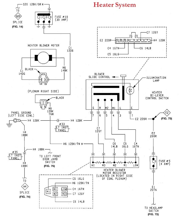
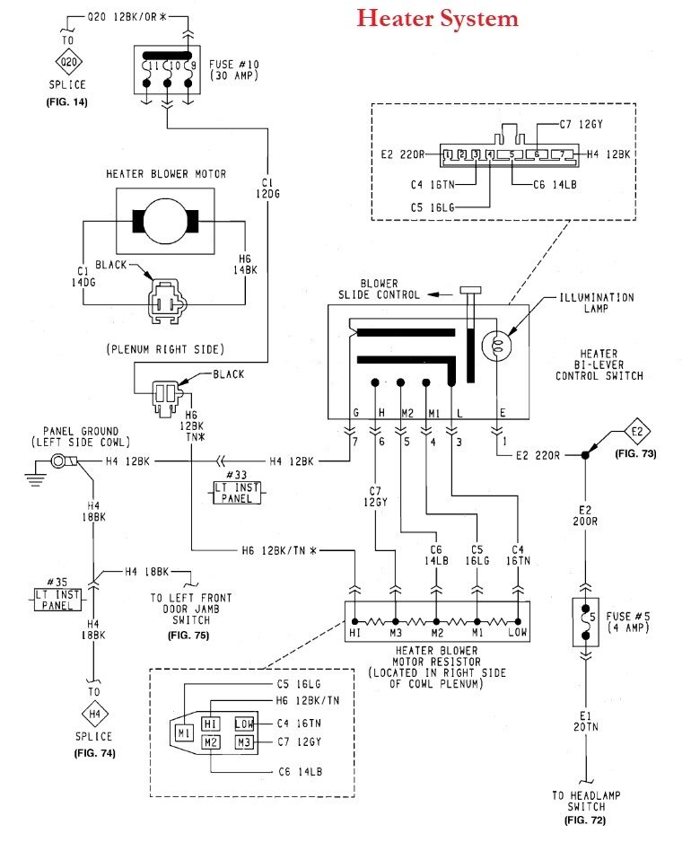
All system wired and connected as i found by logic , controll panel working and reacted for buttons, temperature door servo reacted and working , fan module converted from Jeep - that also working.
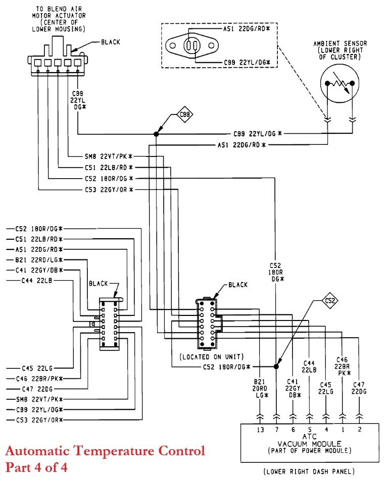
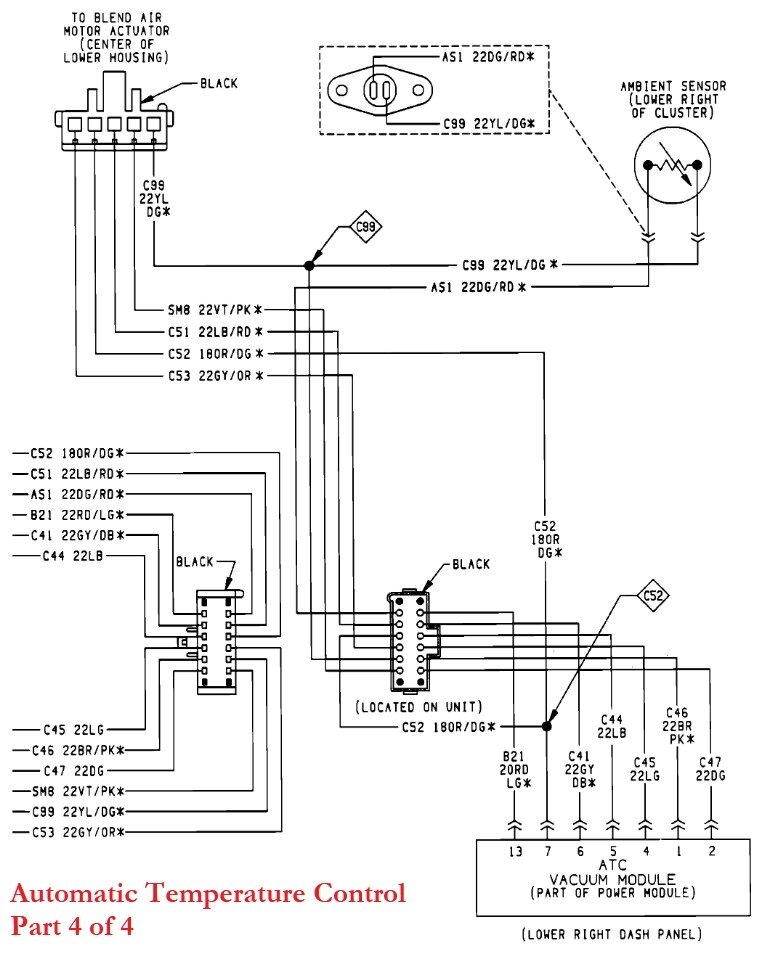
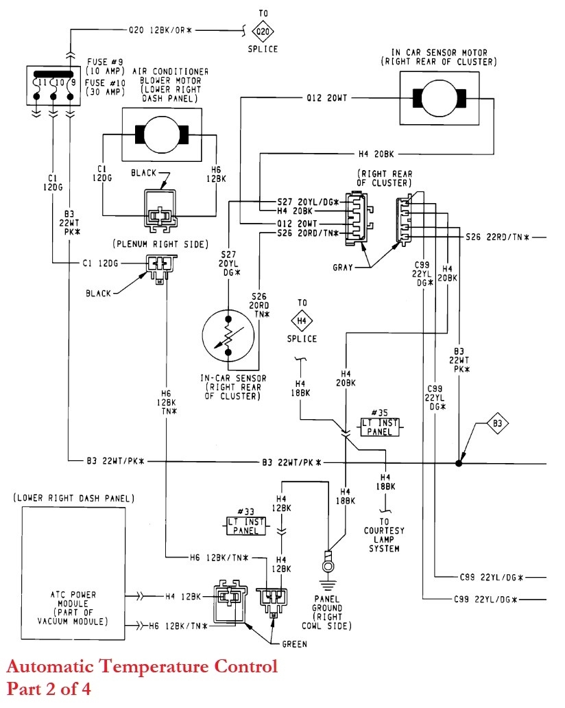
Need to know parameter from temperature sensor on car and more info about outside temperature sensor or switch ?
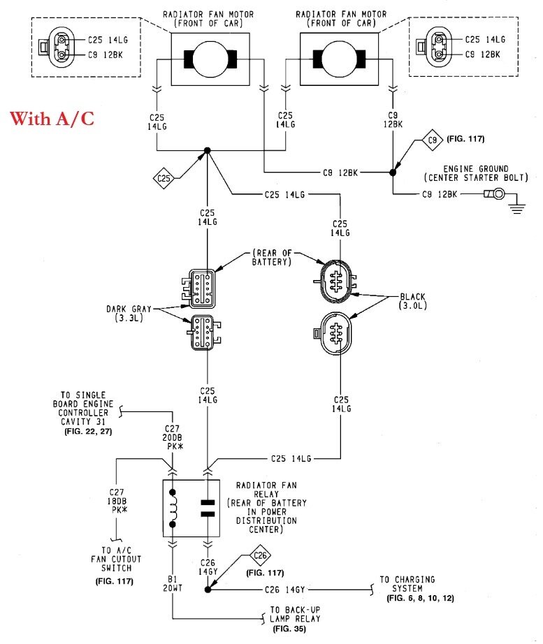
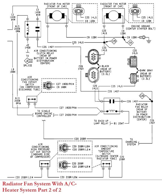
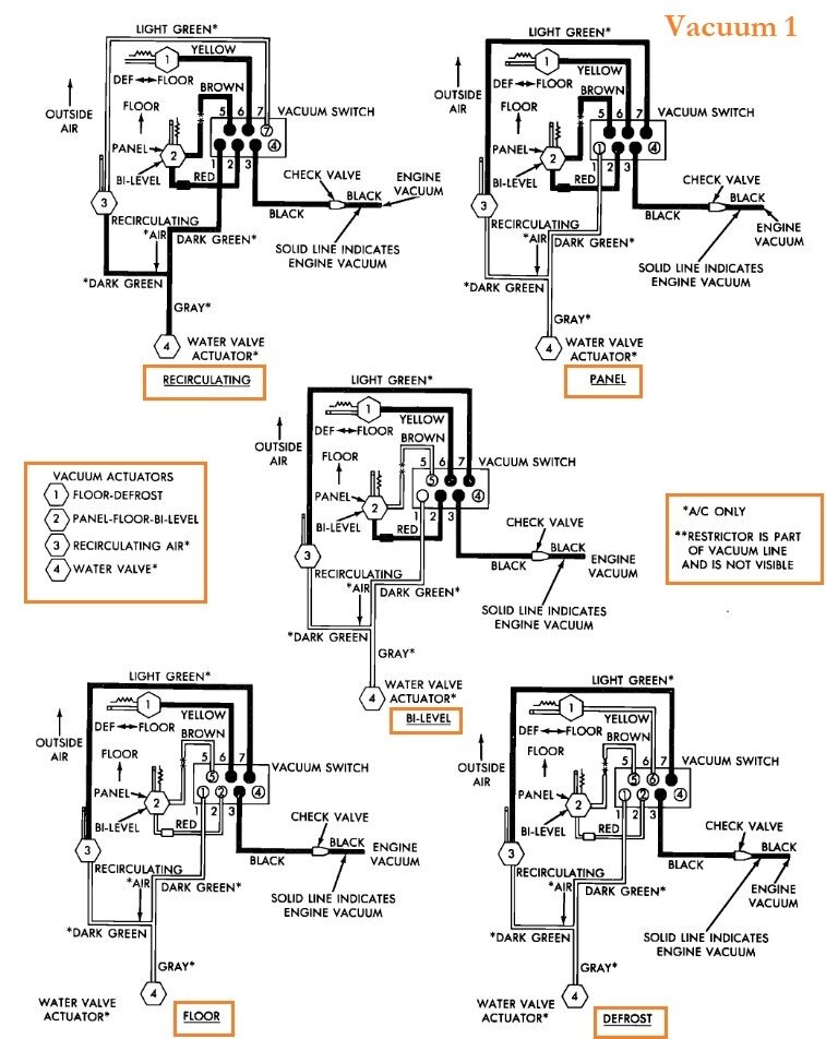
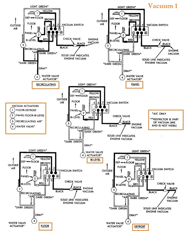
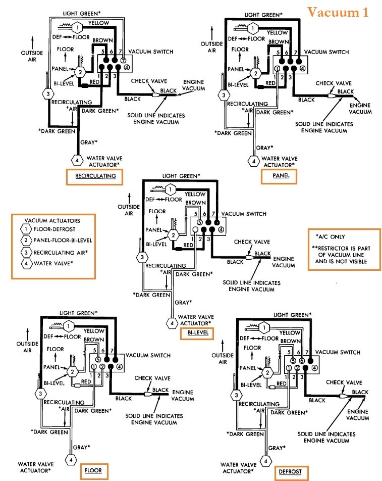
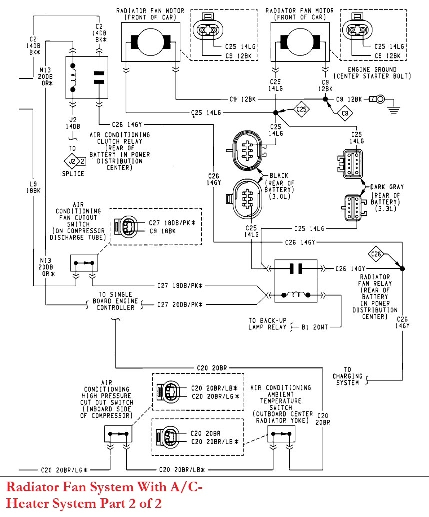
Also thinking about building self vacuum selenoid block - for that need more info or pictures.
Looking for all technical info about ATC system from 90 Fifth Ave.
I would like to build that system to other Dodge model, looking for temp sensor parameters, vacuum solenoid pinout etc.
Today I have control panel (ATC control module) , plug with harness which self maked , temperature door servo.
All system wired and connected as i found by logic , controll panel working and reacted for buttons, temperature door servo reacted and working , fan module converted from Jeep - that also working.
Need to know parameter from temperature sensor on car and more info about outside temperature sensor or switch ?
Also thinking about building self vacuum selenoid block - for that need more info or pictures.
Jan 3, 2025 at 8:47 AM







































