Third brake light not working

2007 MAZDA 6
100,000 MILES • 1.8L • 4 CYL • 2WD • MANUAL
Avatar
ZSOLDOS
  • MEMBER
  • 1 POST
How can I change third brake light bulb?
Apr 8, 2019 at 4:34 AM
Advertisement
Avatar
JACOBANDNICKOLAS
  • CERTIFIED EXPERT
  • 110,175 POSTS
Welcome to CarPros.

Here are the directions for bulb replacement. You will need to refer the the attached picture for the steps.

HIGH-MOUNT BRAKE LIGHT REMOVAL/INSTALLATION

1. Disconnect the negative battery Cable.
2. Remove the rear spoiler.

See Picture 1

3. Remove in the order indicated in the table.
4. Install in the reverse order of removal.

Let me know if this helps.
Joe
Apr 8, 2019 at 6:54 PM
Avatar
ZSOLDOS
  • MEMBER
  • 1 POST
There is no spoiler on this car.
Apr 9, 2019 at 11:34 AM
Advertisement
Avatar
JACOBANDNICKOLAS
  • CERTIFIED EXPERT
  • 110,175 POSTS
Welcome back:

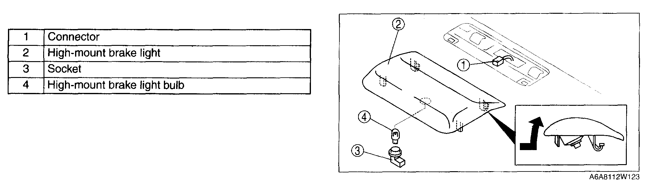
Sorry about that. Here are the directions without a spoiler for the one in the vehicle. See picture 1 for the steps. Also, the cover over the light is clipped into place. You will need to pry it off. Follow the arrows shown in the picture for removal.

HIGH-MOUNT BRAKE LIGHT REMOVAL/INSTALLATION

In-Vehicle-Type
1. Disconnect the negative battery cable.

Picture 1


2. Remove in the order indicated in the table.
3. Install in the reverse order of removal.

Let me know if this is what you needed.

Joe
Apr 9, 2019 at 7:22 PM
Avatar
ZSOLDOS
  • MEMBER
  • 1 POST
Hi,

In such a lamp, how to replace the bulb?

Zsoldos Gyorgy
Apr 12, 2019 at 10:15 AM
Avatar
JACOBANDNICKOLAS
  • CERTIFIED EXPERT
  • 110,175 POSTS
I attached a picture of the bulb type that should be in the vehicle. It simply pulls out and pushes in.
Apr 12, 2019 at 7:54 PM