change a license plate bulb

2011 HONDA ACCORD
6 CYL
Avatar
BALOCH23
  • MEMBER
  • 1 POST
how do i change a license plate bulb on honda accord coupe 2011 Getting a screw driver in to remove the lens is very difficult. It would help to know how remove the lens. I have tried various flat tip screw drivers and none appear to provide an angle suitable for smoothly removing the lens.
Feb 9, 2011 at 5:17 AM
Advertisement
Avatar
STRAILER
  • CERTIFIED EXPERT
  • 53,855 POSTS
Hello,

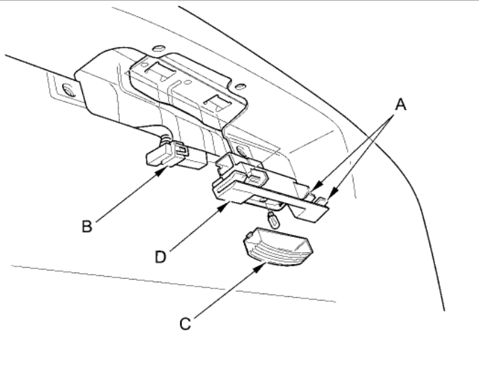
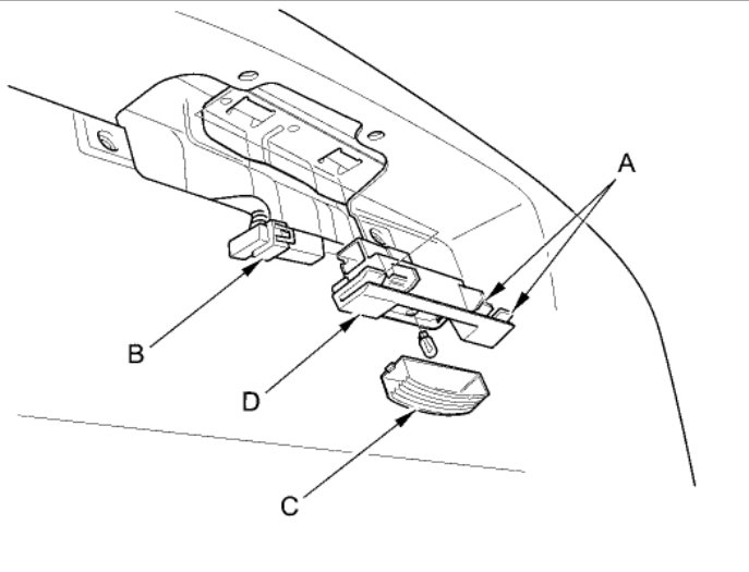
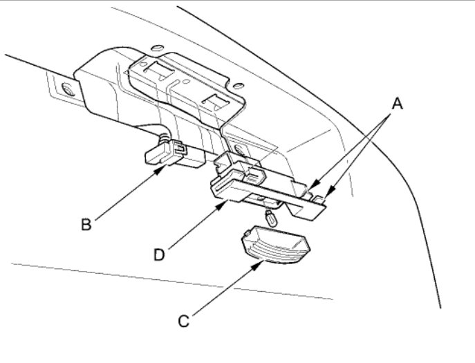
Here is a guide to help you when doing the job. Check out the diagrams (Below)

1. Remove the license plate light (A), and disconnect the 2P connector (B) from the license plate light.

2. Separate the lens (C) and housing (D), then remove the bulb.

3. Install the light in the reverse order of removal.

Check out the diagrams (Below) Please let us know if you need anything else to get the problem fixed. Cheers, Ken
Feb 11, 2011 at 4:49 PM