fuse box cover

2008 NISSAN ALTIMA HYBRID
150,000 MILES • 4 CYL • 2WD • AUTOMATIC
Avatar
JHM5283
  • MEMBER
  • 1 POST
lost fuse box cover need to replace/locate fuse for main window door control. Can you help me?
Oct 10, 2015 at 8:07 AM
Advertisement
Avatar
MHPAUTOS
  • CERTIFIED EXPERT
  • 31,937 POSTS
Hello,

It is fuse #10 in the passengers fuse panel. Here is a guide to help you test for power at the fuse and fuse panel and component locates for your car. Please save this in your favorite for future reference.

https://www.2carpros.com/articles/how-to-check-a-car-fuse

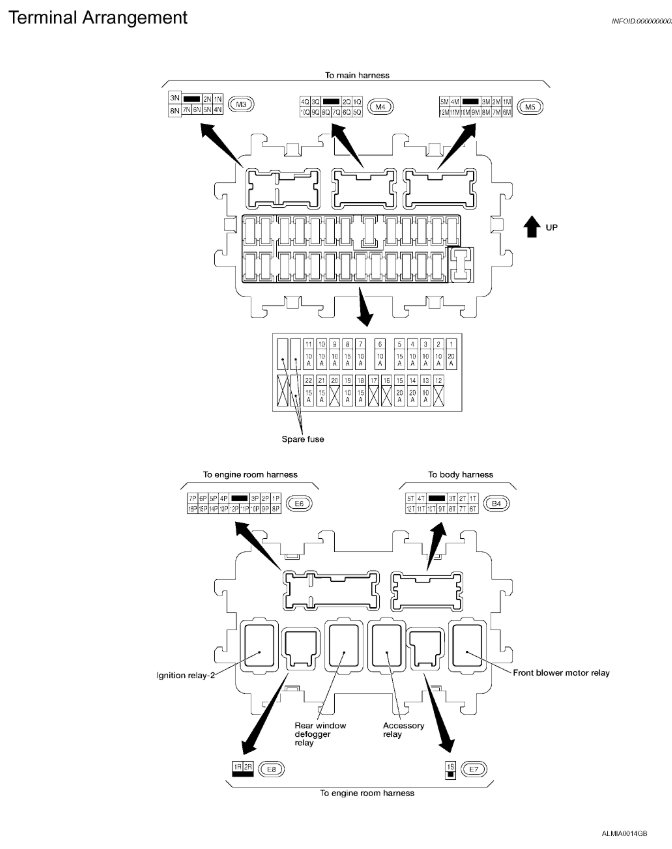
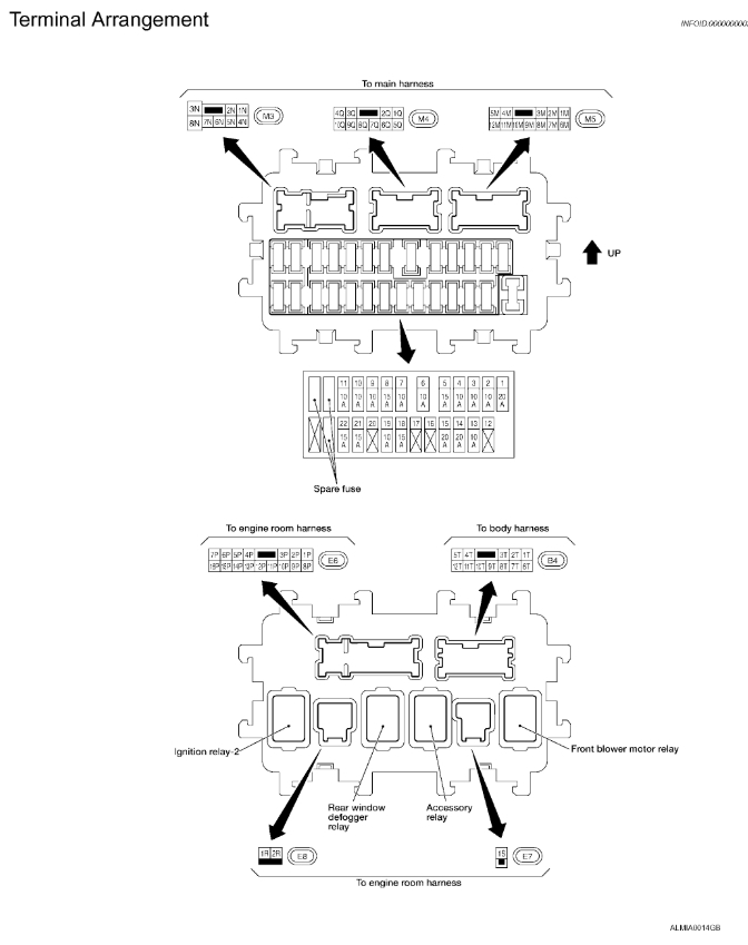
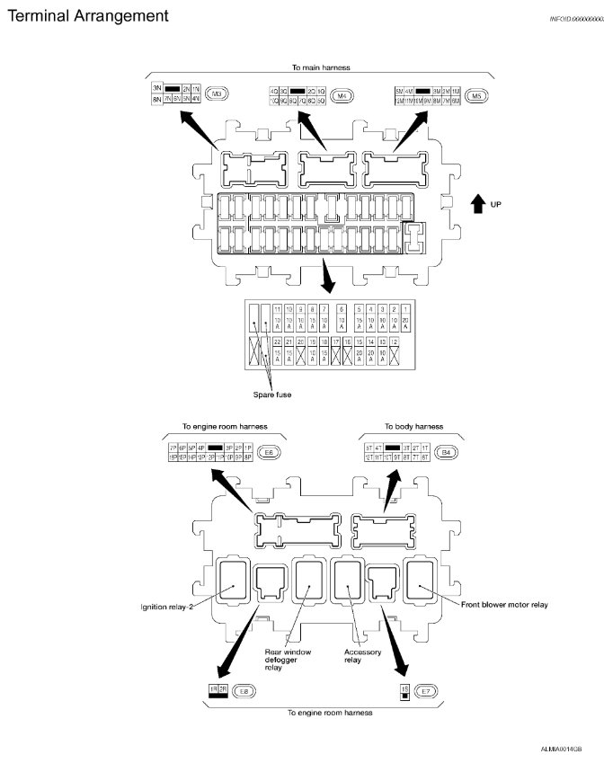
Check out the diagrams (Below). Please let us know if you need anything else to get the problem fixed.
Oct 16, 2015 at 5:15 AM