Blend Door Actuator? Vents don't switch?

2007 CHEVROLET TAHOE
Avatar
JMTRAP08
  • MEMBER
  • 3 POSTS
Ac won't switch from vent to floor to defrost.
Jan 26, 2013 at 9:16 PM
Advertisement
Avatar
GMTECH
  • CERTIFIED EXPERT
  • 537 POSTS
Hello,

This is common when the mode actuator goes out here is a guide to help you fix the problem.

https://www.2carpros.com/articles/replace-blend-door-motor


Please run down this guide and report back.
Jan 31, 2013 at 4:05 PM
Avatar
HYBRIDREX
  • MEMBER
  • 1 POST
I had to get a new mode actuator was not that bad installing it had to pay $78.00 for the part.
Dec 4, 2019 at 8:26 PM
Advertisement
Avatar
JIMMY WILSON
  • MEMBER
  • 3 POSTS
After installing actuator I get full seat in the middle position of the temperature control.
Sep 24, 2020 at 10:33 AM (Merged)
Avatar
STEVE W.
  • CERTIFIED EXPERT
  • 15,113 POSTS
Sounds like the door was in the wrong spot when you installed the actuator. Not hard to correct. Remove the actuator, turn the control to full hot, now move the door so it is in the full hot position and tight on the seal. Reinstall the actuator. Test again.
Sep 24, 2020 at 10:33 AM (Merged)
Avatar
JIMMY WILSON
  • MEMBER
  • 3 POSTS
Thanks for your reply Steve, I have tried that but it is still resorts to the same position. I have read somewhere that there is a reset using the fuses. Is that correct?
Sep 24, 2020 at 10:33 AM (Merged)
Avatar
STEVE W.
  • CERTIFIED EXPERT
  • 15,113 POSTS
You can pull the heater fuses and see if the system re-calibrates.

Pull the HVAC fuse under the hood and the Heater fuse in the dash fuse panel.
Leave them out for at least two minutes (longer is okay)
Replace the fuses, start the engine and don't touch the HVAC controls.
Let it run for two minutes. Shut off the engine and open and close the driver's door. Start the engine and see if the re-calibration worked.
If not you may have a code stored in the HVAC module that needs to be cleared and then re-calibrated with a tech2 or equivalent scan tool.
Sep 24, 2020 at 10:33 AM (Merged)
Avatar
JIMMY WILSON
  • MEMBER
  • 3 POSTS
Thank you, will try that tomorrow.
Sep 24, 2020 at 10:33 AM (Merged)
Avatar
PAUL RAE
  • MEMBER
  • 2 POSTS
I have been told that my defrost is not working because the actuator needs to be replaced. I need advice as to the location and replacement of this actuator. If available a video would be nice. It is a dual level system if that makes a difference.
Sep 24, 2020 at 10:33 AM (Merged)
Avatar
ASEMASTER6371
  • CERTIFIED EXPERT
  • 52,796 POSTS
Good morning,

Below is the procedure and I added some pictures for you for the process of changing the actuator.

Roy

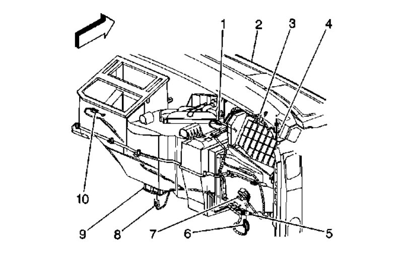
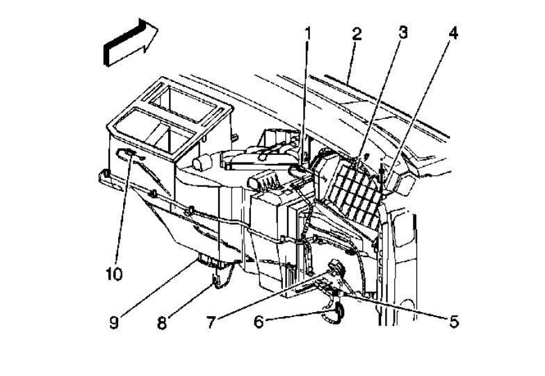
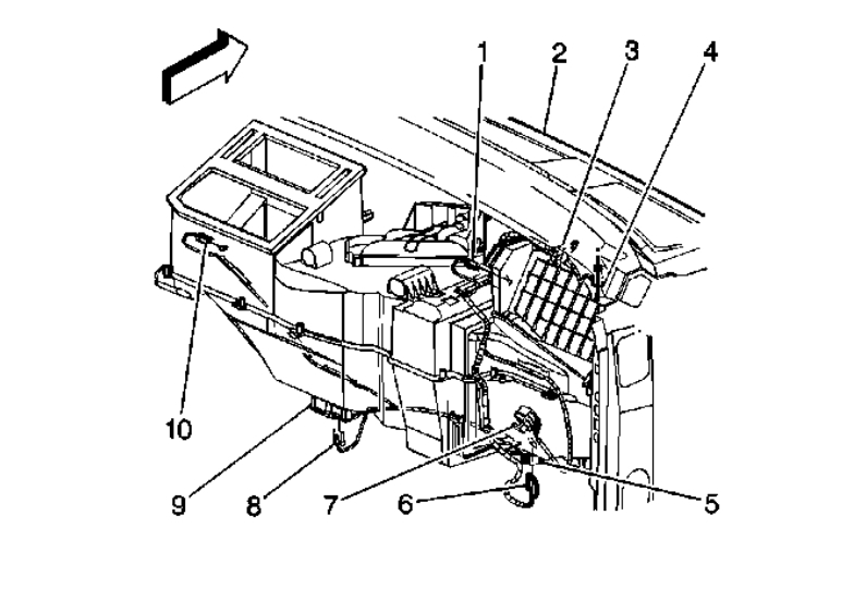
MODE ACTUATOR REPLACEMENT

REMOVAL PROCEDURE


imageOpen In New TabZoom/Print

1. Remove the floor air outlet duct extension (1) from the floor duct (2).
2. Remove the center console.
3. Remove the screws from the center console duct.
4. Remove the center console duct.


imageOpen In New TabZoom/Print

5. Disconnect the electrical connection from the mode actuator (10).


imageOpen In New TabZoom/Print

6. Remove the mode actuator mounting screws from the HVAC module.
7. Remove the mode actuator as an assembly with the actuator cam.
Sep 24, 2020 at 10:34 AM (Merged)
Avatar
PAUL RAE
  • MEMBER
  • 2 POSTS
This procedure helped me a great deal, but I still have an issue. I believe the actuator I was provided with was for the blend door for this system. Will that make a difference? Now I seem to have just the defroster air flow and no heater or front console air flow.
Sep 24, 2020 at 10:34 AM (Merged)
Avatar
ASEMASTER6371
  • CERTIFIED EXPERT
  • 52,796 POSTS
Then you need to get the mode door actuator. The procedure was in my last reply.

Roy
Sep 24, 2020 at 10:34 AM (Merged)
Avatar
DAKOTA DAVIDSON
  • MEMBER
  • 3 POSTS
I watched your video on changing a blend door actuator. I took it out and I ran the air conditioner without it and it was cold then hot minutes later on drivers side only. So I put the new one in does the same thing. Could this be another actuator or the digital dual climate control or the ECU.?
Sep 24, 2020 at 10:34 AM (Merged)
Avatar
HMAC300
  • CERTIFIED EXPERT
  • 48,601 POSTS
you may have changed the wrong actuator. picture shows one for driver's side as there are a few it is on passenger side of the car.
Sep 24, 2020 at 10:34 AM (Merged)
Avatar
DAKOTA DAVIDSON
  • MEMBER
  • 3 POSTS
That is the one I changed just like.in the video. Where are the others you described?
Sep 24, 2020 at 10:34 AM (Merged)
Avatar
HMAC300
  • CERTIFIED EXPERT
  • 48,601 POSTS
take the actuator out and see if door moves it may be broken and not moving. there may be a repair kit by Dorman to fix it without pulling dash and HVAC unit to fix it.
Sep 24, 2020 at 10:34 AM (Merged)
Avatar
DAKOTA DAVIDSON
  • MEMBER
  • 3 POSTS
I will check. But if it goes from cold to hot and I turn the truck off and it switches back to cold then to hot then the door must be moving. Could a vacuum be causing the door to change position?
Sep 24, 2020 at 10:34 AM (Merged)
Avatar
HMAC300
  • CERTIFIED EXPERT
  • 48,601 POSTS
no, they are electric, try pulling the fuse for HVAC inside vehicle for sixty seconds with key on it may reset it so it works right. If that does not work then put the door in hot position with actuator out then reinstall actuator see if that does it.
Sep 24, 2020 at 10:34 AM (Merged)
Avatar
JPATT82
  • MEMBER
  • 2 POSTS
Are there 2 blend air doors? If so, I found the one under the passenger seat. Where is the other one?
Thank You
Jarrett
Sep 24, 2020 at 10:34 AM (Merged)
Avatar
HMAC300
  • CERTIFIED EXPERT
  • 48,601 POSTS
actually there are 4 I have 3 pictured. onefor mode two for temp rh and lh and one for recurculation. if they don't work try pulling hvac fuse for 60 seconds with key on sometimes they will reset. and they areon hvac unit under dash not under seat
Sep 24, 2020 at 10:34 AM (Merged)
Avatar
JPATT82
  • MEMBER
  • 2 POSTS
Oh. Thanks. I had no clue. Ok then,, any clue which one would cause my driver side ac turn to heat?
Thank You
Jarrett
Sep 24, 2020 at 10:34 AM (Merged)
Avatar
HMAC300
  • CERTIFIED EXPERT
  • 48,601 POSTS
this one in pic it'sunder panel by blower so the panel has to come off which isn't hard, but try the fuse pulling thing it may start to work again and reset.
Sep 24, 2020 at 10:34 AM (Merged)
Avatar
CHRIS CHAMBERS
  • MEMBER
  • 1 POST
I can hear it cycling from the vent to the floor and to the defroster, but it wont stay on either one.
Sep 24, 2020 at 10:34 AM (Merged)
Avatar
CJ MEDEVAC
  • CERTIFIED EXPERT
  • 11,004 POSTS
Hello,

This is because the actuator has lost is sensing ability so it "hunts" replace the blend door actuator and the problem should go away.

Here is a guide to help you

https://www.2carpros.com/articles/replace-blend-door-motor

Please let us know if you need anything else to get the problem fixed.

Cheers
Sep 24, 2020 at 10:34 AM (Merged)
Avatar
NEIL JOHNSON
  • MEMBER
  • 1 POST
Heater problem
2001 Chevy Tahoe V8 Four Wheel Drive Automatic

heater not working properly found blend door motor inop , replaced motor but checking heater core temps seem to be partly blocked hose temps drop alot from side to side whats the best way to flush the core to clean out better
Sep 24, 2020 at 10:34 AM (Merged)
Avatar
JACOBANDNICKOLAS
  • CERTIFIED EXPERT
  • 110,175 POSTS
There really isn't anything special when flushing the heater core. My only suggestion is to back flush it too. Basically, force pressurized water through both directions.
Sep 24, 2020 at 10:34 AM (Merged)
Avatar
TAHOEJOE70
  • MEMBER
  • 3 POSTS
How to replace mode actuator?
Stuck in defrost mode. Temperature switch and fan switch work fine.

Thanks in advance.
Sep 24, 2020 at 10:34 AM (Merged)
Avatar
JACOBANDNICKOLAS
  • CERTIFIED EXPERT
  • 110,175 POSTS
Hi and thanks for using 2CarPros.

Here are the directions related to replacement of the mode door actuator. All attached pictures correlate with these directions. Note: After the directions, I attached the re-calibration procedures.
__________________________________________

MODE ACTUATOR REPLACEMENT
REMOVAL PROCEDURE


1. Remove the floor air outlet duct extension (1) from the floor duct (2).

2. Disconnect the electrical connection at the mode actuator (10).
3. Remove the mode actuator mounting screws from the HVAC module.
4. Remove the mode actuator as an assembly with the actuator cam.

INSTALLATION PROCEDURE
1. Install the mode actuator as an assembly with the actuator cam.
- Line up the heater/defroster lever with the mode actuator cam slot.
- Line up the A/C lever with the mode actuator cam.

NOTE: Refer to Fastener Notice in Service Precautions.

2. Install the mode actuator mounting screw to the HVAC module.

Tighten
Tighten the mode actuator mounting screw to 1.6 N.m (14 lb in).
3. Connect the electrical connection at the mode actuator (10).
4. Install the floor air outlet duct extension (1) to the floor air duct (2).
5. Calibrate the HVAC module actuators. Refer to Re-Calibrating Actuators.

_________________________

Recalibration:

Actuator Recalibration

The HVAC control module will relearn the actuator limits whenever power is disconnected and re-connected to the module.
Use the following steps to perform the calibration update:

1. Turn OFF the ignition.
2. Remove the battery positive voltage circuit fuse of the HVAC Control Module.

Important: The scan tool must be disconnected from the vehicle to properly perform the calibration procedure. If a scan tool is connected before this procedure is completed, then new calibration values will not be stored.

Important: Failure to wait 60 seconds will not allow the HVAC control module sufficient time to clear the old calibration values.

3. Wait 60 seconds.
4. Install the fuse.
5. Turn ON the ignition.

____________________________

Let me know if this is what you needed or if you have other questions.

Take care,
Joe
Sep 24, 2020 at 10:34 AM (Merged)
Avatar
TAHOEJOE70
  • MEMBER
  • 3 POSTS
Thanks for your fast and complete Help!
Sep 24, 2020 at 10:34 AM (Merged)
Avatar
JACOBANDNICKOLAS
  • CERTIFIED EXPERT
  • 110,175 POSTS
Happy to help. Let me know if you need anything.

Joe
Sep 24, 2020 at 10:34 AM (Merged)