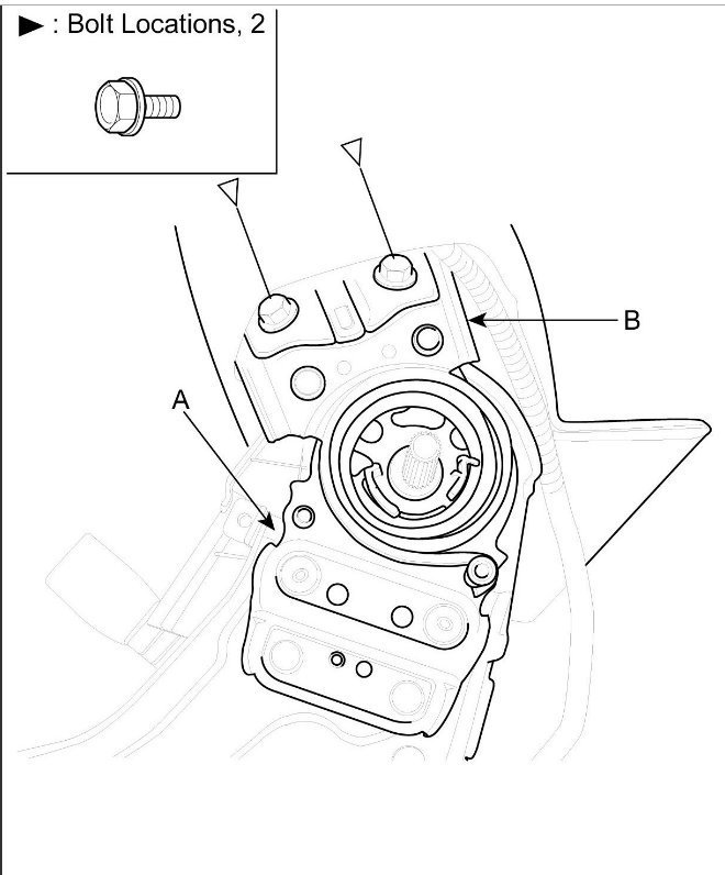
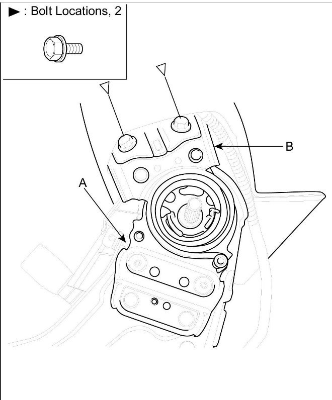
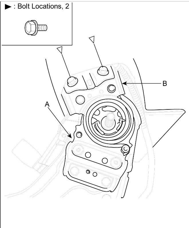
The smaller of the two rear seat backs no longer responds to the release catch at the top. Feels looser than the other side so presume has become disconnected - is it possible to repair and how?
May 30, 2012 at 7:27 PM
