drivers side window stopped working?

2006 CHRYSLER PT CRUISER
90,000 MILES • 4 CYL • FWD • AUTOMATIC
Avatar
GLINDA BOLEN
  • MEMBER
  • 1 POST
Drivers side window stopped working. How can I find and repair problem?
Oct 7, 2014 at 8:42 AM
Advertisement
Avatar
STRAILER
  • CERTIFIED EXPERT
  • 53,855 POSTS
Hi GLINDA,

It is probably the motor that has gone bad, here are a couple of guide that will help determine if the problem is a switch, power feed, ground or the motor.

https://www.2carpros.com/articles/electric-window-repair

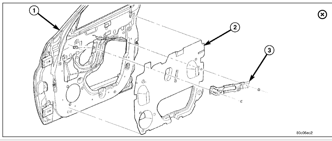
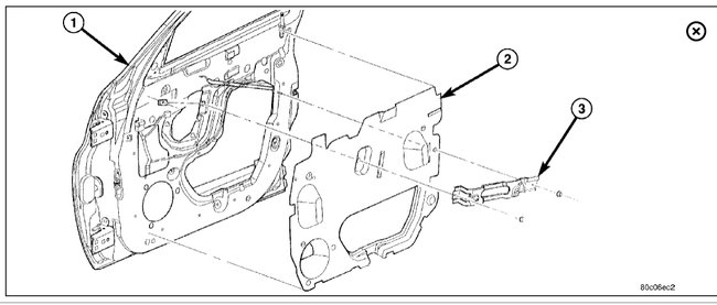
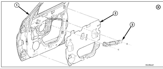
Remove door trim panel and water dam.
Disconnect wire connector to power window motor.
Remove nuts (5) attaching regulator lift channel to door glass.
Secure door glass in upward position.
Remove nuts (5) attaching rear of stabilizer channel to door panel.
Remove stabilizer channel from door panel.
Loosen bolts attaching window regulator, base plate to door inner panel.
Remove window regulator through large hole in inner door panel.
Remove power window motor from regulator.

Check out the diagrams (Below). Please let us know if you need anything else to get the problem fixed.

Cheers, Ken
Jul 8, 2019 at 12:38 PM