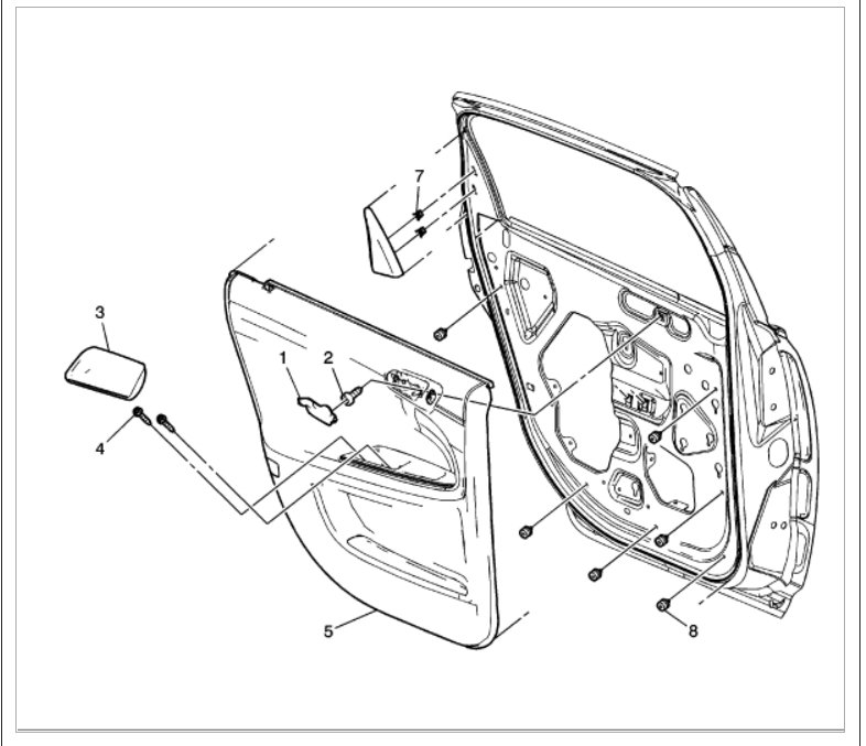
How do you remove a rear driver side door panel from a 2006 chevy impala. My door handles inside and out do not work so I need to get the door panel off from the inside.
May 12, 2011 at 8:24 PM


