able to find and check the fuses

2006 CHEVROLET EQUINOX
99,000 MILES • 3.4L • V6 • AWD • AUTOMATIC
Avatar
JAMESMONIQUE
  • MEMBER
  • 1 POST
Just wondering would I be able to find and check the fuses can you help me please?
Sep 2, 2014 at 7:17 PM
Advertisement
Avatar
JACOBANDNICKOLAS
  • CERTIFIED EXPERT
  • 110,175 POSTS
Hi,

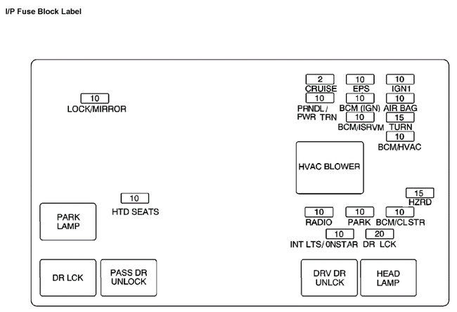
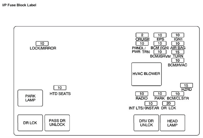
If you look at the attachments below, they provide the fuse box orientations and what each fuse is for. One of the fuse boxes us under the hood on the driver's side and the other is in the vehicle under the dash on the driver's side.

In addition to just checking a fuse, make sure there is power to it. A fuse may be good and not be receiving power.

Here is a link that you may find helpful when testing:

https://www.2carpros.com/articles/how-to-check-a-car-fuse

I hope this helps. Let me know if you have additional questions.

Take care,

Joe

See pics below.
Jul 2, 2021 at 11:07 PM