rear parking brake shoes

2005 TOYOTA 4RUNNER
Avatar
ANONYMOUS
  • MEMBER
  • 1 POST
How to replace rear parking brake shoes
Nov 11, 2012 at 5:58 PM
Advertisement
Avatar
KHLOW2008
  • CERTIFIED EXPERT
  • 41,814 POSTS
PARKING BRAKE ASSY

1. REMOVE REAR WHEEL
2. SEPARATE REAR DISC BRAKE CALIPER ASSY LH
a. Remove the 2 bolts and separate the rear disc brake caliper assy LH.
HINT: Do not disconnect the flexible hose from the brake caliper.
3. REMOVE REAR DISC
a. Release the parking brake, and remove the rear disc.
HINT:
l Put matchmarks on the disc and the axle shaft.
l If the disc cannot be removed easily, turn the shoe adjuster until the wheel turns freely.

4. REMOVE PARKING BRAKE SHOE RETURN TENSION SPRING
a. Using a needle-nose pliers, remove the 2 return tension springs.

5. REMOVE PARKING BRAKE SHOE STRUT COMPRESSION SPRING
a. Slide out the front shoe and remove the compression spring.

6. REMOVE PARKING BRAKE SHOE STRUT LH

7. REMOVE PARKING BRAKE SHOE
a. Release the cup claw and remove the front and rear parking brake shoe.
b. Disconnect the parking brake cable from the shoe lever.
c. Remove the tension spring and shoe adjuster screw set from the front and rear shoe.
d. Remove the 2 shoe hold-down springs, 4 cups and 2 pins.
e. Using a screwdriver, remove the C-washer.
f. Remove the shim and shoe lever from the parking brake shoe.
Nov 12, 2012 at 3:13 PM
Avatar
001BILLYG
  • MEMBER
  • 1 POST
Is there any instructional videos on replacing rear parking brake shoes on a 2003 Toyota 4runner. When I pull the rear rotor off it look very tight on replacing the shoes any help would be greatly appreciated. And also adjusting the parking brakes also
Apr 12, 2021 at 10:01 AM (Merged)
Advertisement
Avatar
HMAC300
  • CERTIFIED EXPERT
  • 48,601 POSTS
any video will be of the car they are working on which wold kind of be generic in nature. on this vehicle you'll have to pull the rotors and calipers to gain access to parking brake. I have included pics of how to adjust but will be small as well as exploded view of parking brake.
Apr 12, 2021 at 10:01 AM (Merged)
Avatar
SAMMY2
  • MEMBER
  • 2 POSTS
I need to replace emergency brake parts!
Apr 12, 2021 at 10:01 AM (Merged)
Avatar
CARADIODOC
  • CERTIFIED EXPERT
  • 34,306 POSTS
Never heard of having to remove the entire axle. If you have rear disc brakes, the parking brake shoes are just regular drum brake shoes inside the rotors.
Apr 12, 2021 at 10:01 AM (Merged)
Avatar
BOB TUMAN
  • MEMBER
  • 2 POSTS
how do you adjust the parking brake on a 03 Toyota 4runner sport?
Apr 12, 2021 at 10:02 AM (Merged)
Avatar
RASMATAZ
  • CERTIFIED EXPERT
  • 75,992 POSTS
ADJUSTMENT

REMOVE REAR WHEEL
ADJUST PARKING BRAKE SHOE CLEARANCE
INSTALL REAR WHEEL Torque: 103 Nm (1,050 kgf-cm, 76 ft. lbs.)
INSPECT PARKING BRAKE PEDAL TRAVEL
Slowly depress the parking brake pedal all the way, and count the number of clicks. Parking brake pedal travel at 294 N (30 kgf, 66 lbs.) : 5 - 7 clicks

ADJUST PARKING BRAKE PEDAL TRAVEL
Remove the console rear panel upper.
Remove the console panel upper.
Remove the rear console box.
Confirm that the parking brake pedal is released.
Loosen the lock nut and turn the adjusting nut until the parking brake pedal travel is corrected to the specification,
Tighten the lock nut. Torque: 13 Nm (127 kgf-cm, 9 ft. lbs.)
Check whether parking brake drags or not.
When operating the parking brake pedal, check that the parking brake pedal indicator light comes on.
Install the rear console box.
Install the console panel upper.
Install the console rear panel upper.



Apr 12, 2021 at 10:02 AM (Merged)
Avatar
TYASH302
  • MEMBER
  • 3 POSTS
Listen I had my e brake on the other day while I was driving and I didn’t realize it. so I took it off while I was driving and my brakes haven’t been the same ever since. can someone please help me or know what the problem is so I can fix it?
Apr 12, 2021 at 10:02 AM (Merged)
Avatar
JACOBANDNICKOLAS
  • CERTIFIED EXPERT
  • 110,175 POSTS
Welcome to 2CarPros.

How long was it on? Did you notice any smell? Also, what are you experiencing that is different. I need to know that so I can grasp what may have happened. Chances are you wore down the brake shoes (rear drum brakes), and now they need adjusted but other things may have occurred too.

Let me know.

Joe
Apr 12, 2021 at 10:02 AM (Merged)
Avatar
SCGRANTURISMO
  • CERTIFIED EXPERT
  • 4,897 POSTS
Hello,

In the diagrams down below I have included the factory guide for the proper adjustment procedure for the emergency brake for your vehicle. Please go through this guide and get back to us with how everything turns out with the brake adjustment.

Thanks,
Alex
2CarPros
Apr 12, 2021 at 10:02 AM (Merged)
Avatar
TYASH302
  • MEMBER
  • 3 POSTS
It was on for probably 10-15 minutes while driving and then when i push down on the brakes it’s hard for me to stop it all the way you have to push really hard.
Apr 12, 2021 at 10:02 AM (Merged)
Avatar
STRAILER
  • CERTIFIED EXPERT
  • 53,854 POSTS
If I can jump in here it sounds like the rear shoes got cooked which makes them crystallize and unable to brake correctly. I would replace the rear shoes. here is a video to show you how:

https://youtu.be/r82BLijWuNQ

Can you please shoot a quick video with your phone when you get the brakes apart so we can see what's going on? that would be great. You can upload it here with your response.

Apr 12, 2021 at 10:02 AM (Merged)
Avatar
TYASH302
  • MEMBER
  • 3 POSTS
I will when I get the chance. it’s hard because I don’t have a place to take everything off properly. But I’ll do my best for a image. Also, when I do drive the truck because I have to get around I ride with the e brake still on and it works but still have to push really hard to brake. I do not know how long it’s going to last until they go out.
Apr 12, 2021 at 10:02 AM (Merged)
Avatar
JACOBANDNICKOLAS
  • CERTIFIED EXPERT
  • 110,175 POSTS
Welcome back:
Is the parking brake still on? You mentioned above that you drive around with it still on. As Ken mentioned, that is a concern for a few different reasons.

Let us know.

Joe
Apr 12, 2021 at 10:02 AM (Merged)
Avatar
TYASH302
  • MEMBER
  • 3 POSTS
What other possibilities do you think it could be then the rear shoe? I still have to drive with the e brake on and I have been doing so. I do not know what to do or who could even help me look at it. Also you can press down on the brakes all the way some times and it will just go all the way down and my truck will keep moving.
Apr 12, 2021 at 10:02 AM (Merged)
Avatar
JACOBANDNICKOLAS
  • CERTIFIED EXPERT
  • 110,175 POSTS
Welcome back:

If you have the E brake on all the time, there most likely isn't much left to the brake shoes. Since the brake pedal is going to the floor, first check the brake fluid level. If it isn't low, suspect a bad master cylinder. If it is very low or empty, it could still be the master cylinder, but also check for evidence of brake fluid leaking from the back of one of the wheels or anywhere under the vehicle. You will find the master cylinder and fluid reservoir under the hood mounted on the firewall, driver's side.

It's not my business, but I have to be honest with you. I'm concerned you are driving it this way. I would never let anyone in my family drive a car under those conditions, and now you are (indirectly) part of this family. Please remove the rear wheels and inspect the brakes to see what has happened. Also, check the fluid in the MC to make sure it isn't empty. I have a feeling the e brake is allowing the master cylinder to do less work and that is why it is helping. However, and I don't want to scare you, but if the parking brake is still working, then the brakes are getting extremely hot because it is always on. Under extreme conditions it could even cause a fire. I really don't want you to get hurt. And as Ken had mentioned earlier, the brakes need replaced at this point.

Now that you mentioned the brake pedal is going to the floor, take a look through these links:

https://www.2carpros.com/articles/brake-pedal-goes-to-the-floor

https://www.2carpros.com/articles/how-to-replace-a-brake-master-cylinder

Here is a link that explains how to replace rear brake shoes:

https://www.2carpros.com/articles/how-to-replace-rear-brake-shoes-and-drums

Please understand that the two things I mentioned may not be the problem at all. You could have a leak in the system, a bad wheel cylinder, a rusted steel brake line, rubber line or a bad caliper. That is why I recommended that you check for leaks.

________________________________

I am going to provide the directions specific to your vehicle for both mater cylinder replacement and rear brake shoes. All attached pics correlate with the directions.


1999 Toyota Truck 4 Runner 2WD L4-2.7L (3RZ-FE)
Procedures
Vehicle Brakes and Traction Control Drum Brake System Service and Repair Procedures
PROCEDURES
REMOVAL


pic 1


1. INSPECT SHOE LINING THICKNESS
Remove the inspection hole plug, and check the shoe lining thickness through the hole. If less than the minimum, replace the shoes.
Minimum thickness: 1.0 mm (0.039 inch)
2. REMOVE REAR WHEEL


pic 2


3. REMOVE BRAKE DRUM

HINT: If the brake drum cannot be removed easily, do the following steps:

a. Remove the adjusting hole plug in the backing plate.
b. Insert a screwdriver through the hole in the backing plate, and hold the automatic adjusting lever away from the adjusting bolt.
c. Using another screwdriver, reduce the brake shoe adjustment by turning the adjusting bolt.
4. REMOVE REAR SHOE

pic 3


a. Using Special Service Tools (SST), disconnect the return spring.
SST 09703-30010


pic 4


b. Using SST, remove the shoe hold-down spring, cups and pin.
SST 09718-00010
c. Disconnect the anchor spring from the rear shoe and remove the rear shoe.
d. Remove the anchor spring from the front shoe.


pic 5


5. REMOVE FRONT SHOE
a. Using SST, remove the shoe hold-down spring, cups and pin.
SST 09718-00010
b. Remove the return spring from the front shoe.
c. Remove the front shoe with adjuster.
d. Disconnect the parking brake cable from the front shoe.

Remove E-Ring And C-Washer
pic 6


6. REMOVE ADJUSTER FROM FRONT SHOE
a. Remove the adjusting lever spring.
b. Remove the adjuster.
7. REMOVE AUTOMATIC ADJUSTING LEVER AND PARKING BRAKE LEVER
a. Remove the E-ring.
b. Remove the automatic adjusting lever.
c. Remove the C-washer.
d. Remove the parking brake lever.
8. REMOVE AND DISASSEMBLE PARKING BRAKE BELLCRANK


pic 7


a. Remove the clip and disconnect the parking brake cable.
b. Remove the tension spring.
c. Remove the 2 bolts and bellcrank.
Torque: 13 Nm (130 kgf-cm, 9 ft. lbs.)
d. Remove the bellcrank boot from the bellcrank bracket.


pic 8


e. Remove the C-washer and pin.
f. Remove the parking brake bellcrank from the bellcrank bracket.


pic 9


9. REMOVE WHEEL CYLINDER
a. Using SST, disconnect the brake line. Use a container to catch the brake fluid.
Torque: 15 Nm (155 kgf-cm, 11 ft. lbs.)
SST 09023-00100
b. Remove the 2 bolts and the wheel cylinder.
Torque: 10 Nm (100 kgf-cm, 7 ft. lbs.)
10. DISASSEMBLE WHEEL CYLINDER
Remove the these parts from the wheel cylinder.
1. 2 boots
2. 2 pistons
3. 2 piston cups
4. Spring

INSPECTION
1. INSPECT DISASSEMBLED PARTS
Inspect the disassembled parts for wear, rust or damage.

Fig. 3 Measuring Brake Drum Inside Diameter
pic 10


2. MEASURE BRAKE DRUM INSIDE DIAMETER
Using vernier calipers, measure the inside diameter of the drum.
Standard inside diameter: 295.0 mm (11.614 inch)
Maximum inside diameter: 297.0 mm (11.693 inch)
If the drum is scored or worn, the brake drum may be lathed to the maximum inside diameter.

Fig. 4 Measuring Brake Shoe Lining Thickness
pic 11


3. MEASURE BRAKE SHOE LINING THICKNESS
Using a ruler, measure the shoe lining thickness.
Standard thickness: 6.0 mm (0.236 inch)
Minimum thickness: 1.0 mm (0.039 inch)
If the shoe lining is less than the minimum, or shows signs of uneven wear, replace the brake shoes.

HINT: If any of the brake shoes have to be replaced, replace all of the rear brake shoes in order to maintain even braking.


pic 12


4. INSPECT BRAKE LINING AND DRUM FOR PROPER CONTACT
If the contact between the brake lining and drum is improper, repair the lining with a brake shoe grinder, or replace the brake shoe assembly.

INSTALLATION
Installation is in the reverse order of removal.

NOTICE: Apply lithium soap base glycol grease and high temperature grease to the parts indicated by the arrows.

pic 13


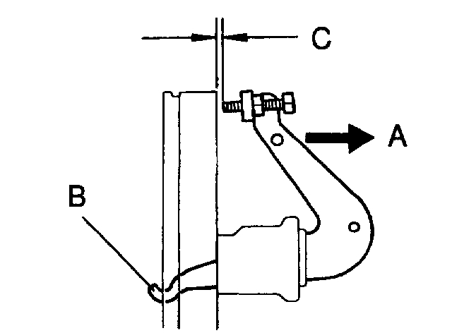
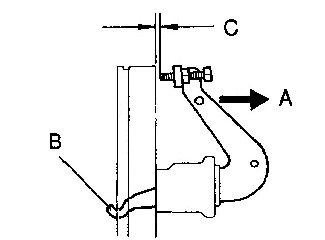
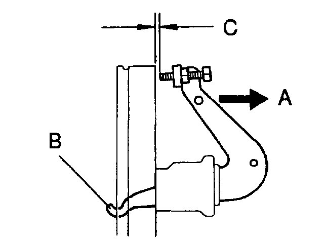
1. ADJUST BELLCRANK
a. Lightly pull the bellcrank in direction A until there is no slack at part B.
b. In this condition, turn the adjusting bolt so that dimension C will be 0.4 - 0.8 mm (0.016 - 0.031 inch).
c. Lock the adjusting bolt with the lock nut.
d. Connect the parking brake cable to the parking brake bellcrank and install the clip.
e. Install the tension spring.
2. CHECK OPERATION OF AUTOMATIC ADJUSTING MECHANISM


pic 14


a. Move the parking brake lever of the rear shoe back and forth, as shown. Check that the adjusting bolt turns. If it does not turn, check for incorrect installation of the rear brakes.


pic 15


b. Adjust the adjuster length to the shortest possible amount.
c. Install the drum.
d. Pull the parking brake lever all the way up until a clicking sound can no longer be heard.
3. CHECK CLEARANCE BETWEEN BRAKE SHOES AND DRUM


pic 16


a. Remove the drum.

Fig. 3 Measuring Brake Drum Inside Diameter

pic 17


b. Measure the brake drum inside diameter and diameter of the brake shoes. Check that the difference between the diameters is the correct shoe clearance.
Shoe clearance: 0.5 mm (0.020 inch)
If it is incorrect, check the parking brake system.
4. FILL BRAKE RESERVOIR WITH BRAKE FLUID
5. BLEED BRAKE SYSTEM.
6. Check for leaks

________________________________________________________
Here are the directions for replacing the master cylinder.

1999 Toyota Truck 4 Runner 2WD L4-2.7L (3RZ-FE)
Removal and Installation
Vehicle Brakes and Traction Control Hydraulic System Brake Master Cylinder Service and Repair Procedures Removal and Installation
REMOVAL AND INSTALLATION
REMOVAL
1. DISCONNECT LEVEL WARNING SWITCH CONNECTOR
2. TAKE OUT FLUID WITH SYRINGE

NOTICE: Do not let brake fluid remain on a painted surface. Wash it off immediately.


pic 18


3. DISCONNECT BRAKE LINES
Using Special Service Tools (SST), disconnect the 6 (w/o ABS) or 2 (w/ABS) brake lines.
SST 09023-00100
Torque: 15 Nm (155 kgf-cm, 11 ft. lbs.)


pic 19


4. REMOVE MASTER CYLINDER
Remove the 2 nuts, 4-way (w/o ABS), check valve bracket, bracket and pull out the master cylinder and gasket.
Torque: 13 Nm (130 kgf-cm, 9 ft. lbs.)

INSTALLATION
Installation is in the reverse order of removal.
1. BEFORE INSTALLATION, ADJUST LENGTH OF BRAKE BOOSTER PUSH ROD.
2. AFTER INSTALLATION, FILL BRAKE RESERVOIR WITH BRAKE FLUID, BLEED BRAKE SYSTEM, CHECK FOR LEAKS, CHECK AND ADJUST BRAKE PEDAL.

Next is bleeding the brakes. You can follow the link above related to MC replacement.

Let me know if you have questions or need help.

Take care,
Joe
Apr 12, 2021 at 10:02 AM (Merged)