wiper motor access

2005 HYUNDAI TUCSON
96,000 MILES • 4 CYL • AWD • AUTOMATIC
Avatar
HANDYDAN55
  • MEMBER
  • 2 POSTS
access rear wiper motor 2005 tucson
Apr 10, 2011 at 1:35 PM
Advertisement
Avatar
JDL
  • CERTIFIED EXPERT
  • 16,098 POSTS
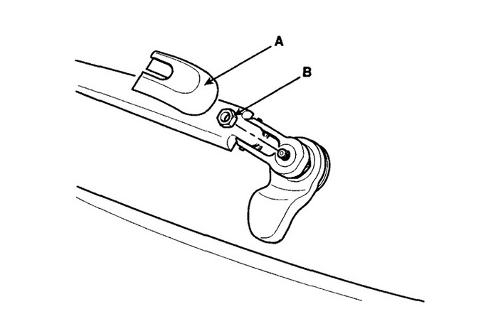
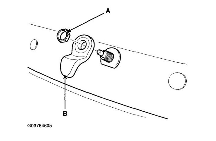
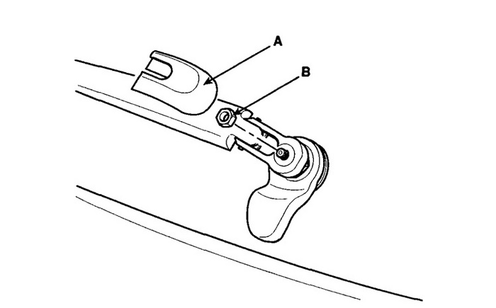
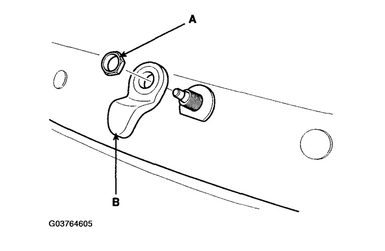
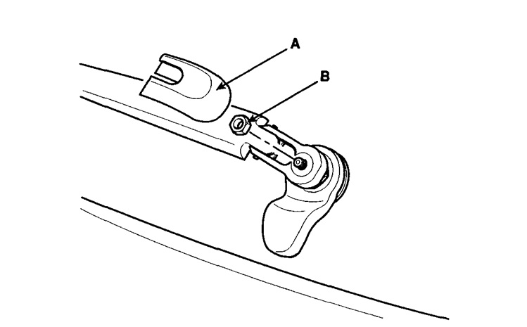
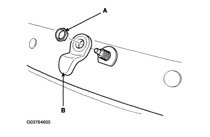
You have to remove wiper blade, then the arm. lower tail gate glass and remove wiper motor cover. Remove wiper motor.
Apr 10, 2011 at 2:42 PM
Avatar
HANDYDAN55
  • MEMBER
  • 2 POSTS
does the cover snap off or is it attached by a screw
Apr 10, 2011 at 2:46 PM
Advertisement
Avatar
PLATINUMHYUNDAITECH
  • MEMBER
  • 29 POSTS
Panel is held on with screws and clips
Apr 11, 2011 at 12:34 AM
Avatar
JDL
  • CERTIFIED EXPERT
  • 16,098 POSTS
Sounds good to me.
Apr 24, 2011 at 7:17 PM