firing order diagram?

2005 FORD TAURUS
89,000 MILES • 3.0L • 6 CYL • 2WD • AUTOMATIC
Avatar
TONYD235
  • MEMBER
  • 62 POSTS
What is the spark plug gap for my car and firing order?
Mar 27, 2014 at 9:37 AM
Advertisement
Avatar
JACOBANDNICKOLAS
  • CERTIFIED EXPERT
  • 110,175 POSTS
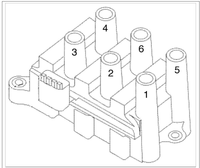
.044 (In thousandths of an inch) Here is a guide that will help you install them

https://www.2carpros.com/articles/how-to-change-spark-plugs

Here is the firing order as well

Firing order .................... 1-4-2-5-3-6

Check out the diagrams (Below). Please let us know if you need anything else to get the problem fixed.
Jul 16, 2020 at 12:25 PM
Avatar
SR89
  • MEMBER
  • 1 POST
I can not find the wiring diagram for my car. 2005 Ford taurus SE 3.0V6 ohv. I replaced the spark plugs and now it is backfiring. can anyone help?
Jan 16, 2021 at 9:56 AM (Merged)
Advertisement
Avatar
MERLIN2021
  • CERTIFIED EXPERT
  • 17,250 POSTS
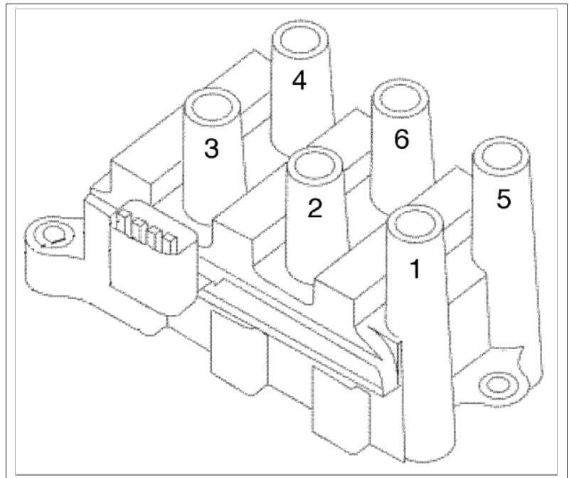
Here is the engine ignition firing order - Firing order 1-4-2-5-3-6 It sounds like you crossed two or more wires...re route to correct positions!

Here is a video of the job being done.

https://youtu.be/iDgXwKA-IIc

Check out the diagrams (Below). Please let us know if you need anything else to get the problem fixed.

Cheers
Jan 16, 2021 at 9:56 AM (Merged)
Avatar
2CP-ARCHIVES
  • MEMBER
  • 4,540 POSTS
I need a diagram for spark plug wires.
Jan 16, 2021 at 9:56 AM (Merged)
Avatar
ASEMASTER6371
  • CERTIFIED EXPERT
  • 52,796 POSTS
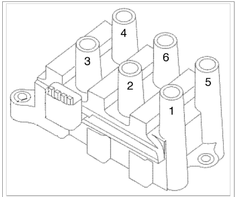
Here is the engine spark plug firing order. Check out the diagrams (Below). Please let us know if you need anything else to get the problem fixed.

Cheers
Jan 16, 2021 at 9:56 AM (Merged)
Avatar
HEATHER1984
  • MEMBER
  • 1 POST
I disconnected my spark plug coil caps from my car (engine 3.0 V6) and re-plugged them back exactly where i removed them from (there is no chance I put them in the wrong spots). I did however plug them back in, in a random order (ie. top left, then bottom right, etc). Now my car's check engine light is on and my car is shaking very hard while parked or when driving (when applying gas). Was i supposed to plug them back in, in a certain order? ie. first- top left, second- top middle, third- top right, etc?

Any help is appreciated! Thank you.
Jan 16, 2021 at 9:57 AM (Merged)
Avatar
JDL
  • CERTIFIED EXPERT
  • 16,098 POSTS
As long as they are in the right place, I cannot see how it makes any difference. The spark plug wires are the only thing you disconnected, worked on? Have you check applicable trouble codes, to see if codes point to particular cylinder?

You could try using a digital multi-meter, low voltage setting, engine idling, if it will idle, Touch meter lead to spark plug wire, do not penetrate the insulation or take anything loose, it is an inductive reading, very low tech, non-intrusive. The readings I get, usually, are about.6 or.7 volts. The point is if get a reading bouncing off of zero, that is the wire I want to check.
Maybe you need new spark plug wires or not plugged in all the way? Check out the diagrams (Below). Please let us know if you need anything else to get the problem fixed.
Jan 16, 2021 at 9:57 AM (Merged)
Avatar
HDICEBLUE
  • MEMBER
  • 1 POST
Firing order with the coil pack ?
Jan 16, 2021 at 9:57 AM (Merged)
Avatar
RASMATAZ
  • CERTIFIED EXPERT
  • 75,992 POSTS
See below:


https://www.2carpros.com/forum/automotive_pictures/12900_t1_12.jpg


https://www.2carpros.com/forum/automotive_pictures/12900_t2_8.jpg

Jan 16, 2021 at 9:57 AM (Merged)
Avatar
COFFELL
  • MEMBER
  • 1 POST
I need a diagram of the plug wires on how they go on I think I have them on wrong. how can I tell. my car has a miss in it.
Jan 16, 2021 at 9:57 AM (Merged)
Avatar
BMRFIXIT
  • CERTIFIED EXPERT
  • 19,053 POSTS
engine size???????????????


https://www.2carpros.com/forum/automotive_pictures/99387_Graphic1_638.jpg


https://www.2carpros.com/forum/automotive_pictures/99387_Graphic2_301.jpg

Jan 16, 2021 at 9:57 AM (Merged)
Avatar
PAULJOHNMORENO
  • MEMBER
  • 1 POST
what order are the plug wires and with the plugsin the engine?
Jan 16, 2021 at 9:57 AM (Merged)
Avatar
RASMATAZ
  • CERTIFIED EXPERT
  • 75,992 POSTS
2001 Ford Taurus V6-3.0L DOHC VIN S 6-Cyl Firing Order: 1 4 2 5 3 6


https://www.2carpros.com/forum/automotive_pictures/12900_fo_6.gif

2001 Ford Taurus V6-3.0L VIN 2 Flex Fuel 6-Cyl Firing Order: 1 4 2 5 3 6


https://www.2carpros.com/forum/automotive_pictures/12900_fo1_1.gif

Jan 16, 2021 at 9:57 AM (Merged)
Avatar
SLOWCHRIS
  • MEMBER
  • 1 POST
were is spark plug number 2 i ran a diagnostic on my car and it said miss fire in cylinder #2
Jan 16, 2021 at 9:57 AM (Merged)
Avatar
DAVE H
  • CERTIFIED EXPERT
  • 13,384 POSTS
hope this helps .. 4 cylinder


https://www.2carpros.com/forum/automotive_pictures/266999_4_3.jpg

6 cylinder


https://www.2carpros.com/forum/automotive_pictures/266999_6_2.jpg

Jan 16, 2021 at 9:57 AM (Merged)
Avatar
BLUNTMAN
  • MEMBER
  • 1 POST
spark plug wiring diagram?
Jan 21, 2021 at 10:10 AM (Merged)
Avatar
BLUELIGHTNIN6
  • CERTIFIED EXPERT
  • 16,542 POSTS
Hello,


The firing order for you engine is is below (click to enlarge). Check out the diagrams (Below). Please let us know if you need anything else to get the problem fixed.
Jan 21, 2021 at 10:10 AM (Merged)
Avatar
RICH3435
  • MEMBER
  • 2 POSTS
I would like to know if you can explain the firing order for spark plug wiring
Jan 21, 2021 at 10:10 AM (Merged)
Avatar
BMRFIXIT
  • CERTIFIED EXPERT
  • 19,053 POSTS


https://www.2carpros.com/forum/automotive_pictures/99387_Graphic2_183.jpg


https://www.2carpros.com/forum/automotive_pictures/99387_Graphic3_84.jpg


https://www.2carpros.com/forum/automotive_pictures/99387_Graphic4_41.jpg

Jan 21, 2021 at 10:10 AM (Merged)
Avatar
RICH3435
  • MEMBER
  • 2 POSTS
what is the cylinder layout and firing order for 3.0 dohc v6 engine in 97 taurus?
Jan 21, 2021 at 10:10 AM (Merged)
Avatar
MHPAUTOS
  • CERTIFIED EXPERT
  • 31,937 POSTS
HI there, See pic for both versions of firing order layout. mark (mhpautos)


https://www.2carpros.com/forum/automotive_pictures/61395_1_10.jpg


https://www.2carpros.com/forum/automotive_pictures/61395_2_3.jpg

Jan 21, 2021 at 10:10 AM (Merged)
Avatar
SMYLIE
  • MEMBER
  • 1 POST
1996 Ford Taurus 6 cyl
----------------------------------------------------------------
What is the firing order, and how are the cylinders numbered on the 3 liter engine?
Jan 21, 2021 at 10:10 AM (Merged)
Avatar
RASMATAZ
  • CERTIFIED EXPERT
  • 75,992 POSTS
3.0L engine w/2 valves


https://www.2carpros.com/forum/automotive_pictures/12900_2valve_1.jpg

3.0L engine w/4 valves


https://www.2carpros.com/forum/automotive_pictures/12900_4valve_1.jpg

Jan 21, 2021 at 10:10 AM (Merged)
Avatar
CT0483
  • MEMBER
  • 1 POST
does anyone have a diagram of the firing pattern?
Jan 21, 2021 at 10:11 AM (Merged)
Avatar
BLUELIGHTNIN6
  • CERTIFIED EXPERT
  • 16,542 POSTS


https://www.2carpros.com/forum/automotive_pictures/261618_Graphic_162.jpg

Jan 21, 2021 at 10:11 AM (Merged)
Avatar
LPGREENE
  • MEMBER
  • 1 POST
What is the firing order for a 1995 Ford Taurus?
Jan 21, 2021 at 10:11 AM (Merged)
Avatar
BUDDYCRAIGG
  • CERTIFIED EXPERT
  • 2,262 POSTS
if you have a 3.0liter engine is a U engine code
it's


Firing order 1-4-2-5-3-6
Distributor rotates clockwise

cylinders 123 are against the fire wall
456 are towards the front of the car
Jan 21, 2021 at 10:11 AM (Merged)
Avatar
JLHGETSOME
  • MEMBER
  • 2 POSTS
I want to know how to take out the spark plugs from wires without messing anything up? And how to put them on carefully and right?
Jan 21, 2021 at 10:11 AM (Merged)
Avatar
MERLIN2021
  • CERTIFIED EXPERT
  • 17,250 POSTS
Check your plug wires for proper routing, it sounds like you crossed 2 of them, or the timming is off, Locate the spout connector, remove the plug in the end of it, then set timming to 10 BTDC.


https://www.2carpros.com/forum/automotive_pictures/62217_Firing_OrderV6_1.jpg

Jan 21, 2021 at 10:11 AM (Merged)
Avatar
DDOGWILLEY
  • MEMBER
  • 1 POST
Engine Mechanical problem
1992 Ford Taurus 6 cyl Two Wheel Drive Automatic

hi i am wanting to know what the firing order is for my car and were
Jan 21, 2021 at 10:11 AM (Merged)
Avatar
BMRFIXIT
  • CERTIFIED EXPERT
  • 19,053 POSTS
need to know what do you have for an engine


https://www.2carpros.com/forum/automotive_pictures/99387_Graphic1_565.jpg


https://www.2carpros.com/forum/automotive_pictures/99387_Graphic2_272.jpg


https://www.2carpros.com/forum/automotive_pictures/99387_Graphic3_121.jpg

Jan 21, 2021 at 10:11 AM (Merged)
Avatar
SKYSOLDIER1967_1968
  • MEMBER
  • 1 POST
Show me and picture of the firing order of spark pulgs where each spark plug go
Jan 21, 2021 at 10:11 AM (Merged)
Avatar
MERLIN2021
  • CERTIFIED EXPERT
  • 17,250 POSTS
If you PLEASE!!! Thanks!


https://www.2carpros.com/forum/automotive_pictures/62217_Firing_Order30_1.jpg

3.0 liter


https://www.2carpros.com/forum/automotive_pictures/62217_Firing_Order38_1.jpg

3.8 liter
Jan 21, 2021 at 10:11 AM (Merged)
Avatar
ARSILVA
  • MEMBER
  • 1 POST
1998 ford taurus SE 3.0 121000 miles.I replaced the spark plugs and the wire set and it runs worse than it did before. Double checked the parts and they are the correct ones with the correct gap. Possibke crossed wires? What is the correct wire set up and what could be the problem?
Jan 21, 2021 at 10:11 AM (Merged)
Avatar
BMRFIXIT
  • CERTIFIED EXPERT
  • 19,053 POSTS
this is the firing order hope that helpand GOOD LUCK


https://www.2carpros.com/forum/automotive_pictures/99387_ford_3.jpg

Jan 21, 2021 at 10:11 AM (Merged)
Avatar
MEDIOCRE AT REPAIRS
  • MEMBER
  • 1 POST
Replaced the coil pack and spark plugs and now it is rough idling. I must have put the wires on wrong. Could you please provide me with a diagram to follow to make sure they are put in the right order?
Nov 25, 2024 at 4:57 PM (Merged)
Avatar
STRAILER
  • CERTIFIED EXPERT
  • 53,854 POSTS
Look through this post is has the info you need.
Nov 25, 2024 at 4:58 PM