Torque converter lock-up solenoid replacement

2005 FORD ESCAPE
136,000 MILES • 3.0L • V6 • 4WD • AUTOMATIC
Avatar
JARED LARSON
  • MEMBER
  • 3 POSTS
Hello, my vehicle stalled at a stop light. It was towed to a mechanic who said he thought the lock-up solenoid needed to be replaced. The vehicle started and drove the next day so we did not replace the solenoid. Do you think that is the issue? Could it be a bad torque converter? Also, there is no check engine light.

How do you go about replacing the solenoid? Where is it located? I am pretty sure you have to replace the entire pack. Does the control solenoid contain the TCC (lock-up) as well? Any help is appreciated. Thanks.
Nov 13, 2017 at 6:40 PM
Advertisement
Avatar
STRAILER
  • CERTIFIED EXPERT
  • 53,855 POSTS
Hello,

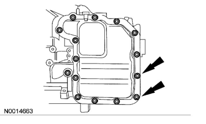
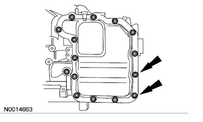
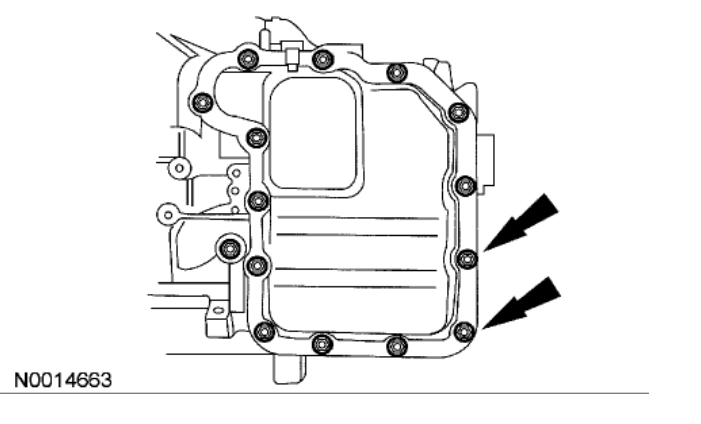
These cars had a problem with the torque converter falling apart in some models. Sometimes it is worth trying the replace the TCC solenoid. Below is a set of diagrams that will show you how to do the job to see if this fixes the problem. I just want you to know my shop has replaced a lot of these transmissions.

Please let us know what you find. We are interested to see what it is.

Cheers, Ken
Nov 15, 2017 at 12:32 PM
Avatar
JARED LARSON
  • MEMBER
  • 3 POSTS
Thanks for the help. I really appreciate it.
Nov 15, 2017 at 3:39 PM
Advertisement
Avatar
JARED LARSON
  • MEMBER
  • 3 POSTS
One more quick question; should I disconnect the battery before doing this?
Nov 16, 2017 at 11:17 AM
Avatar
STRAILER
  • CERTIFIED EXPERT
  • 53,855 POSTS
Yes that would be a good idea.

Let us know what happens and please upload pictures or videos of the problem.

Cheers, Ken

Nov 17, 2017 at 11:41 AM