put it on the ac diagnostic machine, said Schrader valves were leaking

2004 ACURA TL
129,000 MILES • 2WD • AUTOMATIC
Avatar
DSOARD
  • MEMBER
  • 1 POST
went to the dealer, they put it on the ac diagnostic machine, said Schrader valves were leaking. replaced. still blowing cold for five minutes then going hot, turn off five minutes then cold again for five min utes repeat. went back to dealer, back on the diagnostic machine. now I am told clutch and coil are bad and the condenser fan relay is bad. can all that go wrong at once and is there a chance one of the problems could cause the other problem? help before I spend myself into a new car...
Jul 9, 2014 at 10:14 AM
Advertisement
Avatar
HMAC300
  • CERTIFIED EXPERT
  • 48,601 POSTS
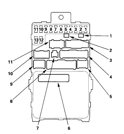
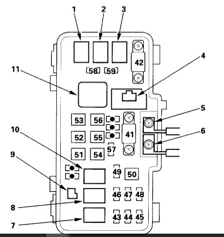
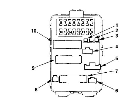
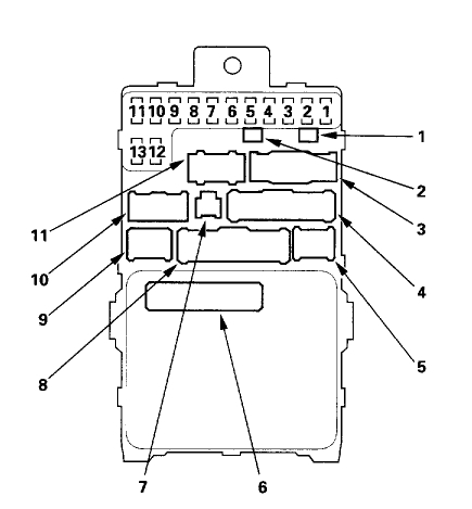
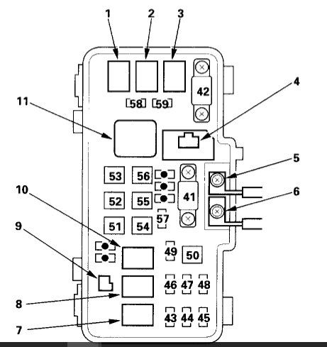
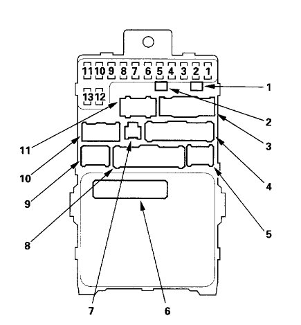
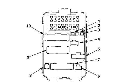
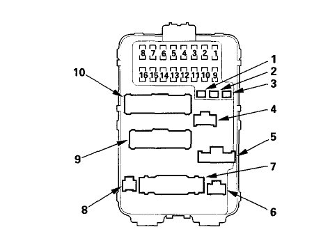
they cold have gone bad or it's a coincidence. probably the clutch coil isn't working properly and not pulling the clutch in it could also be the clutch may be to far from the coil to work as well. the fan problem could be a relay gone bad so look in underhood fuse box diagram below. Fuse #3 and #58

https://www.2carpros.com/articles/how-to-check-a-car-fuse

Check out the diagrams (Below). Please let us know what you find.
Apr 26, 2021 at 10:53 AM