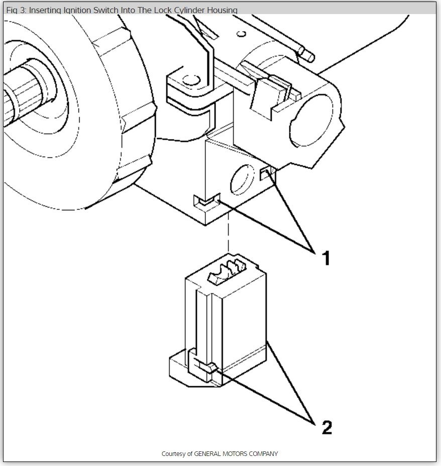
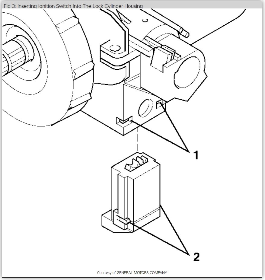
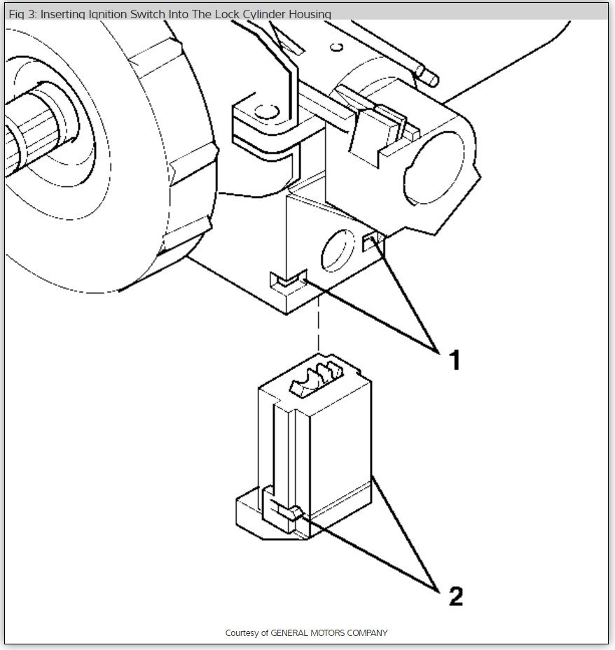
It sounds like the ignition tumbler with need to be replaced take your vin number to the dealer when you buy the tumbler and new key so they can code it for you before you install it. Here are diagrams to help you see what you are ifn for when doing the job.
Check out the diagrams (Below). Please let us know if you need anything else to get the problem fixed.
Cheers
Images (Click to enlarge)
Dec 11, 2011 at 9:40 PM