car will not go into park, it shows park but still rolls

2003 BUICK RENDEZVOUS
Avatar
KMORGAN.MIDWEST
  • MEMBER
  • 2 POSTS
We replaced a motor, the awd was disabled and so we changed the hub assembly and now the car will not go into park. It shows it is in park but then it will still roll. Help!
Mar 15, 2012 at 10:06 PM
Advertisement
Avatar
HMAC300
  • CERTIFIED EXPERT
  • 48,601 POSTS
check your cable for adjustment or broken going to trans shifter. have someone shift it an dwatch trans lever to see if it goes into park all the way.
Mar 15, 2012 at 10:42 PM
Avatar
KMORGAN.MIDWEST
  • MEMBER
  • 2 POSTS
We did what you said and it is going into park all the way. The doors even unlock when you put it in park like they are suppose to. Any other suggestions?
Mar 15, 2012 at 11:57 PM
Advertisement
Avatar
HMAC300
  • CERTIFIED EXPERT
  • 48,601 POSTS
either i haven't understood you or you have seomthing else worng. if it is going into park then your linkage inside teh trans may to be working, either a broken parking pawl orspring or the linkage inside is messed up. have a trans guy look at this.
Mar 16, 2012 at 4:22 PM
Avatar
JAMIESMITH8163
  • MEMBER
  • 2 POSTS
we found out what was wrong the shifting linkage is set to far forward and needs to go back how do we adjust it same vehicle as kmorgan.
Mar 16, 2012 at 5:38 PM
Avatar
HMAC300
  • CERTIFIED EXPERT
  • 48,601 POSTS
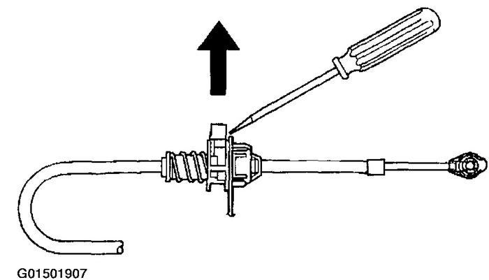
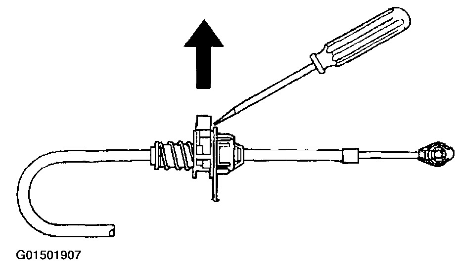
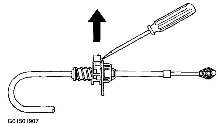
AUTOMATIC TRANSMISSION RANGE SELECTOR CABLE ADJUSTMENT

NOTE: Adjust the automatic transaxle range selector cable while the transaxle and while the gear selector are in the Neutral position only. Failure to do so may cause
mis adjustment.

1. Set the parking brake.
2. Block the wheels.
3. Use an appropriate tool to pry on the automatic transaxle range selector cable terminal at the automatic transaxle range selector lever pin to remove the automatic transaxle range selector cable terminal from the
transaxle manual shaft lever pin. DO NOT pry and DO NOT pull up on any other part of the automatic transaxle range selector cable or damage may occur.
4. Fully lift the adjuster lock button. Ensure the adjuster is free to move.
5. Rotate the automatic transaxle range selector lever fully counterclockwise to the Park gear, then rotate the lever clockwise 2 clicks into the Neutral gear to place the automatic transaxle range selector lever in the
Neutral gear.
6. Perform the following steps to place the inside car gear shifter in the Neutral position:
6.1. Rotate the shift lever to the Low 1 position, fully down.
6.2. Push forward on the lever while slowly pushing up. The gear shift lever moves up while clicking over the gear over travel stops.
6.3. Release the gear shift lever once the gear shift lever stops solidly. The gear shift lever is in the Neutral gear.
7. Grasp the automatic transaxle range selector cable terminal in the underhood.

Fig. 241: Adjusting Automatic Transmission Range Selector Cable (1 Of 2)
Courtesy of GENERAL MOTORS CORP.

8. Pull the automatic transaxle range selector cable terminal toward the pin on the automatic transaxle range selector lever. The automatic transaxle range selector cable adjuster spring should compress as the terminal
is moved toward the pin.
9. Carefully push down the pin until the pin snaps to attach the pin to the automatic transaxle range selector lever. Do NOT move the automatic transaxle range selector lever out of position. DO NOT pull the terminal
beyond the pin then push back or the shifter may move out of the Neutral gear.
10. Press the adjuster lock button down flush with the adjuster body.
11. Shift to Park.
12. Release the parking brake while applying the service brake.
Mar 16, 2012 at 6:35 PM
Avatar
JAMIESMITH8163
  • MEMBER
  • 2 POSTS
Thanks so much everything is working great now. Thanks so much for your help
Mar 16, 2012 at 11:30 PM