Radiator

2002 CHEVROLET CAVALIER
4 CYL
Avatar
STARJONES21
  • MEMBER
  • 1 POST
How to replace a radiator in a 2002 Chevy Cavalier?
Apr 17, 2011 at 5:17 PM
Advertisement
Avatar
STRAILER
  • CERTIFIED EXPERT
  • 53,855 POSTS
Hello,

Start by disconnecting the battery, you may need to discharge the ac system if you cant get the condenser away from the radiator. Some guys can remove the condenser from the radiator inside the car but if not this guide will show you how to do the air conditioner portion of the repair.

https://www.2carpros.com/articles/re-charge-an-air-conditioner-system

This guide will give you an idea on what you are in for when replacing the radiator.

https://www.2carpros.com/articles/how-to-replace-a-car-radiator

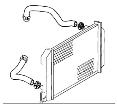
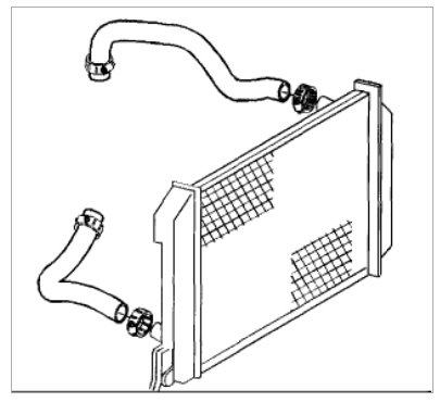
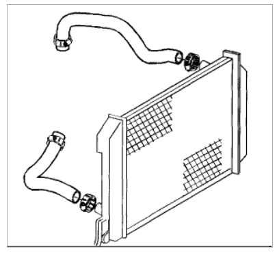
Here are some diagrams that will show you what it is like to replace the radiator on your car

Check out the diagrams (Below)

Please let us know if you need anything else to get the problem fixed.

Cheers, Ken
Dec 1, 2017 at 3:49 PM
Avatar
DTHOMAS17111
  • MEMBER
  • 1 POST
Engine Cooling problem
2000 Chevy Cavalier 4 cyl Front Wheel Drive Manual 125547 miles

I own a 2000 Chevy Cavalier "5 speed", but it has a leaking radiator. I went to the nearest junk yard and purchased a radiator for my car. The problem is that the purchased radiator came from a 2000 Chevy Cavalier with an "automatic transmission!" Is it still possible to use the radiator with a few mods, or is there anything such as plugs available to purchase without it damaging my car after the swap out?
Dec 1, 2017 at 3:49 PM (Merged)
Advertisement
Avatar
MMPRINCE4000
  • CERTIFIED EXPERT
  • 8,548 POSTS
As long as the physical measurements are the same and it fits, you can use it, just plug the trans. oil cooler lines, since they are not used in the manual trans. They should be identical (upper and lower coolant hoses) except for oil cooler lines.

Most aftermarket replacements would come with oil cooler lines, wheather manual or auto. GM makes two different radiators, one manual (no cooler) and one automatic (cooler).
You COULD NOT use a GM manual radiator in an automatic.
Dec 1, 2017 at 3:49 PM (Merged)
Avatar
CARDUMMIE123
  • MEMBER
  • 3 POSTS
The hose connected to the radiator broke will I have to replace the whole radiator or can I just replace the hose?l
Dec 1, 2017 at 3:49 PM (Merged)
Avatar
JACOBANDNICKOLAS
  • CERTIFIED EXPERT
  • 110,175 POSTS
If it is the hose, you can just replace it. There are two clamps that need removed then the hose will come off. Install new clamps when replacing the hose and make sure to refill the radiator with coolant.
Dec 1, 2017 at 3:49 PM (Merged)
Avatar
CARDUMMIE123
  • MEMBER
  • 3 POSTS
What if it is the radiator that needs too be replaced how much is it going to cost
Dec 1, 2017 at 3:49 PM (Merged)
Avatar
JACOBANDNICKOLAS
  • CERTIFIED EXPERT
  • 110,175 POSTS
I would guess you could get a new radiator for under 200.00. Based on where you live, that can change. Then you would need coolant, clamps, and the hose if it needs replaced.
Dec 1, 2017 at 3:49 PM (Merged)
Avatar
CCWISECUP
  • MEMBER
  • 1 POST
Engine Cooling problem
2000 Chevy Cavalier 4 cyl Front Wheel Drive Automatic 213000 miles

how do i change the radaitor in my 2000 chevy cavalier.. do i have to take it out the top or out of the bottom and if i do how do i do it.
Dec 1, 2017 at 3:49 PM (Merged)
Avatar
MMPRINCE4000
  • CERTIFIED EXPERT
  • 8,548 POSTS
The best thing to do is to use car repair manual link in this thread or get a Haynes manual.

Read procedure and see first, if you have the tools and equipment to do it, (jack stands, floor jack, basic tool set). These manuals cost $20 and will pay for themselves the first repair you do.
Dec 1, 2017 at 3:49 PM (Merged)