i need to replace the knock sensor can you tell me where it is located on the engine and what it looks like

2001 SUBARU OUTBACK
182,000 MILES
Avatar
ROCKYD
  • MEMBER
  • 2 POSTS
the chenk engine lite is on the repair people said the faulr code is a bad knock sensor and amisfiree in cylinder 4. they are replacing a started on the car and we donot have enough money for the rest of repairs that come to $1400.00. I know i can do the knock sensor if i find out where it is and what it looks like .please help thank s rocky
Sep 9, 2011 at 12:00 AM
Advertisement
Avatar
JACOBANDNICKOLAS
  • CERTIFIED EXPERT
  • 110,175 POSTS
Here is what I was able to find. I hope it helps.

Disconnect the negative battery cable.
Remove the air cleaner case.
On DOHC engine, remove the intercooler.
Disconnect the sensor connector.
Remove the sensor from its mounting.


To install:

Installation is the reverse of the removal procedure.
Tighten the sensor to 17.4 ft. lbs.

NOTE
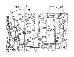
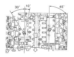
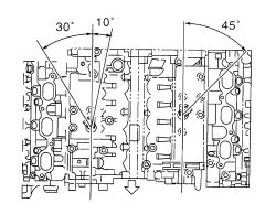
The extraction area of the knock sensor wire must be positioned at a 60 degree angle relative to the engine rear.

Sep 9, 2011 at 1:35 AM
Avatar
KHLOW2008
  • CERTIFIED EXPERT
  • 41,814 POSTS
Refer to diagram.
Sep 9, 2011 at 12:56 PM
Advertisement