spark plug wiring order

2001 MERCURY SABLE
6 CYL • 2WD • AUTOMATIC
Avatar
MARCOS7449
  • MEMBER
  • 5 POSTS
2001 mercury sable 3.0 24v spark plug wiring diagram
Mar 21, 2011 at 1:30 AM
Advertisement
Avatar
RASMATAZ
  • CERTIFIED EXPERT
  • 75,992 POSTS
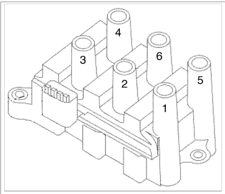
There are two different engine for these firing orders so I gave you both.

Check out the diagrams (Below)

Please let us know if you need anything else to get the problem fixed.

Cheers
Mar 21, 2011 at 1:43 AM
Avatar
FOURAM
  • MEMBER
  • 1 POST
What is the order and where can i find a diagram
Dec 25, 2020 at 9:13 AM (Merged)
Advertisement
Avatar
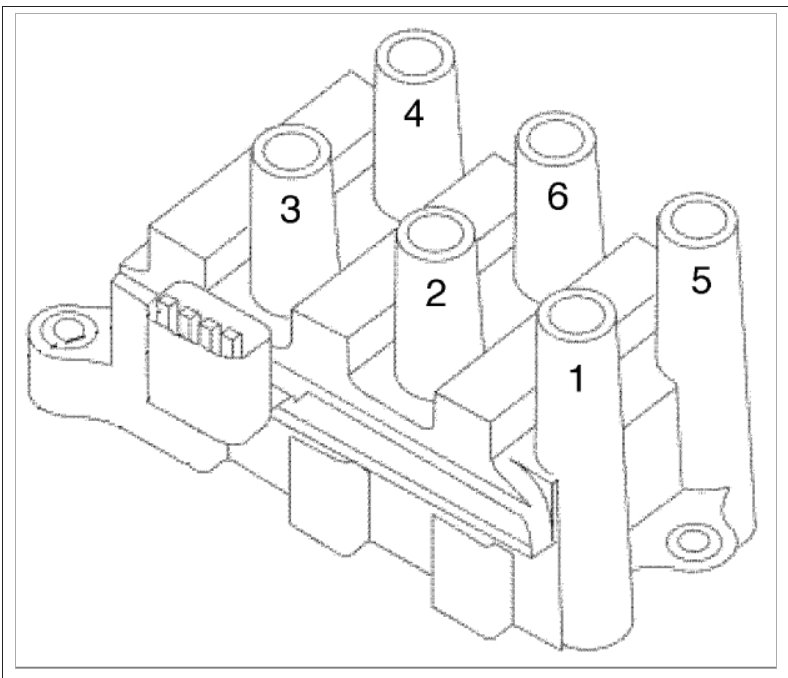
RASMATAZ
  • CERTIFIED EXPERT
  • 75,992 POSTS
See below


https://www.2carpros.com/forum/automotive_pictures/12900_fo_2.jpg

Dec 25, 2020 at 9:13 AM (Merged)
Avatar
GEPIERRE
  • MEMBER
  • 1 POST
Engine Performance problem
1999 Mercury Sable 6 cyl Front Wheel Drive Automatic

Can you tell me the Spark Plug firing order for a 1999 Mercury Sable. I took the wire set off and don't know how to replace them correctly?
Dec 25, 2020 at 9:14 AM (Merged)
Avatar
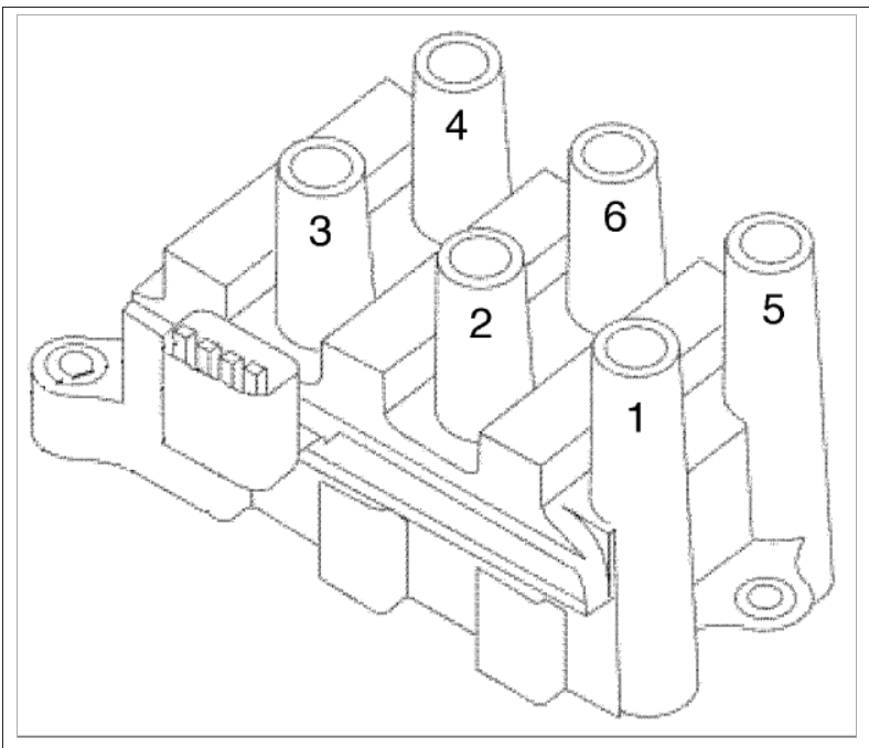
STRAILER
  • CERTIFIED EXPERT
  • 53,855 POSTS
Hey GEPIERRE,

I found this guide for you that shows the firing order and the plug wire location.

Please let me know if you need anything else to get the problem fixed.

Best, Ken
Dec 25, 2020 at 9:14 AM (Merged)
Avatar
RUTHLESSCUSTOMWORKS
  • MEMBER
  • 1 POST
Engine Performance problem
1990 Mercury Sable 6 cyl Automatic

what is the correct firing order 1990 mercuy sable 3.8
Dec 25, 2020 at 9:14 AM (Merged)
Avatar
BMRFIXIT
  • CERTIFIED EXPERT
  • 19,053 POSTS


https://www.2carpros.com/forum/automotive_pictures/99387_Graphic2_145.jpg


https://www.2carpros.com/forum/automotive_pictures/99387_Graphic3_67.jpg

Dec 25, 2020 at 9:14 AM (Merged)