vibration in the body

2001 JEEP GRAND CHEROKEE
149,000 MILES • 6 CYL • 4WD • AUTOMATIC
Avatar
JAMAL2001
  • MEMBER
  • 4 POSTS
All the tyres are not out-of-round and good balanced!
First I suspect the rear propeller shaft then I took it to the workshop to get fine balance, but it still vibrating!
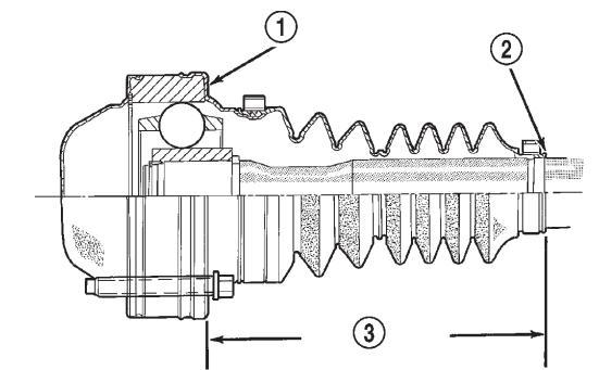
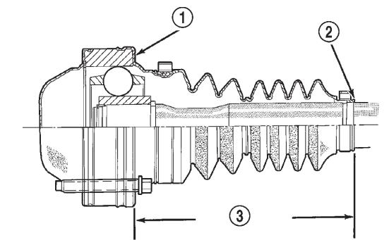
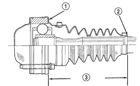
Then I change mind to the front propeller shaft, when I remove it the vibration disappeared, so my Suspicion is the constant velocity joint or something in front axle.

Note:the front propeller shaft is balanced in a work-shop.
Dec 11, 2010 at 6:33 PM
Advertisement
Avatar
JACOBANDNICKOLAS
  • CERTIFIED EXPERT
  • 110,175 POSTS
Have you checked the u-joints to the front?
Dec 17, 2010 at 3:39 AM
Avatar
JAMAL2001
  • MEMBER
  • 4 POSTS
The propeller shaft I've got uses a constant velocity C/V joint at both the axle and transfercase end of the propeller shaft !
Dec 17, 2010 at 9:47 PM
Advertisement
Avatar
JACOBANDNICKOLAS
  • CERTIFIED EXPERT
  • 110,175 POSTS
Yes, I was refering to the front drive shaft.
Dec 19, 2010 at 12:49 AM