Valve Adj.; intake loose, exhaust tight, over time;Fact or Myth?

2001 HONDA ACCORD
105,000 MILES • 6 CYL • FWD • AUTOMATIC
Avatar
JUSTADRIVER
  • MEMBER
  • 16 POSTS
I am seeing on the net that the intake valve gets loosener over time and exhaust gets tighter over time. But after checking, intake and exhaust are loose.

Intake did loosen a lot (I can insert 0.011 inch in it). But exhaust I can't tell. I adjusted half of my engine yesturday but on the exhaust side, no matter what I do, I can always insert 0.015 inch. It is really tight for 0.015, I can barely move it around. But going back to the point.

To me, I think both intake and exhaust gets loose over time.

And if I am correct, then I should set the gap to the lowest factory setting as possible to both intake and exhaust.

Note:
What I did was, I set the intake side to the lowest gap by the factory (0.008 inch). And also for the intake, I can NOT insert 0.009. You might say tight but it moves around nicely.

But for exhaust side, my options are 0.011 to 0.013. And since I heard exhaust gets tight I would set this to 0.012. A little tight for 0.012 so that it feels smooth for 0.011. But as I said, I can squeeze in 0.015. Strange.

So again, my exhaust was not tight. They were loose just as the intake. And if all becomes loose over time, then I need to re-adjust my exhaust.

Thanks.
May 11, 2011 at 7:13 PM
Advertisement
Avatar
DOCFIXIT
  • CERTIFIED EXPERT
  • 18,828 POSTS
Are you adjusting each cylinder at TDC with timing mark aligned with rear cover mark?
May 11, 2011 at 7:57 PM
Avatar
JUSTADRIVER
  • MEMBER
  • 16 POSTS
Ofc! I am following the guide in Haynes manual.
May 11, 2011 at 8:00 PM
Advertisement
Avatar
DOCFIXIT
  • CERTIFIED EXPERT
  • 18,828 POSTS
Well does Haynes tell you to adjust as I asked?
May 11, 2011 at 8:04 PM
Avatar
JUSTADRIVER
  • MEMBER
  • 16 POSTS
It says align the timing marks on the cam on cylinder to be worked on.

Well it goes by the firing order. I think the order was 1, 4, 2, 5, 3, 6. The book is in the garage by my car atm. And I am working on something else too.

A mech online said I don't have to follow the firing order. As long as the timing mark is on the cylinder I am working on then I am fine.

May 11, 2011 at 8:17 PM
Avatar
DOCFIXIT
  • CERTIFIED EXPERT
  • 18,828 POSTS
That is correct order and your adjusting both intake and exhaust at same time? is it possible when tighting hold nut adjustment moves? Have you tried keeping feeler in position while tighting? exhaust set bigger gap because temp makes it grow as valves wear the gap gets tighter but takes several thousand miles.
May 11, 2011 at 8:31 PM
Avatar
JUSTADRIVER
  • MEMBER
  • 16 POSTS
I am adjusting both intake and exhaust at the same time as I seen on internet and as I see it on Haynes manual.

I am holding the screw in place as I am tightening the nut. But from the experience, the screw doesn't move. So far I only had one screw that did that but I used NEW engine oil to clean it. Then it didn't have that problem.

As for putting the feeler gauge in as I am tightening the nut, how I am doing it is, I am inserting next higher feeler gauge as a place holder for the screw. The next higher gauge will not go in all the way but it inserts just enough of the tip to put pressure on the screws. Then I tighten (and/or torquing) the nut. It works very well, but for the exhaust side, I use the highest I can get. That's how I found out about the strangeness of the exhaust side. If I keep squeezing it in, it keeps going in. As if I am able to squeeze the valve springs with my feeler gauges. Another logical reasoning I can think of is, the exhaust side is angled. The contact tips of the valves, are not exactly parallel like it is in the intake side. So that may have some effect.

And finally, I don't understand you by "exhaust set bigger gap because temp makes it grow as valves wear the gap gets tighter but takes several thousand miles."

I think you mean, set the exhaust side slightly bigger than the smallest gap size by the factory because over time exhaust side DO get TIGHTER.

So it is a FACT that exhaust side of the valves do get tighter. But how come my car didn't? Intake did got loose, but my exhaust is 0.011 to 0.012, which is the factory setting.

Very, very strange. But so I guess setting my exhaust to 0.012 is perfectly fine. I hope it won't be noisy.



May 11, 2011 at 8:57 PM
Avatar
PMARS
  • MEMBER
  • 1 POST
I just finished the first ever valve adjustment on my 2000 3.0 V6 Accord with 124,000 miles... my intakes were at .014 and my exhausts were at .015

I have re-set them to .008 and .013

No idea why the difference from all the experts, but all valves were so similar it was scary!!

Engine sounds a tiny bit quieter now and maybe smoother. Still no resolution to my random startup fail, but as I expected, the valves had nothing to do with it.
Jan 7, 2012 at 6:24 AM
Avatar
BANKONE1
  • MEMBER
  • 1 POST
Engine Performance problem
2001 Honda Accord 6 cyl Two Wheel Drive Automatic

How do I do a valve adjustment on my vehicle. I know you take off the valve covers, but how do you adjust them. Thanks.
Jan 2, 2019 at 5:54 PM (Merged)
Avatar
KHLOW2008
  • CERTIFIED EXPERT
  • 41,814 POSTS
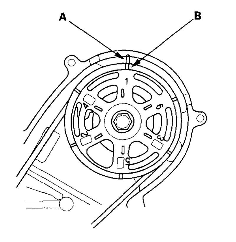
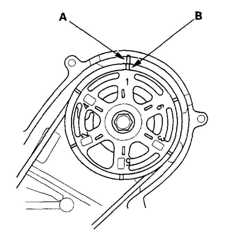
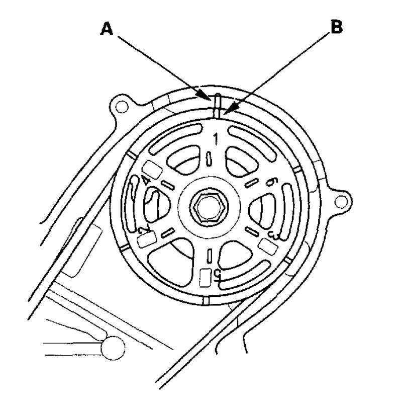
Hi Bankone1, Thank you for the donation. Here are the procedures for adjusting the valve clearances. ADJUSTMENTS VALVE CLEARANCE ADJUSTMENT 1. Ensure engine temperature is less than 100 °F (38 °C). Remove throttle body cover intake manifold cover and intake manifold cover stay. See Fig. 1 . Remove EVAP control canister hose from throttle body. Remove vacuum hose, breather pipe and intake air duct. Loosen throttle cable and cruise control lock nuts to slip throttle and cruise control cables out of accelerator linkage, and remove throttle and cruise control cables. DO NOT bend cables when removing them. Remove brake booster vacuum hose, vacuum hoses and PVC hose. Remove intake manifold, valve covers, and front upper cover. Rotate engine until No. 1 piston TDC mark on front camshaft sprocket is aligned with mark on rear of front cover. See Fig. 2. Adjust cylinder No. 1 to proper specification as necessary. See VALVE CLEARANCE SPECIFICATION table. 2. Rotate crankshaft clockwise until No. 4 piston TDC mark on front camshaft sprocket is aligned with mark on rear of front cover. Adjust cylinder No. 4 to proper specification as necessary. 3. Rotate crankshaft clockwise until No. 2 piston TDC mark on front camshaft sprocket is aligned with mark on rear of front cover. Adjust cylinder No. 2 to proper specification as necessary. 4. Rotate crankshaft clockwise until No. 5 piston TDC mark on front camshaft sprocket is aligned with mark on rear of front cover. Adjust cylinder No. 5 to proper specification as necessary. 5. Rotate crankshaft clockwise until No. 3 piston TDC mark on front camshaft sprocket is aligned with mark on rear of front cover. Adjust cylinder No. 3 to proper specification as necessary. 6. Rotate crankshaft clockwise until No. 6 piston TDC mark on front camshaft sprocket is align with mark on rear of front cover. Adjust cylinder No. 6 to proper specification as necessary. VALVE CLEARANCE SPECIFICATION Valve - - - - -Specification Intake 0.008-.009" (.20-.24 mm) Exhaust 0.011-.013" (.28-.32 mm)


https://www.2carpros.com/forum/automotive_pictures/192750_ValveAdjustment01Accord6cylFig01_1.jpg


https://www.2carpros.com/forum/automotive_pictures/192750_ValveAdjustment01Accord6cylFig02_1.jpg

Jan 2, 2019 at 5:54 PM (Merged)
Avatar
BKBETHERS
  • MEMBER
  • 1 POST
According to the Honda maintenance schedule in the owners manual at 105000 miles I need to replace the timing belt and "inspect valve clearance". I am having a shop do the timing belt. I got a quote for the entire 105000 mile service and the cost to do the valve adjustment is more than the timing belt. I asked if there is a distinction between "inspecting" the valves and "adjusting" the valves. The response was "essentially, no. You pretty much just adjust them to specs and after 105000 miles they are surely out of spec." The car seems to run just fine and gets very good gas mileage.

Here are my questions... if the car appears to run fine is there any benefit to be gained from a costly valve adjustment? Without the valve adjustment are there any risks of doing damage to engine that would result in more costly repairs in the future? Is there an economical way to diagnose the need of a valve adjustment that will allow me to avoid spending money unnecessarily?
Jan 2, 2019 at 5:54 PM (Merged)