ignition switch stuck

2001 CADILLAC DEVILLE
85,000 MILES • V8 • FWD • AUTOMATIC
Avatar
IMPVME
  • MEMBER
  • 1 POST
how do I replace the ignition lock in 2001 Cadillac deville starting with removing the steering column trim? The key can no longer go into the lock. it was damaged by a screwdriver....
Dec 21, 2010 at 4:57 AM
Advertisement
Avatar
STRAILER
  • CERTIFIED EXPERT
  • 53,854 POSTS
Hello,

Here are the instructions and some diagrams (BELOW) to help you get the job done.

Disconnect the ignition battery. Refer to Battery Negative Cable Disconnect/Connect Procedure in Starting and Charging.
Remove the knee bolster. Refer to Knee Bolster Replacement - Left in Instrument Panel, Gauges and Warning Indicators.
Position the steering wheel half way between the upper and lower tilt stops (if necessary).
Remove the steering wheel. Refer to Steering Wheel Replacement.
If equipped remove the manual tilt lever.
Remove the lower steering column trim cover retaining screws (4).
Disconnect the closeout shroud from the lower steering column trim cover.
Remove the upper steering column trim cover retaining screw (2).
Lift the upper steering column trim cover to gain access to the lock cylinder access hole.
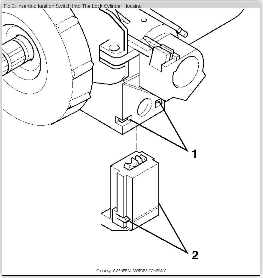
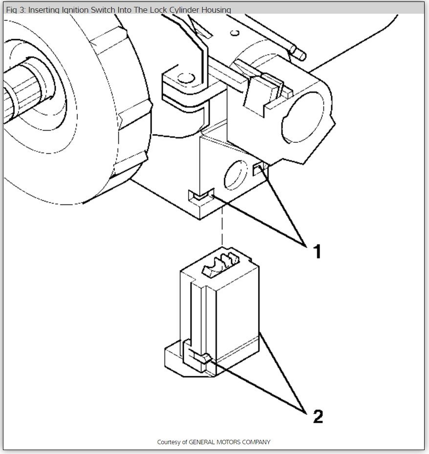
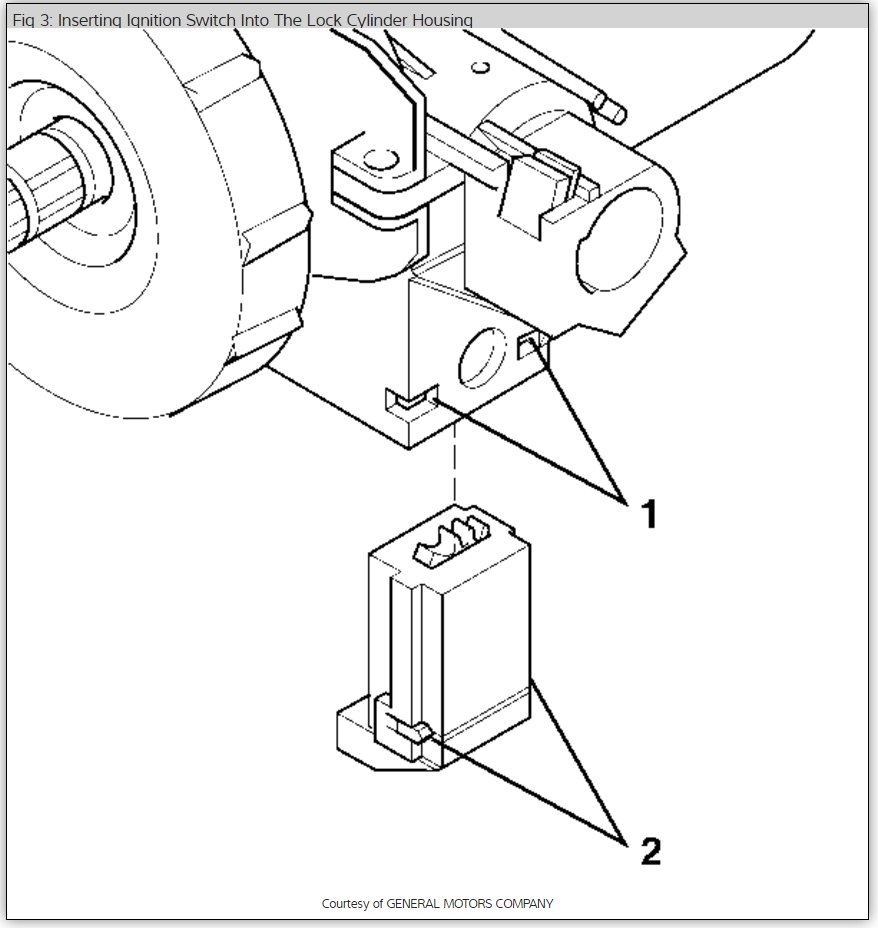
Turn the ignition lock cylinder to the START position.
Using the bent tip awl, push down on the ignition lock cylinder retaining pin.
Release the ignition lock cylinder to the RUN position.
Remove the ignition lock cylinder from the lock module.

Please let us know what happens.

Cheers, Ken

May 29, 2017 at 9:25 PM
Avatar
FOEZY
  • MEMBER
  • 1 POST
1978 Cadillac Deville V8 Two Wheel Drive Automatic 65,000 miles

I am trying to replace the ignition switch in my '78 Deville. Once the steering wheel and other components have been removed, how do I remove the switch for replacement?
May 29, 2017 at 9:25 PM (Merged)
Advertisement
Avatar
FACTORYJACK
  • CERTIFIED EXPERT
  • 4,159 POSTS
You should not have to remove steering wheel to replace ignition switch, maybe just lower the column. Unless, you are talking about the ignition cylinder where you insert the key. If it is the cylinder, and you have removed the wheel, lockplate, and turn signal switch, there should be a bolt holding retaing it(it may have a torx type head. I have not seen the innards of a 78 column, I am just going on probability.
May 29, 2017 at 9:25 PM (Merged)
Avatar
WALTWIN
  • MEMBER
  • 1 POST
I replaced the ignition switch and now the Shift position indicator won't work.
May 29, 2017 at 9:26 PM (Merged)
Avatar
ASEMASTER6371
  • CERTIFIED EXPERT
  • 52,796 POSTS
re check your work. you either broke the prindle or did not hook it back up

Roy
May 29, 2017 at 9:26 PM (Merged)
Avatar
LARRY BREVELLE
  • MEMBER
  • 6 POSTS
Electrical problem V8 Front Wheel Drive Automatic 150,00 miles
----------------------------------------------------------------
This problem has plagued me for sometime. My 1990 Cadillac Deville is having starting problems. When this problem started I could get in the vehicle and turn the ignition switch and the car would not turn over. I hear the fuel pump prime and the relays under the dash engage; however it will not start. After allowing the car to sit for 20 min or so, I get back in and it cranks up with not problems. If I travel to my destination the problems happens again. Now, the problem has good worse it takes much longer now for it to start. A friend check the starter with a screwdriver and the car turned over, but the car still would not start from the switch. We concluded that the ignition switch was defective since everthing else was working properly; the fuel pump, relays and the starter. I changed the ignition switch and the problem persist. I did not change the key switch, and I discovered that the number 11 fuse keeps blowing. Do not know if this is related to the problem, but I thought you should know. If you need any further information about this problem, email me and let me know.
Aug 8, 2019 at 6:51 PM (Merged)
Avatar
BMRFIXIT
  • CERTIFIED EXPERT
  • 19,053 POSTS
its the pass system (security system )
the key has a resister in it and if the alarm module dont read it then will not allow the starter to engage or the fuel injector open most common an open wire inside the tilt wheel area have the resister in the key measured and u can buy the same at radio shake and install it in the wiring under the steering column
Aug 8, 2019 at 6:51 PM (Merged)
Avatar
LARRY BREVELLE
  • MEMBER
  • 6 POSTS


https://www.2carpros.com/forum/automotive_pictures/216199_1990_Cadillac_Key_1.jpg

This is a picture of the actual key. Is the black part in the middle of the chrome where the chip in is? My very first thought was the key being the problem; however, the design of this key does not look like most keys which has a bigger handle. The car does not have a keyless remote. THanks for your support, I will give it a try and let you know the results.
Aug 8, 2019 at 6:51 PM (Merged)
Avatar
BMRFIXIT
  • CERTIFIED EXPERT
  • 19,053 POSTS


https://www.2carpros.com/forum/automotive_pictures/99387_casdi_1.jpg

this is the wiring diagram for the system notice the white wires .22 very small in diameter


https://www.2carpros.com/forum/automotive_pictures/99387_cadii_1.jpg

read more about the system and how its work help you understand the system PASS KEY Resistor sensing contacts are located in ignition key lock cylinder. These contact the key resistor pellet on the key when it is inserted. When the lock is rotated, battery voltage is applied through fuse No. 17 to the pass key decoder module. The pellet resistance is then compared against the resistance value stored in module. If key pellet is the proper resistance, terminal A3 is grounded, energizing the starter enable relay. At the same time, a signal is applied at terminal A2 to enable the Electronic Control Module (ECM). When this signal is received by ECM, it allows fuel injector pulses to begin. If the key resistor pellet is the wrong value, the Pass Key Decoder module will shut down for 2-4 minutes. During this interval there will be no output at terminals A2 or A3. If ignition switch is turned on again during this interval, the timer will begin over again and pass key decoder module will remain shut for another 2-4 minutes. The pass key decoder module will continue this process even if a key with the correct pellet is used to turn ignition back on. The timer is restarted by the ignition voltage at terminal A1 when ignition switch is turned to RUN position. Once timer has completed its 2-4 minute cycle with the ignition switch off, the pass key decoder module and timer are reset. A key having the correct resistor pellet can then be used to start engine. The SECURITY indicator is controlled directly by the Pass Key Decoder module. If pass key is actively preventing the vehicle from starting, this indicator will be grounded by the Pass Key Decoder module with the ignition switch in RUN, BULB TEST or START. When ignition switch is first placed in RUN, BULB TEST or START, the indicator lights for about 2 seconds as a bulb check.
Aug 8, 2019 at 6:51 PM (Merged)
Avatar
LARRY BREVELLE
  • MEMBER
  • 6 POSTS
This information is fantastic. I will follow every direction. Several last questions. The key is slightly bent, should I replace the switch and key so they both match? Will this help resolve the issue as well so that it will not happen again in the near future?

Thanks a million
Aug 8, 2019 at 6:51 PM (Merged)
Avatar
BMRFIXIT
  • CERTIFIED EXPERT
  • 19,053 POSTS
try another key 1st
Aug 8, 2019 at 6:51 PM (Merged)
Avatar
STEVE HACKMAN
  • MEMBER
  • 1 POST
My deville at times won't turn over when I hit the ignition. It just makes a slight click in the dash. Eventually, after several tries, it starts.Plenty of battery power, and I had the security system checked and replaced the relay. Mechanic told my probably the ignition switch and said it would be about $400 to fix. I found an ignition swith for $60 that appears it jsut plugs in. Is this easy to replace? and do you think this is the problem?
Thanks!
Aug 8, 2019 at 6:51 PM (Merged)
Avatar
DENNYP
  • CERTIFIED EXPERT
  • 1,824 POSTS
[quote:abb10a2947="steve hackman"]My deville at times won't turn over when I hit the ignition. It just makes a slight click in the dash. Eventually, after several tries, it starts.Plenty of battery power, and I had the security system checked and replaced the relay. Mechanic told my probably the ignition switch and said it would be about $400 to fix. I found an ignition swith for $60 that appears it jsut plugs in. Is this easy to replace? and do you think this is the problem?
Thanks![/quote:abb10a2947]This is not a repair I would recommend for a novice mechanic.It is more difficult than it appears.
Aug 8, 2019 at 6:51 PM (Merged)
Avatar
LARRY BREVELLE
  • MEMBER
  • 6 POSTS
The little white wire that you mentioned in another post is not broken; however, the plastic sleeve is damaged and the bare wire is exposed inside of the steering wheel. This may explain why the system is grounding out. Should I repair the wire? This site is awesome, I will be sending another donation in a few days, even if this issue is resolved. Thanks!!


https://www.2carpros.com/forum/automotive_pictures/216199_cut_wire_2_2.jpg

Aug 8, 2019 at 6:51 PM (Merged)
Avatar
BUZZSAW
  • CERTIFIED EXPERT
  • 1,198 POSTS
[quote:c08f281c01="steve hackman"]My deville at times won't turn over when I hit the ignition. It just makes a slight click in the dash. Eventually, after several tries, it starts.Plenty of battery power, and I had the security system checked and replaced the relay. Mechanic told my probably the ignition switch and said it would be about $400 to fix. I found an ignition swith for $60 that appears it jsut plugs in. Is this easy to replace? and do you think this is the problem?
Thanks![/quote:c08f281c01]

also what year is the car, and ign exciter may be the prob?
Aug 8, 2019 at 6:51 PM (Merged)
Avatar
BMRFIXIT
  • CERTIFIED EXPERT
  • 19,053 POSTS
this is very common with the tilt wheel
repair as needed




thank you !!!
Aug 8, 2019 at 6:51 PM (Merged)
Avatar
LARRY BREVELLE
  • MEMBER
  • 6 POSTS
From observation I believe this problem is common in tilt wheel because there is a brass piece close to these wires. When you tilt the wheel these brass parts eventually cut through the wiring. Because the piece is metal it grounds out when the key is turn or when the steering is turned causing the switch to malfunction. I also noticed that the plastic retainer that prohibits the wires from moving is broken and the wire are not in position so they get in the way of this brass object. Thank you very much I am still working!
Aug 8, 2019 at 6:51 PM (Merged)
Avatar
LARRY BREVELLE
  • MEMBER
  • 6 POSTS
My friend, problem cured. The key was bad. I went to the Caddilac dealer and when they put the key in the machine to get the pellet reading, they stated that it was unusual but the key had absolutely no signal. Because of this, I needed the vin number from the car so they could see what frequency the key needed to be, and from there they cut me another key. The key cost $30.50. I am being as detailed as possible so just like you wonderful people at 2carpros.com I may be able to assist someone in further post. Thanks for all you have done, Cadillac "Back On The Road Again"! Smile! Look forward to the donation that I promised.

Signing Out!!
Aug 8, 2019 at 6:51 PM (Merged)
Avatar
BMRFIXIT
  • CERTIFIED EXPERT
  • 19,053 POSTS
happy driving
and thank you !!
Aug 8, 2019 at 6:51 PM (Merged)