Hi,
Is the smoke coming from the exhaust or the engine compartment? If it is from the engine, make sure the valve cover gasket hasn't slipped out from under the cover or it may have been pinched and split when installed. Here are the directions for replacement. The attached pics correlate with the directions.
________________________________________________________________________________________
2000 Ford Truck Ranger 2WD L4-153 2.5L SOHC VIN C SFI
Procedures
Vehicle Engine, Cooling and Exhaust Engine Cylinder Head Assembly Valve Cover Service and Repair Procedures
PROCEDURES
Removal
1. Disconnect the battery ground cable.
pic 1
2. Disconnect the Intake Air Temperature Sensor (IAT sensor).
pic 2
3. Remove the air cleaner outlet tube.
pic 3
4. Remove the accelerator control splash shield.
pic 4
5. Remove the accelerator cable.
pic 5
6. Disconnect the crankcase vent hose from the valve cover.
pic 6
7. Disconnect the fuel charging wiring from the idle air control valve and the throttle position sensor.
pic 7
8. Disconnect the intake side spark plug wires from the front ignition coil. Position out of the way.
pic 8
9. Disconnect the exhaust side spark plug wire retainers and the engine control wiring harness from the studs on the valve cover.
10. Remove the throttle body.
- Remove the four bolts.
- Discard the gasket.
pic 9
11. Remove the vacuum line from the EGR valve and intake manifold.
pic 10
12. Remove the valve cover.
- Remove the eight bolts.
- Remove the valve cover and the gasket.
- Discard the valve cover gasket.
Installation
1. Install a new valve cover gasket on the valve cover.
2. Follow the removal procedure in reverse order.
pic 11
3. Tighten the eight bolts.
_______________________________________________________________________________
If the smoke comes from the exhaust at first start up and then stops, then suspect it is the valve seals that may have been accidentally damaged when the cam was replaced. Once the valve cover is off, check to see if the condition of the seals. If they are bad, here are the directions for replacement.
Note that the directions are with the head off. They make adapters that go into the spark plug hole and you can fill the cylinder with compressed air, holding the valve shut. That way you don't have to remove the head.
Here are the directions. The attached pics correlate with these.
_______________________________________________________________________________
2000 Ford Truck Ranger 2WD L4-153 2.5L SOHC VIN C SFI
Valve-Springs, Retainer and Valve Stem Seal
Vehicle Engine, Cooling and Exhaust Engine Cylinder Head Assembly Valve Spring Service and Repair Procedures Valve-Springs, Retainer and Valve Stem Seal
VALVE-SPRINGS, RETAINER AND VALVE STEM SEAL
pic 12
Removal
1. CAUTION: Valve spring, valve stem seal, valve spring retainer, cylinder head must be removed.
2. Remove the valve cover.
pic 13
3. Rotate the camshaft until the roller follower for the valve to be repaired is on the base circle of the cam.
pic 14
4. Install the Valve Spring Compressor, compress and hold down the valve spring.
pic 15
5. Slide out the roller finger follower over the lash adjuster.
6. Remove the spark plug for cylinder being serviced and install an air line adapter.
7. CAUTION: The crankshaft may rotate when air pressure is applied. Remove all objects from fan area.
Turn on air supply and pressurize cylinder. Air pressure may rotate the crankshaft until the piston, pin and ring reaches the bottom of the stroke.
pic 16
8. Compress the valve spring with Valve Spring Compressor and remove the valve spring retainer key valve spring retainer.
pic 17
9. Remove and discard the valve stem seal.
10. CAUTION: If air pressure has forced the piston to the bottom of the cylinder, any removal of air pressure will allow the valve(s) to drop into the cylinder. Wrap a rubber band, tape or string around the end of the valve stem to prevent valve falling into the cylinder head.
pic 18
11. Inspect the valve stem for damage. Rotate the valve and check the stem tip for damage. If replacement is required, remove the cylinder head.
Installation
pic 19
1. CAUTION: Install the valve seal protector included with the valve seal kit over the end of the valve before installing the valve stem seal will be cut by valve retainer key grooves in the valve.
Put the valve seal protector (plastic installation cap) over the end of the valve.
pic 20
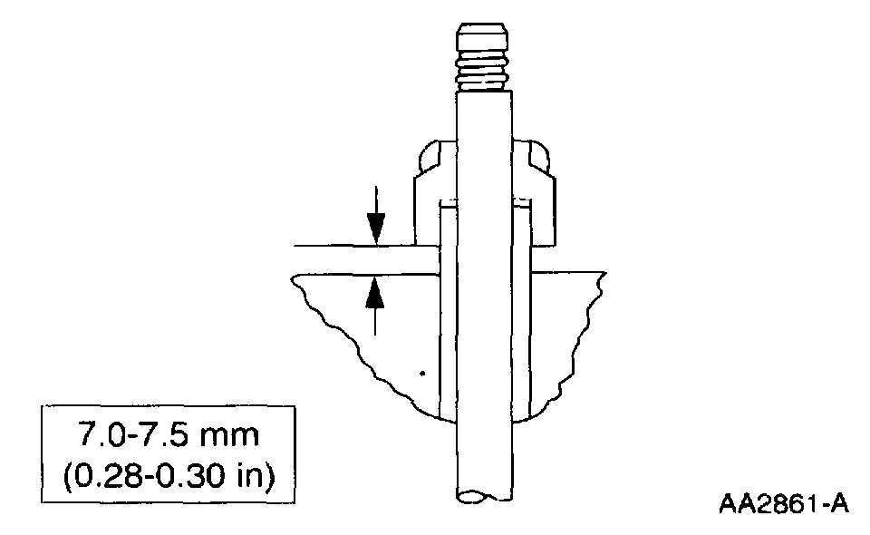
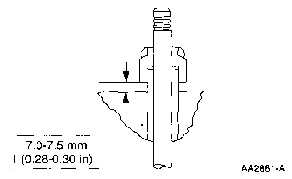
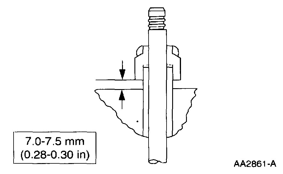
2. Install the valve stem seal, and Valve Seal Replacer Tap lightly on tool with a plastic mallet until the valve stem seal is within specification from valve guide.
pic 21
3. Remove the seal protector (plastic cap).
pic 22
4. Apply Ford Multipurpose Grease DOAZ-19584-AA or equivalent meeting Ford specification ESB-M1C93-B to the valve stem.
pic 23
5. Install the valve spring and the valve spring retainer into position.
pic 24
6. Compress the valve spring with Valve Spring Compressor and install valve spring retainer keys.
7. Release spring tension to seat valve spring retainer keys in the correct cylinder.
8. Release air pressure and remove air adapter. Install spark plugs.
9. Apply Ford Multipurpose Grease DOAZ-19584-AA or equivalent meeting Ford specification ESB-M1C03-13 to roller finger follower.
pic 25
10. Compress valve and spring with Valve Spring Compressor, and slide the roller finger follower into place over valve and valve lash adjuster.
11. Release the tension from the spring.
12. Install the valve cover.
_________________________________________
If the smoke is from the exhaust and it is constant, recheck engine timing. If you need help, let me know.
Take care,
Joe
Images (Click to enlarge)
Apr 17, 2020 at 7:47 PM